视频监控系统,全域覆盖、智能预警、多端互联

一、项目背景
在未建设视频监控系统前,景区普遍面临安全管理被动滞后、监管存在盲区的问题,难以对游客活动、环境状态及安全隐患进行实时感知与预警;由于缺乏智能分析与远程管控能力,突发事件响应效率低,事后追溯依赖人工排查,信息整合与资源调度困难,既影响游客体验,也制约了景区精细化运营与安全防控水平的提升。
二、产品概述
#智慧文旅#视频监控系统通过在景区各个关键位置安装前端设备来实时监控和记录游客活动、自然环境状况以及潜在的安全隐患。本系统支持全景监控、实时监测、远程控制及故障预测等功能,有效提升景区的安全管理水平;支持多终端查看监控视频,并能通过智能分析技术如人脸识别、行为检测等预警潜在风险,从而保障游客安全并优化游览体验;此外,系统还具备录像回放、告警管理等功能,为景区提供全面的信息资源利用和应用支撑服务。
三、产品亮点

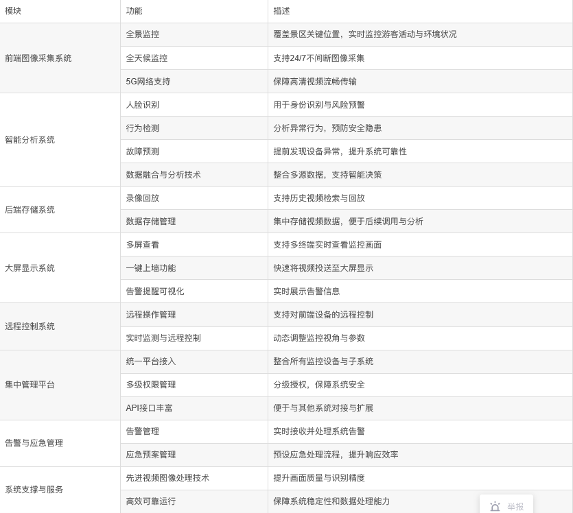
四、功能模块

五、部分后台设置页面展示
所展示页面均为演示页面
1、监控平台管理

2、客流监测设备管理

3、摄像头管理

4、视频实时预览

5、视频组织节点管理

六、交流探讨

lv泡泡:zhidingyikeji
七、往届回顾
告别数据孤岛:智慧景区一体化平台建设方案,打通智慧文旅管理、服务与营销闭环
一屏统管全域!“旅商通” 智慧文旅景区数字化中枢,整合票务、营销与客流
智慧文旅景区数字化的创新实践,如何提升游客 100% 满意度?一 APP 搞定吃住行游购娱
管理者必备的智慧文旅 “驾驶舱”——“旅政通” 实现全域景区系统一体化精准管控
重塑景区运营范式:智慧文旅多场景管理系统,打造一体化智慧服务生态
智慧文旅多业态管理系统:打造景区运营新矩阵,驱动全域消费新增长
智慧文旅时代,你的景区票务系统还跟得上吗?
破解多渠道管理难题:智慧 OTA 分销系统助力景区销量倍增
破解景区剧场管理难题:智慧文旅剧场演绎管理系统,让排座、票务、营收一目了然
#数字人不止于 “对话”,更在赋能千行百业
智慧旅游新纪元,一机游轻松出行
景区设备 “最强大脑” 上线!照明、安防、停车一屏掌控,运维 so easy
智慧文旅新篇章:一站式租赁管理解决方案,全面提升运营效率与游客体验
新事心办 - AI 智能大模型填报预审系统
#智慧景区#旅行社管理系统:批量预订+实时核销+客流对接一体化
#智慧景区#景区零售商家管理系统:管商品、优体验、助决策
集商品、会员、营销、财务于一体:文创商城的All-in-One管理解决方案
“一张图” 掌控全局,智慧文旅应急指挥调度系统 —— 让安全与管理一目了然
八、下篇预告-景区公共广播系统,打造安全、舒适、智能的景区声环境解决方案
景区公共广播系统是一种专为旅游景区设计的音频传输和管理系统,旨在通过背景音乐播放、实时通知和紧急广播等功能,提升游客体验并确保安全。
九、软件结构
本软件采用的是uniapp+JAVA语言开发,编码规范完全按照阿里巴巴编码规范
移动端:采用 uni-app 方案,一份代码多终端适配,同时支持 APP、小程序、H5;
前端采用Vue、Element UI。
后端采用Spring Boot多模块架构、Spring Security、Redis & Jwt。
权限认证使用Jwt,支持多终端认证系统。

浙公网安备 33010602011771号