shell条件测试语句
1、格式

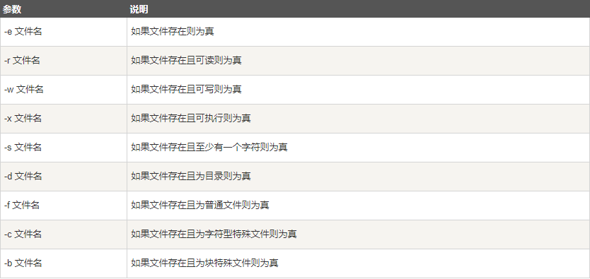
2、文件测试


3、数值测试

数值测试注意:
整数加双引号也可以比较 [[]]中可以使用-eq [[]] 中使用 < >可能不对 可能只对比第1位 [] 中使用 > 或 < 语法不报错 但是逻辑结果可能不对 (())中不能用 -eq等写法 可以用 > < == [[]] 匹配正则的时候,正则表达式不能用引号: Any part of the pattern may be quoted to force it to be matched as a string
4、字符串测试

5、逻辑测试

6、常用格式
[ 条件 ] && 命令
[ 条件 ] && {
cmd1
cmd2
}
[ 条件 ] || 命令
[ 条件 ] || {
cmd1
cmd2
}
7、注意事项


浙公网安备 33010602011771号