SPI通信
1、SPI通信
-
SPI与I2C的优缺点:
-
SPI速度更快
-
设计简单粗暴,实现的功能没有I2C的多
-
SPI的硬件开销比较大,通信线的个数比较多,会有资源浪费的现象
-
-
SPI(Serial Peripheral Interface)是由Motorola公司开发的一种通用数据总线
-
四根通信线:SCK(Serial Clock)串行时钟线、MOSI(Master Output Slave Input)主机输出 从机输入、MISO(Master Input Slave Output)主机输入 从机输出、SS(Slave Select)从机选择-->低电平有效
-
同步、全双工
-
支持总线挂载多设备(一主多从)

2、硬件电路
-
所有SPI设备的SCK、MOSI、MISO分别连在一起
-
主机另外引出多条SS控制线,分别接到各从机的SS引脚(需要通讯的置于低电平)
-
输出引脚配置位推挽输出,输入引脚配置位浮空或上拉输入

3、移位示意图

4、SPI时序基本单元
•起始条件:SS从高电平切换到低电平
•终止条件:SS从低电平切换到高电平
低电平选中,高点平未选中



5、SPI时序(以W25Q64芯片为例)


6、W25Q64简介
-
W25Qxx系列是一种低成本、小型化、使用简单的非易失性存储器(数据掉电不丢失),常用于数据存储、字库存储、固件程序存储等场景
-
存储介质Nor Flash(闪存)
-
时钟频率:80MHz / 160MHz(Dual SPI)/ 320MHz(Quad SPI)
-
存储容量(24位地址):
-
W25Q40 : 4Mbit / 512KByte
-
W25Q80: 8Mbit / 1MByte
-
W25Q16: 16Mbit / 2MByte
-
W25Q16: 32Mbit / 4MByte
-
W25Q64: 64Mbit / 8MByte
-
W25Q128: 128Mbit / 16MByte
-
W25Q256: 256Mbit / 32MByte
-
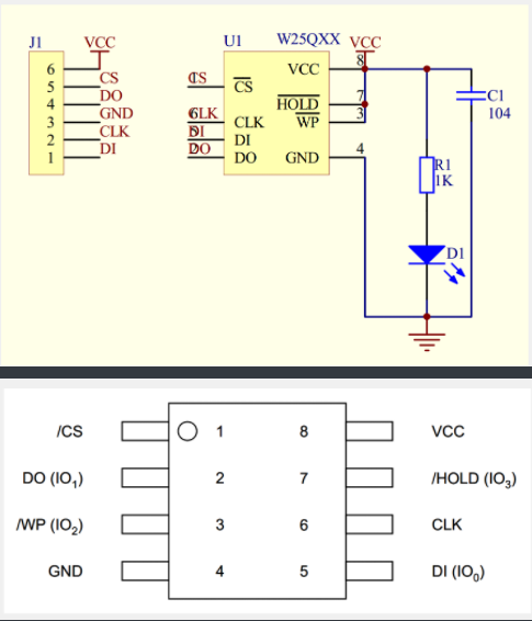
硬件电路


CS低电平有效
WP低电平有效 - WP接低电平,保护,不让写 WP接高电平,不保护,可以写
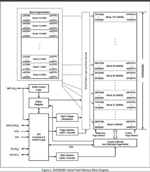
W25Q64框图

容量是8MB,分为128块,一块为64KB,一块分为16个扇区,一个扇区4KB,一个扇区分为16页,一页256字节(RAM存储器)。
flash操作注意事项
-
写入操作时:
-
写入操作前,必须先进行写使能
-
每个数据位只能由1该写为0,不能由0改写为1
-
写入数据前必须先擦除,擦除后,所有数据位变为1(如果不擦除:读出的数据 = 原始数据 & 写入的数据)
-
擦除必须按最小擦除单元进行
-
连续写入多字节时,最多写入一页(256字节 )的数据,超过页尾位置的数据,会回到页首覆盖写入
-
写入操作结束后,芯片进入忙状态,不响应新的读写操作
-
-
读取操作时:
- 直接调用读取时序,无需使能,无需额外操作,没有页的限制,读取操作结束后不会进入忙状态,但不能在忙状态时读取
SPI外设简介
-
STM32内部集成了硬件SPI收发电路,可以由硬件自动执行时钟生成、数据收发等功能,减轻CPU的负担
-
可配置8位/16位数据帧、高位先行/低位先行
-
时钟频率:fPCLK/(2,4,8,16,32,64,128,256)
-
支持多主机模型、主或从操作
-
可精简位半双工/单工通信
-
支持DMA(用DMA来帮我们自动搬运数据,快速传递大量数据)
-
兼容I2S协议(数字音频信号传输的专用协议)
-
STM32F103C8T6硬件SPI资源:SPI1、SPI2
SPI框图

I2C基本结构

时序图
主模式全双工连续传输
非连续传输
软硬件波形对比(上面是软件/下面是硬件)

浙公网安备 33010602011771号