UEFI 中的inf、dsc、FDF文件都是什么作用?DEC是什么
在UEFI开发中,inf、dsc、FDF 和 DEC 文件是EDK II构建系统的重要组成部分,各自有不同的作用。
1. INF 文件 (Module Information File)
- 作用: 描述模块的构建信息,如源代码、依赖库、编译选项等。
- 内容: 包括模块类型、GUID、源文件、库依赖、PCD变量等。
- 用途: 用于定义单个模块的构建规则。
2. DSC 文件 (Platform Description File)
- 作用: 描述整个平台的构建配置,包括模块、库、PCD变量等。
- 内容: 包含平台名称、GUID、模块列表、库路径、PCD设置等。
- 用途: 定义平台的整体构建配置。
3. FDF 文件 (Flash Description File)
- 作用: 描述固件映像的布局,包括模块、组件、文件系统等。
- 内容: 包含固件映像的布局、模块位置、文件系统配置等。
- 用途: 定义固件映像的最终布局和内容。
4. DEC 文件 (Package Declaration File)
- 作用: 定义包的元数据,包括GUID、包含的头文件、库、PCD变量等。
- 内容: 包含包名称、GUID、头文件路径、库路径、PCD变量等。
- 用途: 定义包的公共接口和内容,供其他模块或包使用。
总结
- INF: 定义模块构建规则。
- DSC: 定义平台构建配置。
- FDF: 定义固件映像布局。
- DEC: 定义包的元数据和接口。
这些文件共同协作,确保UEFI固件的正确构建和配置。
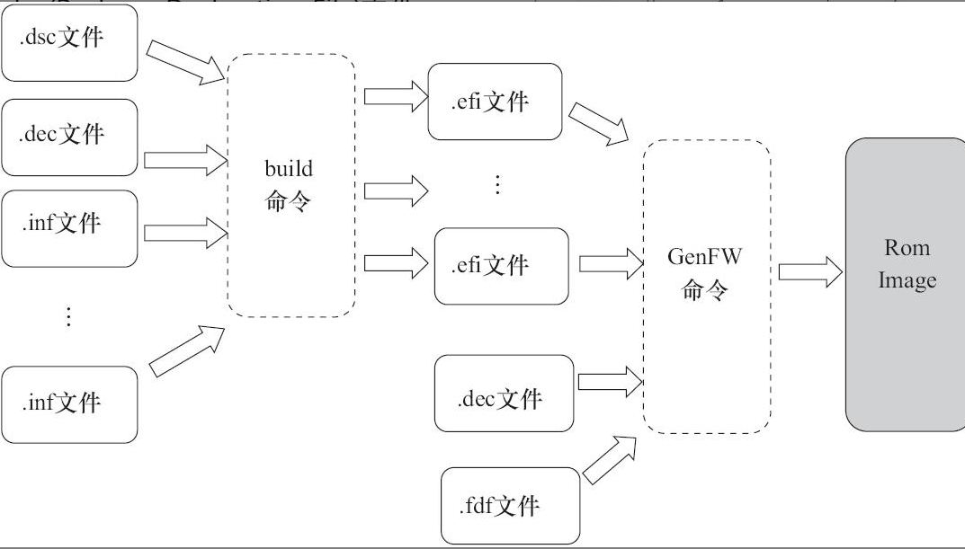
图3-4展示了EDK2文件与EDK2工具链命令之间的关系。



浙公网安备 33010602011771号