征程 6X OTA升级端介绍
征程 6X 对外提供 libupdate.so,其中包含升级所需 API, API 定义请参考对外文档。
01 ota_tool 使用
ota_tool 是使用 libupdate.so API 实现的一个工具,用于板端手动发起 OTA 升级。ota_tool 可作为 OTA Service 开发时的 Sample 参考,代码位于 hbre/otaupdate/src/ota_tool。
ota_tool Usage:
-v, --version get this library’s version,
system version,
antirollback version
-b, --boot check ota update status when boot.
-s, --setpartition [partition] set A/B slot partition, 0–A; 1–B.
-g, --getpartition get A/B slot partition, 0–A; 1–B.
-p, --package [package_path] specify the path of package, the package paths can be relative or absolute, it’s length must be smaller than 64 bytes.
-n, --noreboot request ota without reboot.
-c, --checksign signature check.
-i, --signature signature information file.
-h, --help Display this help screen.
使用 ota_tool 进行升级前,需要将 OTA 升级包上传至板端。
参数介绍:
-
-h 用于获取帮助信息
-
-v 用于获取 libupdate.so 版本、当前系统软件版本、antirollback 版本
-
-b 用于启动升级结果检查(系统启动后会自动启动,用户无需关心)
-
-s 设置下次启动 A/B slot
-
-g 获取当前 A/B slot
-
-p 指定升级包
-
-n 升级成功后不自动重启
-
-c 使能签名检查
-
-i 指定签名文件(必须跟在-p 后面)
举例:
ota_tool -p all_in_one_full.zip
02 ota_tool 实现
ota_tool 使用 C 语言实现,源码仅 otainterface.c 一个文件。实现了获取系统软件版本、升级结果检查、设置/获取 ab slot、OTA 升级、强制升级、OTA 包签名校验等功能。
若-c 参数传入,则使用传入的签名文件对升级包进行签名校验。
最后,调用 ota_update_all_img 启动升级。
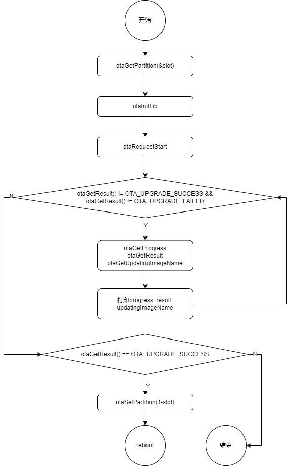
03 ota_update_all_img
static int32_t ota_update_all_img(const char *zip_path)
{
int32_t progress = 0;
uint8_t slot = 0;
uint8_t next_slot = 0;
int32_t ret = 0;
ota_update_result_e result = 0;
char part_name[ARRAY_32] = { 0 };
ret = otaGetPartition(&slot);
if (ret < 0) {
return ret;
}
if (slot == 2) {
next_slot = 0;
printf(“The slot [%d] to be burned\n”, next_slot);
} else {
next_slot = 1 - slot;
printf(“The slot [%d] to be burned\n”, next_slot);
}
ret = otaInitLib();
if (ret < 0) {
printf(“error:init failed!\n”);
return ret;
}
ret = otaRequestStart(zip_path, OTA_TOOL);
if (ret < 0) {
printf(“error: start ota update failed!\n”);
ret = -1;
goto err;
}
while (otaGetResult() != OTA_UPGRADE_SUCCESS && otaGetResult() != OTA_UPGRADE_FAILED) {
progress = otaGetProgress();
result = otaGetResult();
otaGetUpdatingImageName(part_name, sizeof(part_name));
if (result == UPGRADE_FAILED) {
printf(“error: ota update failed!\n”);
ret = -1;
break;
}
OTA_show_Process_Bar(part_name, progress,
“OTA is upgrading …”);
usleep(100 * 1000);
}
err:
if (otaGetResult() == OTA_UPGRADE_SUCCESS) {
ret = otaSetPartition(next_slot);
if (ret < 0) {
printf(“error: set partition failed!\n”);
return ret;
}
if (g_is_reboot == true) {
printf(“reboot system!\n”);
ota_system_exe(“reboot”);
} else {
printf(“ota update success and waiting for reboot!\n”);
}
}
otaDeinitLib();
return ret;
}
-
调用
otaGetPartition获取当前所在 ab slot -
调用
otaInitLib初始化 libupdate.so -
调用
otaRequestStart并传入升级包和 owner(OTA_TOOL),开始升级 -
等待
otaGetResult的结果为OTA_UPGRADE_SUCCESS或OTA_UPGRADE_FAILED。等待过程中,调用otaGetProgress、otaGetResult、otaGetUpdatingImageName获取升级进度、升级结果、正在升级的镜像,并调用OTA_show_Process_Bar打印到控制台 -
若升级结果
otaGetResult为OTA_UPGRADE_SUCCESS,则认为升级成功,调用otaSetPartition设置 ab slot 到对向 slot ,然后重启 SoC

升级流程结束重启后,应启动 ota_tool -b 对升级结果进行检查校验,并进行后续操作。
04 ota_boot_check
征程 6 启动后,会启动一个 hobot-otatool.service 服务,该服务调用了 ota_tool -b ,该选项会检查 /ota/ota_tool_force_upgrade 文件是否存在,若存在,则进入升级流程(该进程会重新调用升级命令)。若该文件不存在,则进入升级校验流程 ota_boot_check。
int32_t ota_boot_check(void)
{
int32_t ret = 0;
enum ota_update_owner owner = 0;
if ((ret = otaInitLib()) != 0) {
printf(“error: init failed!\n”);
goto exit;
}
if ((ret = otaGetOwnerFlag(&owner)) != 0) {
printf(“error: Get owner flag failed!\n”);
goto exit;
}
if (owner == NORMAL_BOOT) {
printf(“Normal boot\n”);
if ((ret = otaMarkOTASuccessful()) != 0) {
printf(“error: mark boot success failed\n”);
}
return ret;
}
if (owner != OTA_TOOL) {
printf(“ota_tool is not owner, owner is [%d]\n”, owner);
return 0;
}
if ((ret = otaCheckUpdate()) != 0) {
printf(“error: boot check failed\n”);
goto exit;
}
if ((ret = otaMarkOTASuccessful()) != 0) {
printf(“error: mark boot success failed\n”);
goto exit;
}
if ((ret = otaPartitionSync()) != 0) {
printf(“error: partition sync failed\n”);
goto exit;
}
ret = otaDeinitLib();
exit:
otaClearFlags();
return ret;
}
- 调用
otaInitLib - 调用
otaGetOwnerFlag获取升级 owner - 若 owner 为
NORMAL_BOOT,则调用otaMarkOTASuccessful标记启动成功,然后退出。 - 若 owner 不为
OTA_TOOL,则正常退出。 - 调用
otaCheckUpdate获取升级结果。若升级结果异常,则调用otaClearFlags清除 OTA 标记,终止 OTA 流程。 - 调用
otaMarkOTASuccessful标记启动成功。 - 调用
otaPartitionSync进行 AB 分区、 BAK 分区同步。

浙公网安备 33010602011771号