如何在EDI系统中查询文件?
EDI系统为企业提供了可视化的界面,帮助企业管理业务数据,并且对收发的业务数据进行存档。您可以根据需求及时备份您的业务数据。EDI系统作为一款企业级软件,日常需要传输大量的文件,这些文件包含的数据量大并且各不相同,如何在EDI系统中快速地查询指定文件呢?今天就来一探究竟。
第一种方法是在知行EDI系统状态页面下的交易日志中直接搜索,并且搜索框中可以进行多条件判断。页面如下图所示:
如果当前需要搜索文件名中出现856的文件,则可以在搜索框中输入856,点击搜索图标,即可找出列表中所有符合要求的文件。查询结果如下图所示:
除了支持按文件名查询之外,搜索框还支持按日期以及交易伙伴/端口查询。您可以通过点击下图红色方框中的正三角/倒三角按键对列表中的文件按不同的标准进行排序,便于文件分类查询。
上图左下方的两处红色方框中,您可以在右侧设置每一个页面包含的记录条数,根据您的实际业务数据量,可以进行自定义。您可以选择每页10、20、50、100、200和500条记录六种查看方式。您也可以在左侧设置展示什么状态的文件,您可以选择12种不同状态下的文件进行展示。
知行EDI系统中可以进行多条件查询吗?
当然可以。在知行EDI系统状态页面下,与上文同样位置的搜索框即可实现多条件查询。
假设您需要查找VDA端口下发送方向的文件,您可以在搜索框中输入:
ConnectorId:VDA Direction:Send
即可获得如下图所示的两个文件:
其中ConnectorId是指交易伙伴/端口,Direction指方向,除了这两个以外还可以使用Workspace(工作区)帮助筛选。在进行多条件查询时,多个判断条件之间用空格分开,各个条件之间是AND的关系。
使用多条件判断时需要注意:
冒号前面写ConnectorId,Direction以及Workspace这三个,如果不写冒号,比如在搜索框只输入VDA,将得到ConnectorId或MessageId或MessageId中包含VDA的log。
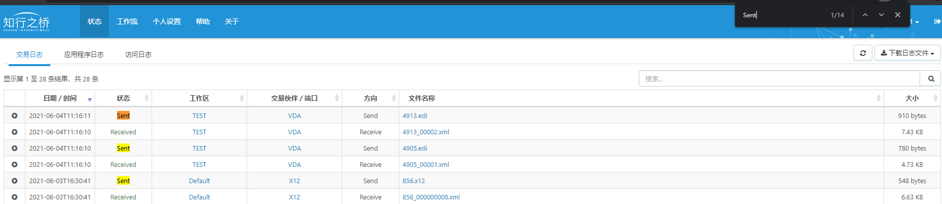
第二种方法,您可以通过快捷键:Ctrl+F 在右上角出现的搜索框中直接进行关键词搜索。
但这种方法仅限于查找列表中已经出现的信息,对于文件内部如ID号或者PO号等细节信息而言,应该如何快速查询呢?
第三种方法,借助Sublime准确定位数据。例如,您需要查找EDIFACT端口中成功转换为XML格式的文件中包含C62信息的文件,可以按照如下步骤进行操作。
如上图所示,在EDIFACT端口的输出页面中找到成功转换为XML格式的文件存储的文件夹,打开这个文件夹并使用Sublime打开其中一个文件,在菜单栏点击Find/Find in Files,出现如下界面:
在Find搜索框中填入您需要查找的业务数据,在Where中填入刚刚的文件夹路径,点击右下角Find按钮即可找到文件夹下所有包含C62信息的文件。搜索结果如下图所示:
双击红色方框中的冒号,即可在文件夹中找到存储C62的文件并且定位到包含C62数据的具体位置。
本文介绍了在EDI系统中查询文件的三种方式,了解更多EDI相关信息,欢迎联系知行软件。
注:文案部分图片及内容来源于网络,版权归原创作者所有,如有侵犯到您的权益,请您联系我们进行删除,给您带来困扰,我们深感抱歉。









浙公网安备 33010602011771号