燕千云 YQCloud 数智化业务服务管理平台 发布1.13版本

2022年6月10日,燕千云 YQCloud 数智化业务服务管理平台发布1.13版本。本次燕千云1.13版本新增了远程桌面、知识库多人在线协作、移动端疫苗核酸信息管理、单据委托代理、技能管理、产品自助试用等功能,帮助企业更加高效地解决各个业务场景中遇到的难题,为更多IT服务业务场景赋能,全面提升企业数智化服务能力!
本次燕千云1.13版本重点优化了客户服务场景、深化智能分析应用,详情如下:
-
集成远程桌面功能,运维人员和用户可以直接在线共享桌面,快速复现问题或直接远程操作
-
知识库支持多人在线协作,多种权限控制,提高协作效率,增强知识安全性
-
新增核酸&疫苗模块,收集员工健康信息,助力企业复工复产
-
支持批量处理个人任务、个人请求,实现单据快捷处理
-
实现智能推荐记录可视化,为企业内部运维人员提供方案库改进建议
-
可授权他人代为处理单据、审批流程,做到事不等人
-
呼叫中心实现座席自由切换呼入线路,座席可以使用手机接听电话
-
增加服务流程过程的OLA能力,改进服务团队监管
-
增加技能管理功能,可以帮助企业建立和管理员工的技能目录,从而为某一项工作任务找到最合适的候选人
-
新增CMDB配置项管理数据库模块,为企业ITSM管理建设夯实基础
-
新增配置项拓扑图,支持用户可视化的查看配置项关系
-
新增燕千云在线试用,体验核心IT服务旅程,形成您的ITSM最佳成功实践
燕千云1.13版本主要新特性
集成远程桌面功能,运维人员和用户可以直接在线共享桌面,快速复现问题或直接远程操作
用户使用燕千云进入运维期间后,遇到疑难问题,能够请求运维人员进系统查看用户复现问题,并通过远程协助工具解决用户问题。
通过远程桌面,提供便捷处理问题的方式。提高用户与运维人员之间沟通的效率,加强问题展示的直观性。
知识库支持多人在线协作,多种权限控制,提高协作效率,增强知识安全性
你还在为多人在线同时编辑无法同时保存而烦恼吗?
燕千云1.13版本给您带来了多人在线协作,让您轻松体验在线协作的高效和便捷。同时,通过协作者的管理,可以准确且高效的圈定知识的辐射范围,解决长期困扰企业的信息安全问题,对于知识的受众更是能够体验“所见即所得”的快感,不需要繁琐的配置就能实现快捷的权限管理。
新增核酸&疫苗模块,收集员工健康信息,助力企业复工复产
随着全球疫情的持续,部分企业(如:门店、工厂类企业)应各地政策要求,需要收集、展示员工核酸检测信息与疫苗接种情况,以保证企业正常运行,此时及时了解员工的健康情况,成了企业运转的必要条件。
燕千云推出“核酸&疫苗”模块,支持企业员工录入个人核酸检测信息、疫苗接种信息,管理员可通过后台进行员工健康信息查询,助力企业在疫情之下良好运营。


支持批量处理个人任务、个人请求,实现单据快捷处理
企业内部运维人员、单据审批人等角色,日常需要处理大量待办任务、审批,需要对单据执行如:“开始处理”、“审批通过”等操作,其中存在较多单据需要执行相同的动作。为了减少用户的重复操作,本次移动端上线“批量处理”功能,用户可对相同单据类型、状态的单据,批量执行动作,提高移动端单据处理效率。
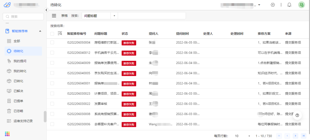
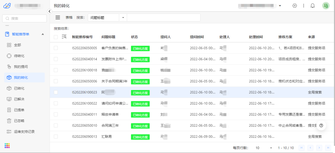
实现智能推荐记录可视化,为企业内部运维人员提供方案库改进建议
为了更好地收集用户对智能推荐服务效果的反馈,服务请求者在体验智能推荐服务的同时,系统会记录下每个服务请求者的请求内容和推荐结果,并跟踪服务请求者在未来24小时内是否正式提交相似内容的事件单,从而统计智能推荐为运维人员拦截事件的成功率。
若某些服务请求未能被智能推荐所覆盖,并且服务请求者在24小时内未也未正式提单,系统则会记录下该请求内容,并推荐给运维人员,以便于将有价值的请求内容提前转化成新的解决方案,从而提升智能推荐的覆盖率。
可授权他人代为处理单据、审批流程,做到事不等人
工作人员休假后,相关的工作事项却不能暂缓处理,这时就需要有既安全又方便的授权,临时委托给他人处理。燕千云新增委托管理功能,员工可选择他人作为代理人,在特定的时间周期内维护需要委托的工作项类型。
这样代理人就可在有效期范围之内查看到受委托的单据或审批流,处理后系统将记录委托代理记录,委托时间到期后代理人的权限将自动失效。若委托人提前归位,也可以一键收回授权,方便快捷,做到事前慎重委托、事后严谨回溯。
呼叫中心实现座席自由切换呼入线路,座席可以使用手机接听电话
座席在工作中,遇到一些其他事项可能需要暂时离开电脑前,这时候座席没有办法通过软件电话接听电话,及时处理工作事项。
这次呼叫中心增加手机接听电话的方式,让用户的来电可以呼入到手机上,座席也可以及时使用手机接听到用户的电话,给座席的工作方式带来极大的便利性。
增加服务流程过程的OLA能力,改进服务团队监管
企业需要对运维团队整体做服务支持的响应解决计时及相关预警超时通知、绩效考核,不管是一线、二线还是三线,都可能设定单独的响应及处理考核机制。
通过SLA的能力对变更、问题、各种任务管理等场景进行约束,通过服务窗口、服务期限及服务条件的设定,对需要管理的运营环节设置关注节点,可到时通知给相关的服务团队及管理团队。
增加技能管理功能,可以帮助企业建立和管理员工的技能目录,从而为某一项工作任务找到最合适的候选人
技能管理可以支持企业建立员工的技能管理体系,如技能分类、技能等级管理等。同时支持将技能分配给人员或人员组。企业在分配运维支持人员、或安排项目资源等,可以根据人员技能进行快速的匹配。
新增CMDB配置项管理数据库模块,为企业ITSM管理建设夯实基础
配置项管理可以支持企业根据不同的管理需求对配置项进行多级自定义分类管理,还可以自定义配置项管理字段。同时,配置项在企业运行日常过程中的所有记录可以被完整地记录下来,以便于追溯每一个配置项在生命周期过程中的所有变动信息。
新增配置项拓扑图,支持用户可视化的查看配置项关系
配置项拓扑图支持可视化的查看配置项之间的网状关系。可以以某一个配置项为中心起点,查看所有与其有多级关联的其他配置项,便于用户通过图形化的页面快速定位有关系的其他配置项。
新增燕千云在线试用,体验核心IT服务旅程,形成您的ITSM最佳成功实践
想要试用燕千云却苦于没有途径?本次燕千云1.13添加了产品自助试用功能,在试用环境中,将在模拟的企业中体验完整的单据生命周期管理,以日常IT运维支持的事件单为例:
试用结束后,通过轻量的IT服务规划后实施燕千云,形成属于您的企业的最佳实践。
您可以通过以下链接,实现1分钟快速填写,获得14天免费试用:
申请链接:燕千云 · 数智化业务服务平台
关于燕千云
燕千云数智化业务服务平台,问询方便、解答快,提供IT服务管理、企业服务管理、客户服务管理、智能服务管理和低代码开发平台等,帮助企业服务团队快速解决问题、优化服务流程、提高服务效率和服务质量,全面满足企业业务运营需求,并使企业能够深入洞悉客户需求,持续迭代创新,构筑数字化时代的核心竞争力。
更多内容
您可以通过以下途径了解更多燕千云产品动态、产品特性,也可以直接试用,即刻开启您的数智化业务服务管理之旅!

上海甄知科技有限公司(简称甄知科技)是一家服务管理数字化领先企业,由业界知名的企业数字化综合服务商--上海汉得信息技术股份有限公司(股票代码:300170)孵化而成,承袭汉得信息20年的企业信息化服务经验和对企业数智化建设的深入理解,以产品燕千云、猪齿鱼,为用户提供智能化IT运维、人性化员工服务、全方位客户成功、可视化软件研发的SaaS管理平台+PaaS定制能力,强势助力各行业企业数智化转型升级。
甄知科技陪伴众多优秀企业共同成长

2022年6月10日,燕千云 YQCloud 数智化业务服务管理平台发布1.13版本。本次燕千云1.13版本新增了远程桌面、知识库多人在线协作、移动端疫苗核酸信息管理、单据委托代理、技能管理、产品自助试用等功能,帮助企业更加高效地解决各个业务场景中遇到的难题,为更多IT服务业务场景赋能,全面提升企业数智化服务能力!



















浙公网安备 33010602011771号