XXLJob与SpringCloud整合
图示

下载,建表
网上链接一堆,自己找去,下载完了解压之后是个聚合工程,复制doc>db>.sql文件里面的内容,打开数据库的可视化工具,新建查询粘贴,执行
admin配置,logback.xml配置
配置端口号我习惯用7001…
配置contextpath…随便
配置datasource…改驱动改用户名和密码
配置警示邮件…随便写
其他不用动
logback.xml不改它
启动admin是否成功 成功的话 直接打包就ok
新建SpringCloud项目
注册中心->提供者->消费者
怎么配?SpringCloud案例我这里面说的很清楚了不再赘述
值得一提的是刚才xxljob那个工程中的sample-springboot中的resource给拷一份

到消费方的Resource中,就像下面这样

SpringCloud项目目录

今天的关键在这里

首先需要引入pom依赖,就是刚才打包到maven仓库里的xxljob
<dependency>
<groupId>com.xuxueli</groupId>
<artifactId>xxl-job-core</artifactId><version>2.3.0</version>
</dependency>
讲一下这里面XXLJobConfig 和XXLJobHandler
点击查看代码
XXLJobConfig
@Configuration
@ComponentScan(basePackages = "com.shanghai.xxljob.handler")
public class XXLJobConfig {
private Logger logger = LoggerFactory.getLogger(XXLJobConfig.class);
@Value("${xxl.job.admin.addresses}")
private String adminAddresses;
@Value("${xxl.job.executor.appname}")
private String appName;
@Value("${xxl.job.executor.ip}")
private String ip;
@Value("${xxl.job.executor.port}")
private int port;
@Value("${xxl.job.accessToken}")
private String accessToken;
@Value("${xxl.job.executor.logpath}")
private String logPath;
@Value("${xxl.job.executor.logretentiondays}")
private int logRetentionDays;
@Bean(initMethod = "start", destroyMethod = "destroy")
public XxlJobSpringExecutor xxlJobExecutor() {
logger.info("====xxl-job config init====");
XxlJobSpringExecutor xxlJobSpringExecutor = new XxlJobSpringExecutor();
xxlJobSpringExecutor.setAdminAddresses(adminAddresses);
xxlJobSpringExecutor.setAppname(appName);
xxlJobSpringExecutor.setIp(ip);
xxlJobSpringExecutor.setPort(port);
xxlJobSpringExecutor.setAccessToken(accessToken);
xxlJobSpringExecutor.setLogPath(logPath);
xxlJobSpringExecutor.setLogRetentionDays(logRetentionDays);
return xxlJobSpringExecutor;
}
}
XXLJobHandler
@Component
public class XXLJobHandler {
@XxlJob("yicheSpringCloud")
public void doSomeThing(){
XxlJobHelper.log("哈喽");
}
}
XXLJobHandler
@Component
public class XXLJobHandler {
@XxlJob("yicheSpringCloud")
public void doSomeThing(){
XxlJobHelper.log("哈喽");
}
}
开始定时任务
第一步
运行刚开始admin打成的jar包
第二步
进入控制台

执行器管理->新增执行器(因为我已经增加过了),这里的机器地址要和application.properties中的xxl.job.executor.ip(不写表示本机)+xxl.job.executor.port一致

点击查看代码
# web port
server.port=8081
# no web
#spring.main.web-environment=false
# log config
logging.config=classpath:logback.xml
### xxl-job admin address list, such as "http://address" or "http://address01,http://address02"
xxl.job.admin.addresses=http://127.0.0.1:8080/xxl-job-admin
### xxl-job, access token
xxl.job.accessToken=default_token
### xxl-job executor appname
# xxl.job.executor.appname=xxl-job-executor-sample
### xxl-job executor registry-address: default use address to registry , otherwise use ip:port if address is null
xxl.job.executor.address=
### xxl-job executor server-info
xxl.job.executor.ip=
xxl.job.executor.port=9999
### xxl-job executor log-path
#xxl.job.executor.logpath=/data/applogs/xxl-job/jobhandler
xxl.job.executor.logpath=D:/data/xxl-job/jobhandler
##日志保存的天数 -1 永久保存
# xxl-job executor log-retention-days
xxl.job.executor.logretentiondays=30

第三步注册任务
打开任务管理新建任务,这里面的jobHandler要和@XxlJob中的value值一致


注意:appname 必须与页面一致
执行
首先开项目
注册中心->提供方->消费方都启动起来
随后进入xxljob控制台,任务管理操作选择启动

显示已经在执行

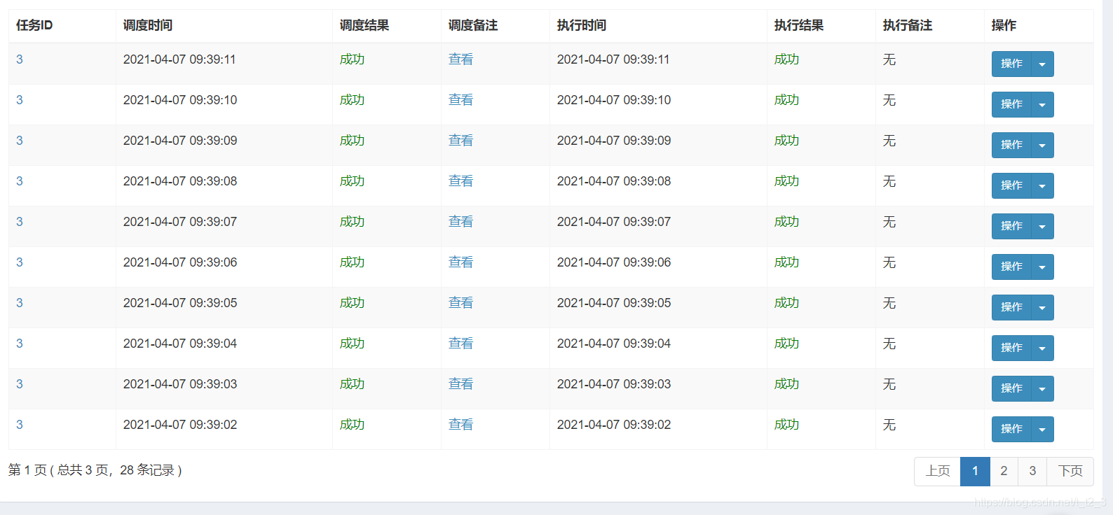
看一下是不是调度日志中有执行结果,比如如下

执行日志中有JobHandler中我们写的日志内容注意 不能用@Slf4j 只能用XxlJobHelper.log去打印日志

看是不是和我们jobhandler是不是和我们要求录入的日志一致

原文链接:https://blog.csdn.net/t_t2_3/article/details/115462048
也可以参考这个博友的步骤: https://www.cnblogs.com/coderdxj/p/12248446.html

浙公网安备 33010602011771号