实验一-密码引擎-3-加密API研究
实验详情:
密码引擎API的主要标准和规范包括:
1 微软的Crypto API
2 RAS公司的PKCS#11标准
3 中国商用密码标准:GMT 0016-2012 智能密码钥匙密码应用接口规范,GMT 0018-2012密码设备应用接口规范等
研究以上API接口,总结他们的异同,并以龙脉GM3000Key为例,写出调用不同接口的代码,提交博客链接和代码链接。
内容:
0 查找各种标准的原始文档,研究学习(至少包含Crypto API,PKCS#11,GMT 0016-2012,GMT 0018-2012)(5分)
Crypto API
PKCS#11
GMT 0016-2012和GMT 0018-2012等GM/T系列标准
1 总结这些API在编程中的使用方式(5分)
使用这些API需要熟悉相应的标准和规范,并按照其定义的接口和函数来编写代码。需要包含相应的头文件并链接相应的库,调用API函数来执行密码操作或密码设备操作。
2 列出这些API包含的函数,进行分类,并总结它们的异同(10分)
- Crypto API
加解密函数

哈希和签名函数

证书函数

OID支持函数

简化消息函数

-
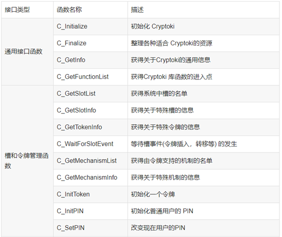
PKCS#11
![]()
![]()
![]()
![]()
![]()
-
GMT-0016
![]()
![]()
![]()
![]()
![]()
![]()
-
异同点总结:
Crypto API是微软的专有API,用于Windows操作系统,而PKCS#11是RAS公司制定的跨平台标准,支持各种操作系统。Crypto API和PKCS#11都提供了一系列函数来执行密码相关操作,但函数名称和参数可能有一些差异。中国商用密码标准是针对中国市场的特定标准,主要用于智能密码钥匙和密码设备,函数名称和参数可能与其他标准有所不同。Crypto API和PKCS#11通常用于软件层面的密码操作,而中国商用密码标准主要用于硬件设备的密码操作。
3 以龙脉GM3000Key为例,写出调用不同接口的代码(Crypto API,PKCS#11,SKF接口),把运行截图加入博客,并提供代码链接(10分)
- 代码链接
代码 - 运行截图
Crypto API
![]()
![]()
![]()
![]()
![]()
PKCS#11




skf


















浙公网安备 33010602011771号