服务器的连接搭建使用笔记
一、使用ECS服务器
1.购买阿里云服务器(选择自己想要的配置)
2.购买完服务器后,在阿里云的安全组设置好开放端口

3.点击实例获得服务器的公网IP,修改实例的名称和密码,重启实例

4.使用xshell远程连接自己的服务器

5.连接到服务器之后,搭建环境
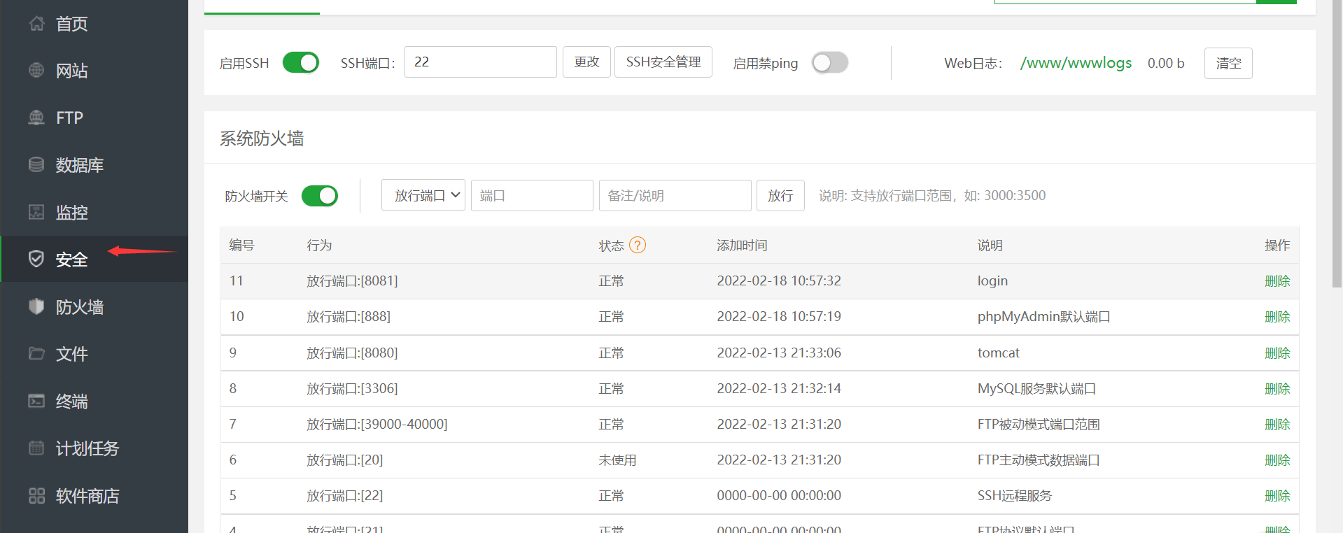
1.使用宝塔面板来一键部署环境
在linux中输入以下命令一键安装
yum install -y wget && wget -O install.sh http://download.bt.cn/install/install_6.0.sh && sh install.sh
2.安装完成后会得到宝塔面板的地址以及账户密码,登录宝塔面板
3.在软件商店安装自己需要的环境

4.在安全页面开放需要的使用端口

5.可以在网站上发布自己的项目了
6.问题总结(PS)
1.宝塔面板地址无法打开,关注两点,打开阿里云安全组的对应端口8888,第4点中安全中放行8888端口
2.创建数据库可以在宝塔面板直接创建然后导入数据(权限设置所有人才可以远程测试链接)

7.如何在服务器发布一个springboot项目
1.首先在服务器上建立对应的数据库,并且导入数据,PS:服务器上要有jdk环境
2.在spring项目的配置文件中修改数据库的地址以及用户名和密码(在宝塔页面设置的不是本地的)
3.使用Maven打包springboot项目,生成一个jar包
4.推荐使用xftp工具来上传jar包到服务器

5.使用cd命令切换到对应上传jar包的文件目录,执行以下命令来启动jar包
5.1 java -jar xxx.jar (暂时运行jar包,可使用ctrl+c停止运行)
5.2 nohup java -jar xxx.jar > system.log 2>&1 & (后台一直运行命令)
6.确认运行后,输入公网ip+端口号访问自己的网站
二、总结
1.一开始认为部署服务器环境很难,因为要学习linux系统还有很多命令,然后还要安装各种各样的环境,一直没有去学习,但是在接触到阿里云服务器之后,发现这些其实没有那么困难,我们需要敢于尝试,敢于创新,程序员需要不断学习,才能进步。
2.之前使用的是虚拟机来安装linux系统,需要配置很多网络设置,但是使用云服务器之后这些问题都很好地解决了,这让我意识到了随着技术的发展,我们需要紧跟时代潮流,跟上时代的步伐,学习最新的技术,才能成为一个优秀的人才。
三、作品链接(食品管理系统)
47.113.197.119:8081
登陆界面
username:zhj
password:123456


浙公网安备 33010602011771号