数组
-
数组是相同类型数据的有序集合。
-
数组描述的是相同类型的若干个数据,按照一定的先后次序排列组合而成。
-
其中每一个数据称作一个数组元素,每个数组元素可以通过一个下标来访问。
2. 数组声明创建
-
首先必须声明数组变量,才能在程序中使用数组。
-
语法:
dataType[] arrayRefVar;//首选的方法
或
dataType[] arrayRefVar[];//效果相同,但不是首选方法
-
Java 语言使用 new 操作符来创建数组。语法如下:
dataType[] arrayRefVar = new dataType[arraySize];
-
数组的元素是通过索引访问的,数组索引从 0 开始
-
获取数组长度:arrays.length
public static void main(String[] args) {
int[] number = new int[5];
number[0] = 1;
number[1] = 2;
number[2] = 3;
number[3] = 4;
number[4] = 5;
int sum = 0;
for (int i = 0; i < number.length; i++) {
sum += number[i];
}
System.out.println("数组的总和为:" + sum);
}
内存分析
-
Java 内存分析:
-
堆
-
存放 new 的对象和数组
-
可以被所有的线程共享,不会存放别的对象引用。
-
-
栈
-
存放基本变量类型(会包含这个基本类型的具体数值)
-
引用对象的变量(会存放这个引用在堆里面的具体地址)
-
-
方法区
-
可以被所有的线程共享
-
包含了所有的class和static变量
-
-

三种初始化
-
静态初始化:
int[] a = {1,2,3};
-
动态初始化:
int[] a = new int[2];
a[0] = 1;
a[1] = 2;
-
数组的默认初始化:
-
数组是引用类型,它的元素相当于类的实例变量,因此数组一经分配空间,其中的每个元素也被按照实例变量同样的方式被隐式初始化。
-
数组的四个基本特点
-
其长度是确定的。数组一旦被创建,它的大小就是不可改变的。
-
元素必须是相同类型的,不允许出现混合类型。
-
数组中的元素可以是任何数据类型,包括基本类型和引用类型。
-
数组变量属于引用类型,数组也可以看成是对象,数组中的每个元素相当于该对象的成员变量。数组本身就是对象,Java中对象是在堆中的,因此数组无论保存原始类型还是其他对象类型,数组对象本身是在堆中的。
数组边界
-
下标的合法区间:[0, length-1],如果越界就会报错
public static void main(String[] args){
int[] a = new int[2];
System.out.println(a[2]);
}
报错:ArrayIndexOutOfBoundsException:数组下标越界异常!
-
小结:
-
数组是相同的数据类型(数据类型可以为任意类型)的有序集合
-
数组也是对象。数组元素相当于对象的成员变量。
-
数组长度是确定的,不可变的。如果越界,则报:ArrayIndexOutOfBounds
-
3. 数组使用
-
普通for循环
public static void main(String[] args) {
int[] number = new int[5];
number[0] = 1;
number[1] = 2;
number[2] = 3;
number[3] = 4;
number[4] = 5;
for (int i = 0; i < number.length; i++) {
System.out.println(number[i]);
}
}
-
for-Each 循环
public static void main(String[] args) {
int[] arrays = {1,2,3,4,5};
//冒号前面表示数组中的每个元素,冒号后面表示数组
for (int array : arrays) {
System.out.println(array);
}
}
-
数组作为方法入参
public static void main(String[] args) {
int[] array = {1,2,3,4,5};
printArray(array);
}
public static void printArray(int[] array){
for (int i = 0; i < array.length; i++) {
System.out.println(array[i]);
}
}
-
数组作为返回值
public static void main(String[] args) {
int[] array = {1,2,3,4,5};
int[] reverseArray = reverseArray(array);
printArray(reverseArray);
}
//数组作为返回值
public static int[] reverseArray(int[] array){
int[] result = new int[5];
for (int i = 0,j = array.length-1; i < array.length; i++, j--) {
result[i] = array[j];
}
return result;
}
//打印数组
public static void printArray(int[] array){
for (int i = 0; i < array.length; i++) {
System.out.println(array[i]);
}
}
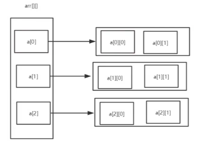
4. 多维数组
-
多维数组可以看成是数组的数组,比如二维数组就是一个特殊的一维数组,每一个元素都是一个一维数组。
-
二位数组格式:
int[][] array = new int[2][3];
-
解析:以上二维数组 array 可以看成一个两行三列的数组。
public static void main(String[] args) {
int[][] array = {{1,2},{3,4},{5,6}};
for (int i = 0; i < array.length; i++) {
for (int j = 0; j < array[i].length; j++) {
System.out.println(array[i][j]);
}
}
}

5. Arrays 类
-
数组的工具类 java.util.Arrays
-
Arrays类中的方法都是 static 修饰的静态方法,在使用的时候可以直接使用类名进行调用,而“不用”使用对象类调用。
-
常见功能:
-
给数组赋值:通过 fill 方法。
-
对数组排序:通过 sort 方法,按升序。
-
比较数组:通过 equals 方法比较数组中元素值是否相等。
-
查找数组元素:通过 binarySearch 方法能对排序好的数组进行二分查找法操作。
-
冒泡排序
public static void main(String[] args) {
int[] array = {5, 3, 1, 9, 8, 2, 4, 7, 6};
int[] sort = bubbleSort(array);
System.out.println(Arrays.toString(sort));
}
//冒泡排序
public static int[] bubbleSort(int[] array) {
//临时变量
int temp = 0;
//外循环控制循环次数
for (int i = 0; i < array.length - 1; i++) {
//内循环控制两个数之间的比较
for (int j = 0; j < array.length - 1 - i; j++) {
//判断前一个数是否比后一个数小
if(array[j] > array[j+1]){
temp = array[j];
array[j] = array[j+1];
array[j+1] = temp;
}
}
}
return array;
}
6. 稀疏数组
-
当一个数组中大部分元素为0,或者为同一值得数组时,可以使用稀疏数组来保存该数组。
-
稀疏数组得处理方式:
-
记录数组一共有几行几列,有多少个不同值
-
把具有不同值得元素和行列及值记录在一个小规模得数组中,从而缩小程序的规模
-
-
如下图:左边时原始数组,右边时稀疏数组:


浙公网安备 33010602011771号