云服务器被挖,简单信息收集
初步解决服务器被植入挖矿病毒
前情提要
有段时间没有登录服务器了,一大早就接到阿里云打来的电话说我的服务器存在挖矿风险,这让我又惊又喜,这不是送上门的溯源实战嘛(苍蝇搓手)
了解情况
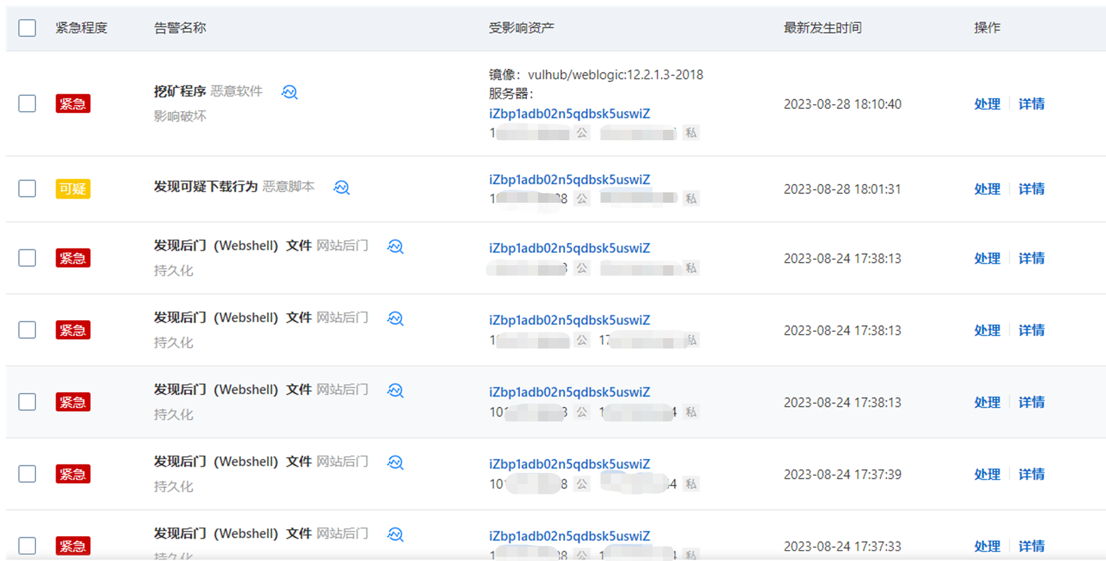
登录我的阿里云,发现cpu直接给干满了,还有有好多告警



赶紧登上我的服务器看看状况,发现那个人是用test用户进行操作的,但是准备查看test用户的操作时发现他把test用户连着组全给删了

查看历史命令的时候感觉密码和密钥都存在泄露的风险,直接全给改掉
接着查看运行的端口与执行的ip,发现用的都不是他自己的ip,都是代理和跳板机
由于水平有限,暂时没有办法了
清理病毒
top一下,查看执行病毒的文件

找到文件所在位置

发现文件里的东西都被隐藏起来了,看不见

直接简单粗暴全文件删除

过了一段时间再次查看cpu运行情况,没有cpu跑满的情况发生
由于本人有点菜
此事也算告一段落
免责声明:
⚠本内容仅用于技术交流和学习,严禁利用以上知识点对网站进行非法操作,利用其中的技术造成的后果均与本人无关, 倡导维护网络安全人人有责!⚠

浙公网安备 33010602011771号