03-pod入门知识讲解
一,k8s核心资源pod介绍
1,pod是什么
K8s 官方文档:https://kubernetes.io/
K8s 中文官方文档: https://kubernetes.io/zh/
K8s Github 地址:https://github.com/kubernetes/kubernetes
pod是什么?
官方文档:https://kubernetes.io/docs/concepts/workloads/pods/
Pod是Kubernetes中的最小调度单元,k8s是通过定义一个Pod的资源,然后在Pod里面运行容器,容器需要指定一个镜像,这样就可以用来运行具体的服务。一个Pod封装一个容器(也可以封装多个容器),Pod里的容器共享存储、网络等。也就是说,应该把整个pod看作虚拟机,然后每个容器相当于运行在虚拟机的进程。

Pod是需要调度到k8s集群的工作节点来运行的,具体调度到哪个节点,是根据scheduler调度器实现的。
白话解释:
可以把pod看成是一个“豌豆荚”,里面有很多“豆子”(容器)。一个豌豆荚里的豆子,它们吸收着共同的营养成分、肥料、水分等,Pod和容器的关系也是一样,Pod里面的容器共享pod的网络、存储等。

pod相当于一个逻辑主机--比方说我们想要部署一个tomcat应用,如果不用容器,我们可能会部署到物理机、虚拟机或者云主机上,那么出现k8s之后,我们就可以定义一个pod资源,在pod里定义一个把tomcat容器,所以pod充当的是一个逻辑主机的角色。
2,pod工作方式
在K8s中,所有的资源都可以使用一个yaml文件来创建,创建Pod也可以使用yaml配置文件。或者使用kubectl run在命令行创建Pod(不常用)。
所谓的自主式Pod,就是直接定义一个Pod资源,如下:
[root@xiaobomaster1 ~]# vim pod-tomcat.yaml
apiVersion: v1
kind: Pod
metadata:
name: tomcat-test
namespace: default
labels:
app: tomcat
spec:
containers:
- name: tomcat-java
ports:
- containerPort: 8080
image: xiaobo/tomcat-8.5-jre8:v1
imagePullPolicy: IfNotPresent
#导入镜像:
把xiaobo-tomcat.tar.gz上传到xiaobonode1节点,手动解压:
[root@xiaobonode1 ~]# docker load -i xiaobo-tomcat.tar.gz
#更新资源清单文件
[root@xiaobomaster1 ~]# kubectl apply -f pod-tomcat.yaml
#查看pod是否创建成功
[root@xiaobomaster1 ~]# kubectl get pods -o wide -l app=tomcat
NAME READY STATUS IP NODE
tomcat-test 1/1 Running 10.244.121.45 xiaobonode1
但是自主式Pod是存在一个问题的,假如我们不小心删除了pod:
[root@xiaobomaster1 ~]# kubectl delete pods tomcat-test
#查看pod是否还在
[root@xiaobomaster1 ~]# kubectl get pods -l app=tomcat
#结果是空,说明pod已经被删除了
通过上面可以看到,如果直接定义一个Pod资源,那Pod被删除,就彻底被删除了,不会再创建一个新的Pod,这在生产环境还是具有非常大风险的,所以今后我们接触的Pod,都是控制器管理的。
#控制器管理的Pod
常见的管理Pod的控制器:Replicaset、Deployment、Job、CronJob、Daemonset、Statefulset。控制器管理的Pod可以确保Pod始终维持在指定的副本数运行。如,通过Deployment管理Pod
#解压镜像:
把xiaobo-nginx.tar.gz上传到xiaobonode1节点
[root@xiaobonode1 ~]# docker load -i xiaobo-nginx.tar.gz #创建一个资源清单文件
[root@xiaobomaster1 ~]# vim nginx-deploy.yaml
apiVersion: apps/v1
kind: Deployment
metadata:
name: nginx-test
labels:
app: nginx-deploy
spec:
selector:
matchLabels:
app: nginx
replicas: 2
template:
metadata:
labels:
app: nginx
spec:
containers:
- name: my-nginx
image: xiaobo/nginx:v1
imagePullPolicy: IfNotPresent
ports:
- containerPort: 80
#更新资源清单文件
[root@xiaobomaster1 ~]# kubectl apply -f nginx-deploy.yaml
#查看Deployment
[root@xiaobomaster1 ~]# kubectl get deploy -l app=nginx-deploy
NAME READY UP-TO-DATE AVAILABLE AGE
nginx-test 2/2 2 2 16s
#查看Replicaset
[root@xiaobomaster1 ~]# kubectl get rs -l app=nginx
#查看pod
[root@xiaobomaster1 ~]# kubectl get pods -o wide -l app=nginx
#删除nginx-test-75c685fdb7-9s95h这个pod
[root@xiaobomaster1 ~]# kubectl delete pods nginx-test-75c685fdb7-9s95h
[root@xiaobomaster1 ~]# kubectl get pods -o wide -l app=nginx
#发现重新创建一个新的pod是nginx-test-75c685fdb7-pr8gh
通过上面可以发现通过deployment管理的pod,可以确保pod始终维持在指定副本数量
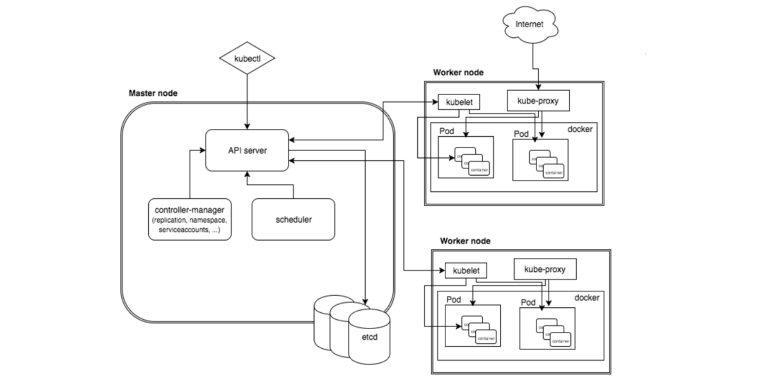
二,如何创建一个pod资源
K8s创建Pod流程

Pod是Kubernetes中最基本的部署调度单元,可以包含container,逻辑上表示某种应用的一个实例。例如一个web站点应用由前端、后端及数据库构建而成,这三个组件将运行在各自的容器中,那么我们可以创建包含三个container的pod。
创建pod流程:

master节点:kubectl -> kube-api -> kubelet -> CRI容器环境初始化
第一步:
客户端提交创建Pod的请求,可以通过调用APIServer的RestAPI接口,也可以通过kubectl命令行工具。如kubectl apply -f filename.yaml(资源清单文件)
第二步:
apiserver接收到pod创建请求后,会将yaml中的属性信息(metadata)写入etcd。
第三步:
apiserver触发watch机制准备创建pod,信息转发给调度器scheduler,调度器使用调度算法选择node,调度器将node信息给apiserver,apiserver将绑定的node信息写入etcd,调度器用一组规则过滤掉不符合要求的主机。比如Pod指定了所需要的资源量,那么可用资源比Pod需要的资源量少的主机会被过滤掉。
scheduler 查看k8s api ,类似于通知机制。首先判断:pod.spec.Node == null?若为null,表示这个Pod请求是新来的,需要创建;因此先进行调度计算,找到最“闲”的node。然后将信息在etcd数据库中更新分配结果:pod.spec.Node = nodeA (设置一个具体的节点)
ps:同样上述操作的各种信息也要写到etcd数据库中中
第四步:
apiserver又通过watch机制,调用kubelet,指定pod信息,调用Docker API创建并启动pod内的容器。
第五步:
创建完成之后反馈给kubelet, kubelet又将pod的状态信息给apiserver,apiserver又将pod的状态信息写入etcd。
1,资源清单yaml的书写技巧
[root@xiaobomaster1 ~]# vim pod-tomcat.yaml
apiVersion: v1 #api版本
kind: Pod #创建的资源
metadata:
name: tomcat-test #Pod的名字
namespace: default #Pod所在的名称空间
labels:
app: tomcat #Pod具有的标签
spec:
containers:
- name: tomcat-java #Pod里容器的名字
ports:
- containerPort: 8080 #容器暴露的端口
image: xiaobo/tomcat-8.5-jre8:v1 #容器使用的镜像
imagePullPolicy: IfNotPresent #镜像拉取策略
#更新资源清单文件
[root@xiaobomaster1 ~]# kubectl apply -f pod-tomcat.yaml
#Pod资源清单编写技巧
通过kubectlexplain查看定义Pod资源包含哪些字段。
[root@xiaobomaster1 ~]# kubectl explain pod
[APIVersion定义了对象,代表了一个版本。]
[Kind是字符串类型的值,代表了要创建的资源。服务器可以从客户端提交的请求推断出这个资源。]
[metadata是对象,定义元数据属性信息的]
[spec制定了定义Pod的规格,里面包含容器的信息]
[status表示状态,这个不可以修改,定义pod的时候也不需要定义这个字段]
#查看pod.metadata字段如何定义
[root@xiaobomaster1 ~]# kubectl explain pod.metadata
2,通过资源清单文件创建第一个Pod
[root@xiaobomaster1 ~]# vim pod-first.yaml
apiVersion: v1
kind: Pod
metadata:
name: pod-first
namespace: default
labels:
app: tomcat-pod-first
spec:
containers:
- name: tomcat-first
ports:
- containerPort: 8080
image: xiaobo/tomcat-8.5-jre8:v1
imagePullPolicy: IfNotPresent
- name: nginx-first
ports:
- containerPort: 8080
image: xiaobo/nginx:v1
imagePullPolicy: IfNotPresent
#更新资源清单文件
[root@xiaobomaster1 ~]# kubectl apply -f pod-first.yaml
#查看pod是否创建成功
[root@xiaobomaster1 ~]# kubectl get pods -o wide -l app=tomcat-pod-first
#查看pod日志
kubectl logs pod-first
#查看pod里指定容器的日志
kubectl logs pod-first -ctomcat-first
#进入到刚才创建的pod,刚才创建的pod名字是web
kubectl exec -it pod-first--/bin/bash
#假如pod里有多个容器,进入到pod里的指定容器,按如下命令:
kubectl exec -it pod-first -c tomcat-first --/bin/bash
我们上面创建的pod是一个自主式pod,也就是通过pod创建一个应用程序,如果pod出现故障停掉,那么我们通过pod部署的应用也就会停掉,不安全,还有一种控制器管理的pod,通过控制器创建pod,可以对pod的生命周期做管理,可以定义pod的副本数,如果有一个pod意外停掉,那么会自动起来一个pod替代之前的pod,之后会讲解pod的控制器
3,通过kubectlrun创建Pod
kubectl run tomcat--image=xiaobo/tomcat-8.5-jre8:v1 --image-pull-policy='IfNotPresent' --port=8080

浙公网安备 33010602011771号