适用于智能电表、计量插座的高抗干扰液晶驱动芯片VK2C23ALCD段码屏驱动芯片
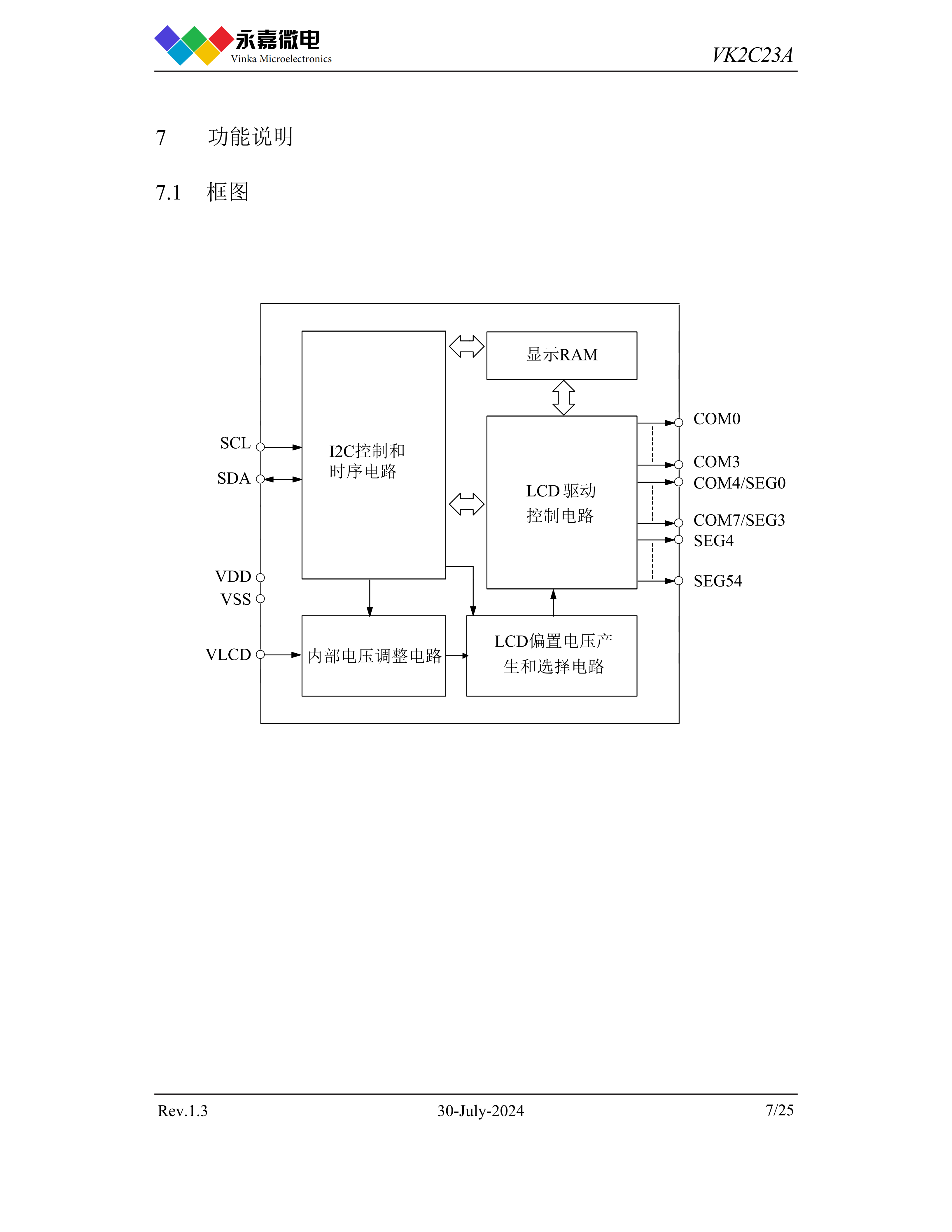
VK2C23A是一个点阵式存储映射的LCD驱动器,可支持最大220点(55SEGx4COM)或者最大408点(51SEGx8COM)的LCD屏。单片机可通过I2C接口配置显示参数和读写显示 数据,也可通过指令进入省电模式。其高抗干扰,低功耗的特性适用于水电气表以及工控仪表类产品。LJQ6701
产品品牌:永嘉微电/VINKA
产品型号:VK2C23A
封装形式:LQFP64
• 工作电压 2.4-5.5V
• 内置32 kHz RC振荡器
• 偏置电压(BIAS)可配置为1/3、1/4
• COM周期(DUTY)可配置为1/4、1/8
• 内置显示RAM为56x4位、52x8位
• 帧频可配置为80Hz、160Hz
• 省电模式(通过关显示和关振荡器进入)
• I2C通信接口
• 显示模式55x4、51x8
• 3种显示整体闪烁频率
• 软件配置LCD显示参数
• 读写显示数据地址自动加1
• VLCD脚提供LCD驱动电压源(2.4~5.5V)
• 内置16级LCD驱动电压调整电路
• 内置上电复位电路(POR)
• 低功耗、高抗干扰
• 封装
LQFP64(7.0mm × 7.0mm PP=0.4mm)
DICE
COG


VK2C21A 2.4~5.5V 20seg4com 168 偏置电压1/3 1/4 I2C通讯接口 SOP28;DICE/DIE裸片(绑定COB);COG(绑定玻璃) 高抗干扰/抗噪/低功耗
VK2C21AA 2.4~5.5V 20seg4com 168 偏置电压1/3 1/4 I2C通讯接口 SSOP28;DICE/DIE裸片(绑定COB);COG(绑定玻璃) 高抗干扰/抗噪/低功耗
VK2C21B 2.4~5.5V 16seg4com 128 偏置电压1/3 1/4 I2C通讯接口 SOP24;DICE/DIE裸片(绑定COB);COG(绑定玻璃) 高抗干扰/抗噪/低功耗
VK2C21BA 2.4~5.5V 16seg4com 128 偏置电压1/3 1/4 I2C通讯接口 SSOP24;DICE/DIE裸片(绑定COB);COG(绑定玻璃) 高抗干扰/抗噪/低功耗
VK2C21C 2.4~5.5V 12seg4com 88 偏置电压1/3 1/4 I2C通讯接口 SOP20;DICE/DIE裸片(绑定COB);COG(绑定玻璃) 高抗干扰/抗噪/低功耗
VK2C21D 2.4~5.5V 8seg4com 48 偏置电压1/3 1/4 I2C通讯接口 NSOP16;DICE/DIE裸片(绑定COB);COG(绑定玻璃) 高抗干扰/抗噪/低功耗
VK2C22A 2.4~5.5V 44seg4com 偏置电压1/2 1/3 I2C通讯接口 LQFP52;DICE/DIE裸片(绑定COB);COG(绑定玻璃) 高抗干扰/抗噪/低功耗
VK2C22B 2.4~5.5V 40seg4com 偏置电压1/2 1/3 I2C通讯接口 LQFP48;DICE/DIE裸片(绑定COB);COG(绑定玻璃) 高抗干扰/抗噪/低功耗
VK2C23A 2.4~5.5V 56seg4com 528 偏置电压1/3 1/4 I2C通讯接口 LQFP64;DICE/DIE裸片(绑定COB);COG(绑定玻璃) 高抗干扰/抗噪/低功耗
VK2C23B 2.4~5.5V 36seg8com 偏置电压1/3 1/4 I2C通讯接口 LQFP48;DICE/DIE裸片(绑定COB);COG(绑定玻璃) 高抗干扰/抗噪/低功耗
VK2C24A 2.4~5.5V 72seg4com 688 6016 偏置电压1/3 1/4 1/5 I2C通讯接口 LQFP80;DICE/DIE裸片(绑定COB);COG(绑定玻璃) 高抗干扰/抗噪/低功耗
VK2C24B 2.4~5.5V 56seg4com 528 44*16 偏置电压1/3 1/4 1/5 I2C通讯接口 LQFP64;DICE/DIE裸片(绑定COB);COG(绑定玻璃) 高抗干扰/抗噪/低功耗

浙公网安备 33010602011771号