字符串和数字过滤器
什么是过滤器? 实质上就是一个转换函数。变量可以通过“过滤器”进行修改,过滤器可以理解为是jinja2里面的内置
函数和字符串处理函数。
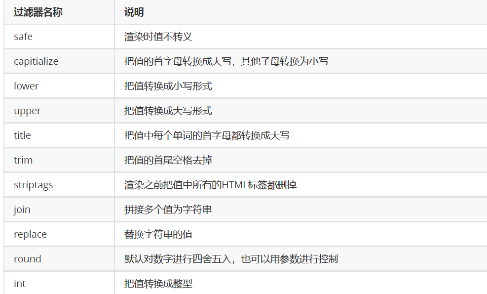
常用的过滤器有:

1、字符串的过滤器
<body>
{# 当变量未定义时,显示默认字符串,可以缩写为d #}
<p>{{ name | default('No name') }}</p>
{# 单词首字母大写 #}
<p>{{ 'hello world' | capitalize }}</p>
{# 单词全小写 #}
<p>{{ 'XML' | lower }}</p>
{# 去除字符串前后的空白字符 #}
<p>{{ ' hello ' | trim }}</p>
{# 字符串反转,返回"olleh" #}
<p>{{ 'hello' | reverse }}</p>
{# 格式化输出,返回"Number is 99" #}
<p>{{ '%s is %d' | format("Number", 99) }}</p>
{# 关闭HTML自动转义 #}
<p>{{ '<em>name</em>' | safe }}</p>
{% autoescape false %}
{# HTML转义,即使autoescape关了也转义,可以缩写为e #}
<p>{{ '<em>name</em>' | escape }}</p>
{% endautoescape %}
</body>
2、数值的过滤器
{# 四舍五入取整,返回13.0 #}
<p>{{ 12.98 | round }}</p>
{# 向下截取到小数点后2位,返回12.88 #}
<p>{{ 12.8888 | round(2, 'floor') }}</p>
{# 绝对值,返回12 #}
<p>{{ -12 | abs }}</p>

浙公网安备 33010602011771号