JVM学习
JVM
一、JVM与Java体系结构

1.1 JVM整体结构

1.2 JVM的生命周期
-
虚拟机的启动
Java虚拟机的启动是通过类加载器(bootstrap class loader)创建一个初始类
(initial class)来完成的,这个类是由虚拟机的具体实现指定的。
-
虚拟机的执行
一个运行中的Java虚拟机有着一个清晰的任务;执行Java程序。
程序开始执行时他才运行,程序结束时他就停止。
执行一个所谓的Java程序,真真正正在执行的是一个叫做Java虚拟机的进程
-
虚拟机的退出
有如下的几种情况:
-
程序正常执行结束
-
程序在执行过程中遇到了异常或错误而异常终止
-
由于操作系统出现错误而导致Java虚拟机进程终止
-
某线程调用Runtime类或System类的exit方法,或Runtime类的halt方法,
并且Java安全管理器也允许这次exit或halt操作
-
除此以外,JNI(Java Native Interface)规范描述了用JNI Invocation API来加载或卸载Java虚拟机时,Java虚拟机的退出情况
-
Java虚拟机根本不关心运行在其内部的程序到底使用何种语言编写,只关心字节码文件。也就是说,其具有语言无关性。
1.3 字节码
-
平时所说的字节码一般指java字节码,但是其实任何能在jvm平台上执行的字节码格式都是一样的,所以统称为:jvm字节码
-
不同的编译器,可以编译出相同的字节码文件,字节码文件也可以在不同的JVM上运行
-
Java虚拟机与Java语言并没有必然的联系,它只与特定的二进制文件格式--class文件格式所关联
,Class文件中包含了Java虚拟机指令集(或者称为字节码、Bytecodes)和符号表,还有一些其他辅助信息
1.4 多混合编程
Java平台上的多语言混合编程正成为主流,通过特定领域的语言去解决特定领域的问题是当前
软件开发应对日趋复杂的项目需求的一个方向。
1.5 虚拟机
虚拟机就是一台虚拟的计算机。它是一款软件,用来执行一系列虚拟计算机指令,大体上
虚拟机可分为:系统虚拟机与程序虚拟机
- 系统虚拟机:VMWare、Box等等,其完全对物理计算机仿真
- 程序虚拟机:Java虚拟机,专门为执行单个计算机程序而设计
无论系统虚拟机还是程序虚拟机,上面运行的软件都被限制于虚拟机提供的资源中。
1.6 Java虚拟机
-
Java虚拟机是一台执行Java字节码的虚拟计算机,其拥有独立的运行机制,其
运行的Java字节码也未必由Java语言编译而成。
-
JVM平台的各种语言可以共享Java虚拟机带来的跨平台性、以及垃圾回收机制
、以及可靠的即使编译器
-
Java技术核心就是Java虚拟机,因为所有Java程序都运行在Java虚拟机内部
作用:Java虚拟机就是二进制字节码的运行环境
特点:一次编译、到处运行。自动内存管理,自动垃圾回收功能
1.7 Java代码执行流程



1.8 JVM架构模型
Java编译器输入的指令流基本上是一种基于栈的指令集架构,另外一种指令集架构则是基于寄存器的指令集架构。
两者架构的区别:
-
基于栈式架构的特点
- 设计和实现更简单,适用于资源受限的系统。
- 避开了寄存器和分配难题:使用零地址指令方式分配
- 指令流中的指令大部分是零地址指令,其执行过程依赖操作栈。指令集更小,编译器容易实现
- 不需要硬件支持,可移植性更好,更好实现跨平台
-
基于寄存器架构的特点
-
典型的应用是x86的二进制指令集:pc、Davlik虚拟机
-
指令集架构完全依赖硬件,可移植性差
-
性能优秀和执行更高效
-
花费更少的指令去完成一项操作
-
大部分情况下,基于寄存器架构的指令集往往都以一地址指令、二地址指令
和三地址指令为主,而基于栈式架构的指令集却是以零地址指令为主
-
eg:2+3
//基于栈的计算流程
iconts_2 //常量2入栈
istore_1
iconts_3 //常量3入账
istore_2
iload_1
iload_2
iadd //常量2、3出栈,执行相加
istore_0 //结果5入栈
//基于存储器的计算流程
mov eax,2 //将eax寄存器的值设为1
add eax,3 //将eax寄存器的值加3
总结
由于跨平台性的设计,Java的指令都是根据栈来设计的。
(栈:跨平台性、指令集、指令多;执行性能弱于寄存器)
1.9 JVM发展史
sun classic VM
exact VM
HotSpot VM
JRockit VM
IBM J9 VM
KVM、CDC、CLDC
Azul VM、BEA Liquid VM
Apache Harmony
Microsoft JVM、TaobaoJVM
Dalvik VM
Graal VM
二、类加载子系统
2.1 内存结构概述


2.2 类加载器与类加载过程
- 类加载器子系统负责从文件或者网络中加载Class文件,Class文件在文件开头有特定的文件标识
- ClassLoader只负责class文件的加载,至于他是否可以运行,则有ExeutionEngine决定
- 加载的类的信息存放与一块称为方法区的内存空间。除了类信息外,方法区中还会存放运行时常量池信息,可能还包括字符串字面量和数字常量(此乃class文件中常量池部分的内存映射)
类加载器ClassLoader:
Class file 存放于本地磁盘上,可以理解为:设计师画在纸上的模板,而模板必须加载到JVM中来根据这个文件实例化出n个一模一样的实例。
Class file 加载到JVM中,被称为DNA元数据模板,放在方法区
.class文件 --> JVM --> 元数据模板,此过程中需要一个“快递员”,ClassLoader就是这个快递员
类的加载过程:

1.加载:
1.通过一个类的全限定名获取定义此类的二进制字节流
2.将这个字节流所代表的静态存储结构转化为方法区的运行时数据结构
3.将内存生成一个代表这个类的java.lang.Class对象,作为方法区这个类的各种数据的访问入口
加载方式:
本地、网络(Web Applet)、zip压缩包读取(jar、war)、运行时计算生成(动态代理)、其他文件生成(JSP)、专有数据库中提供.class文件(比较少见)、加密文件中获取(防Class文件被反编译的保护措施)
2.链接(验证、准备、解析):
验证:
目的在于确保class文件的字节流中包含信息符合当前虚拟机要求,保证被加载类的正确性,不会危害虚拟机自身安全。
主要包括四种验证,文件格式验证、元数据验证、字节码验证、符号引用验证
准备:
为类变量分配内存并且设置该类变量的默认初始值,即零值。
不包含用final修饰的static,因为final在编译时就会分配了,准备阶段会显式初始化
解析:
将常量池内的符号引用转换为直接引用的过程。
事实上,解析操作往往会伴随着JVM在执行完初始化之后再执行。
符号引用就是一组符号来描述所引用的目标。符号引用的字面量形式明确定义在《Java虚拟机规范》的Class文件格式中。
直接引用就是直接指向目标的指针、相对偏移量或一个间接定位到目标的句柄。
解析动作主要针对类或接口、字段、类方法、接口方法、方法类型等。
3.初始化:
初始化阶段就是执行类构造器方法
吃方法不需定义,是Javac编译器自动收集类中的所有类变量的赋值动作和静态代码块中的语句合并而来
构造器方法中指令按语句在源文件中出现的顺序执行
2.3 类加载器分类
-
JVM支持两种类型的类加载器,分别为引导类加载器(Bootstrap ClassLoader)和 自定义类加载器(User-Defined ClassLoader)
-
一般来说,自定义类加载器一般指程序中开发人员自定义的一类类加载器,但是Java虚拟机规范没有这么定义,而是将所有派生于抽象类ClassLoader的类加载器都划分为自定义类加载器。
-
无论类加载器的类型如何划分,程序中常见的只有三个!
虚拟机自带的加载器:
-
启动类加载器(引导类加载器,BootStrap ClassLoader)
使用C/C++实现,嵌套在JVM内部,其用来加载Java核心库,提供JVM自身需要的类,并不继承
java.lang.ClassLoader,没有父加载器。加载扩展类和应用程序类加载器,并指定为他们的父类
加载器。出于安全考虑,BootStrap启动类加载器只加载包名为java、javax、sun等开头的类
-
扩展类加载器(Extension ClassLoader)
Java语言编写,派生于ClassLoader类,父加载器为启动类加载器,用户创建的jar放在此目录下,也会由扩展类加载器加载。
-
应用程序加载器(系统类加载器,AppClassLoader)
java编写,派生于ClassLoader类,父加载器为扩展类加载器,其负责加载环境变量classpath或系统属性指定路径下的类库,该加载类是程序中默认的类加载器,一般来说,java应用的类都是由他完成加载。通过ClassLoader#getSystemClassLoader()方法可以获取到该类加载器
package cn.imut;
public class ClassLoaderTest {
public static void main(String[] args) {
//获取系统类加载器
ClassLoader systemClassLoader = ClassLoader.getSystemClassLoader();
System.out.println(systemClassLoader); //sun.misc.Launcher$AppClassLoader@18b4aac2
//获取其上层,扩展类加载器
ClassLoader parent = systemClassLoader.getParent();
System.out.println(parent); //sun.misc.Launcher$ExtClassLoader@1b6d3586
//获取其上层:
ClassLoader parent1 = parent.getParent();
System.out.println(parent1); //null
//获取自定义类
ClassLoader classLoader = ClassLoaderTest.class.getClassLoader();
System.out.println(classLoader); //sun.misc.Launcher$AppClassLoader@18b4aac2
//String类使用引导类加载器进行加载
//java的核心库都是使用引导类加载器进行加载的
ClassLoader classLoader1 = String.class.getClassLoader();
System.out.println(classLoader1); //null
}
}
2.4 ClassLoader类
ClassLoader类,他是一个抽象类,其后所有的类加载器都继承自ClassLoader(不包括启动类加载器)

2.5 双亲委派机制
Java虚拟机对class文件采用的是按需加载的方式,也就是所需要使用该类才会将其的class文件加载到内容生成class对象,而且加载某个类的class文件时,java虚拟机采用的是双亲委派机制,即把请求交由父类处理,它是一种任务委派模式。
工作原理:
如果一个类加载器收到了类加载器请求,他并不会自己先去加载,而是把这个请求委托给父类的加载器去执行
如果父类加载器还存在其父类加载器,则进一步向上委托,依次递归请求最终将达到顶层的启动类加载器
如果父类加载器可以完成类加载任务,就成功返回,倘若父类加载器无法完成此加载任务,子加载器才会尝试自己去加载,这就是双亲委派模式。

优势:
避免类的重复加载,保护程序安全,防止核心API被随意篡改
沙箱安全机制:
自定义String类,但是在加载自定义String类的时候会率先使用引导类加载器加载,而引导类加载器在加载过程中会先加载jdk自带的文件(rt.jar包中java\lang\String.class),报错信息说没有main方法,就是因为加载的是rt.jar包中的String类。这样可以保证对java核心源代码的保护,这就是沙箱安全机制。
package java.lang;
public class String {
static {
System.out.println("我是自定义的String类的静态代码块");
}
public static void main(String[] args) {
System.out.println("Hello,String");
}
}

在JVM中表示两个class对象是否为同一个类存在两个必要条件:
- 类的完整类名必须一致,包括包名
- 加载这个类的ClassLoader(指ClassLoader实例对象)必须相同
换句话说,在JVM中,即使这两个类对象(class对象)来源同一个Class文件,被同一个虚拟机所加载,但只能加载它们的ClassLoader实例对象不同,那么这两个类对象也是不相等的。
JVM必须知道一个类型是由启动加载器加载的还是由用户类加载器加载的。如果一个类型是由用户类加载器加载的,那么JVM会将这个类加载器的一个应用作为类型信息的一部分保存在方法区中。
Java程序对类的使用方式分为:主要使用和被动使用。
主动使用,分为七种情况:
- 创建类的实例
- 访问某个类或者接口的静态变量,或者对该静态变量赋值
- 调用类的静态方法
- 反射
- 初始化一个类的子类
- java虚拟机启动时标明为启动类的类
- JDK7开始提供的动态语言支持
除了以上七种情况,其他使用Java类的方式都被看作时对类的被动使用,都不会导致类的初始化
三、运行时数据区概述及线程
3.1 运行时数据区内部结构
内存时硬盘与CPU之间的桥梁,承载着操作系统和应用程序的实时运行。JVM内存布局规定了Java在运行过程中内存申请、分配、管理的策略,保证了JVM的高效稳定运行。不同的JVM对于内存的划分方式和管理机制存在着部分差异。

java虚拟机定义了若干种程序运行期间会使用到的运行时数据区,其中有一些会随着虚拟机启动而创建,随着虚拟机退出而销毁。另外一些则是与线程一一对应的,这些与线程对应的数据区会随着线程开始和结束而创建和销毁。
- 每个线程:独立包括程序计数器、栈、本地栈。
- 线程间共享:堆、堆外内存(永久代或元空间、代码缓存)
3.2 线程
- 线程就是一个程序里的运行单元。JVM允许一个应用有多个线程并行执行
- 在Hotspot JVM里,每个线程都与操作系统的本地线程直接映射。
- 当一个java线程准备好执行以后,此时一个操作系统的本地线程也同时创建。java线程执行终止后,本地线程也会回收
- 操作系统负责所有线程的安排调度到任何一个可用的CPU上。一旦本地线程初始化成功,他就会调用java线程中的run()方法
四、程序计数器
JVM中的程序计数寄存器(Program Counter Register)中,Register的命名源于CPU的寄存器,寄存器存储指令相关的现场信息。CPU只有把数据转载到就来气才能够运行。
JVM中PC寄存器是对物理PC寄存器的一种抽象模拟。
作用:
PC寄存器用来存储指向下一条指令的地址,也即将要执行的指令代码。由执行引擎读取下一条指令。
PC Register是一块很小的内存空间,几乎可以忽略不计。也是运行速度最快的存储区域。
在JVM规范中,每个线程都有它自己的程序计数器,是线程私有的,生命周期与线程周期保持一致。
任何一个线程都只有一个方法在执行,也就是所谓的当前方法,程序计数器会存储当前线程正在执行的Java方法的JVM指令地址,或者,如果是在执行native方法,则是未指定值。
分支、循环、跳转、异常处理、线程恢复等基础功能都需要依赖这个计数器来完成。
字节码解释器工作时就是通过改变这个计数器的值来选取下一条需要执行的字节码指令。
它是唯一一个在Java虚拟机规范中没有规定任何OutOtMemoryError情况的区域。
使用PC寄存器存储字节码指令地址有什么用呢?为什么使用PC寄存器记录当前线程的执行地址呢?
因为CPU需要不断的切换各个线程,这时候切换回来以后,必须知道接着从哪开始继续执行。
JVM的字节码解释器就需要通过改变PC寄存器的值来明确下一条应该执行什么样的字节码指令。
PC寄存器为什么被设定为线程私有?
为了保证各个线程正在执行的当前字节码指令地址,最好的办法自然是为每一个线程都分配一个PC寄存器,这样一来各个线程之间便可以进行独立计算,从而不会出现相互干扰的情况。
五、虚拟机栈
5.1 虚拟机栈概述
由于跨平台的设计,Java的指令都是根据栈来设计的,不同平台CPU架构不同,所以不能设计为基于寄存器的。优点是跨平台,指令集小,编译器容易实现,缺点是性能下降,实现同样的功能需要更多的指令。
栈是运行时的单位,堆是存储的单位
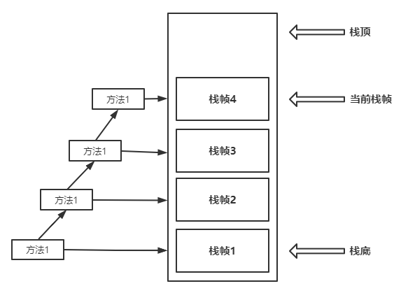
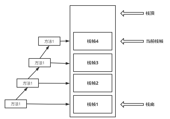
Java虚拟机栈(Java Virtual Machine Stack),早期也叫做Java栈,每个线程在创建时都会创建一个虚拟机栈,其内部保存一个个的栈帧(Stack Frame),对应着一次次的Java方法调用。是线程私有的
作用:主管Java的运行,它保存方法的局部变量、部分结果,并参与方法的调用和返回
栈的优点:
- 栈是一种快速有效的分配存储方式,访问速度仅次于程序计数器
- JVM直接对Java栈的操作只有两个:
- 每个方法执行,伴随着进栈
- 执行结束后的出栈工作
- 对于栈来说不存在垃圾回收问题
栈可能出现的异常
Java虚拟机规范允许Java栈的大小是动态的或者是固定不变的
- 如果采用固定大小的Java虚拟机栈,那每一个线程的Java虚拟机栈容量可以在线程创建的时候独立选定。如果线程请求分配的栈容量超过Java虚拟机栈允许的最大容量,Java虚拟机会抛出一个StackOverflowError异常
- 如果Java虚拟机可以动态扩展,并且在尝试扩展的时候无法申请到足够的内存,或者在创建新的线程时没有足够的内存去创建对应的虚拟机栈,那Java虚拟机将会抛出一个OutOfMemoryError异常
设置栈内存大小
可以使用-Xss 选项来设置线程的最大栈空间,栈的大小直接决定了函数调用的最大可达深度。
5.2 栈的存储单位
每个线程都有自己的栈,栈中数据都是以栈帧(Stack Frame)的格式存在,在这个线程上正在执行的每个方法都各自对应一个栈帧(Stack Frame)。栈帧是一个内存区块,是一个数据集,维系着方法执行过程中的各种数据信息。
栈运行原理:
- JVM直接对Java栈的操作只有两个,就是对栈帧的压栈和出栈,遵循“先进后出”原则。
- 在一条活动线程中,一个时间点上,只会有一个活动的栈帧。即只有当前正在执行的方法的栈帧(栈顶栈帧)是有效的,这个栈帧被称为当前栈帧(Current Frame),与当前栈帧相对应的方法就是当前方法(Current Method),定义这个方法的类就是当前类(Current Class)
- 执行引擎运行的所有字节码指令只针对当前栈帧进行操作
- 如果在该方法中调用了其他方法,对应的新的栈帧会被创建出来,放在栈的顶端,成为新的当前帧

- 不同线程中所包含的栈帧是不允许存在相互引用的,即不可能在一个栈帧之中引用另外一个线程的栈帧
- 如果当前方法调用了其他方法,方法返回之际,当前栈帧会传回此方法的执行结果给前一个栈帧,接着,虚拟机会丢弃当前栈帧,使得前一个栈帧重新成为当前栈帧。
- Java方法有两种返回函数的方式,一种是正常的函数返回,使用return指令,另一种是抛出异常,不管使用哪种方式,都会导致栈帧被弹出
package cn.imut;
public class StackFrameTest {
public static void main(String[] args) {
StackFrameTest stackFrameTest = new StackFrameTest();
stackFrameTest.method1();
}
public void method1() {
System.out.println("method1()开始执行...");
method2();
System.out.println("method1()执行结束...");
}
public int method2() {
System.out.println("method2()开始执行...");
int i = 10;
int m = (int) method3();
System.out.println("method2()即将结束...");
return i + m;
}
public double method3() {
System.out.println("method3()开始执行...");
double j = 20.0;
System.out.println("method3()执行结束...");
return j;
}
}

栈帧的内部结构:
- 局部变量表
- 操作数栈(表达式栈)
- 动态链接(指向运行时常量池的方法引用)
- 方法返回地址(方法正常退出或者异常退出的定义)
- 附加信息等等
5.3 局部变量表
- 局部变量表也称为局部变量数组或者本地变量表
- 定义为一个数字数组,主要用于存储方法参数和定义在方法体内的局部变量,这些数据结构包括各类基本数据类型、对象引用,以及returnAddress类型
- 由于局部变量表是建立在线程的栈上,是线程的私有数据,因此不存在数据安全问题
- 局部变量表所需的容量大小是在编译器确定下来的,并保存在方法的Code属性的maximum local variables数据项中。在方法运行期间是不会改变局部变量表的大小的
方法嵌套调用的次数由栈的大小决定。一般来说,栈越大,方法嵌套调用次数越多。对于一个函数而言,它的参数和局部变量越多,使得局部变量表膨胀,他的栈帧就越大,以满足方法调用所需传递的信息增大的要求。进而函数调用就会占用更多的栈空间,导致其嵌套调用次数就会减少。
局部变量表中的变量只能在当前方法调用中有效。在方法执行时,虚拟机通过使用局部变量表完成参数值到参数变量列表的传递过程。当方法调用结束后,随着方法栈帧的销毁,局部变量表也会随之销毁。
变量槽Slot:
- 参数值的存放总是在局部变量数组的index0开始,到数组长度-1的索引结束
- 局部变量表,最基本的存储单元是Slot(变量槽)
- 局部变量表中存放编译期可知的各种基本数据类型(8种),引用类型(reference),returnAdderss类型的变量
- 在局部变量表,32位以内的类型只占用一个slot(包括returnAddress类型),64位的类型(long和double)占用两个slot
- byte、short、char在存储前被转换为int,boolean也被转换为int,0表示false,非0表示true
- long和double则占据两个slot
JVM会为局部变量表中每一个Slot都分配一个访问索引,通过这个索引即可成功访问到局部变量表中指定的局部变量值
当一个实例方法被调用的时候,它的方法参数和方法体内部定义的局部变量将会按照顾序被复制到局部变量表中每一个slot上
如果需要访问局部变量表中一个64bit的局部变量值时,只需要使用前一个索引即可。
如果当前帧是由构造方法或者实例方法创建的,那么该对象引用this将会存放在index为0的slot处,其余的参数按照参数表顺序继续排列。
静态变量与局部变量的对比:
- 参数表分配完毕之后,再根据方法体内定义的变量的顺序和作用域分配
- 类变量表有两次初始化的机会,第一次是在“准备阶段”,执行系统初始化,对类变量设置零值,另一次则是在“初始化”阶段,赋予程序员在代码中定义的初始值。
- 和类变量初始化不同的是,局部变量表不存在系统初始化的过程
5.4 操作数栈
- 每一个独立的栈帧中除了包含局部变量表以外,还包含一个后进后出的操作数栈,也可以称之为表达式栈
- 操作数栈,在方法执行过程中,根据字节码指令,往栈中写入数据或提取数据,即入栈和出栈
- 某些字节码指令将值压入操作数栈,其余的字节码指令将操作数取出栈,使它们后再把结果压入栈
- eg:执行复制、交换、求和等操作
- 如果被调用的方法带有返回值的话,其返回值将会被压入当前栈帧的操作数栈中,并更新PC寄存器中下一条需要执行的字节码指令
- 操作数栈中元素的数据类型必须与字节码指令的序列严格匹配,这由编译器在编译器期间进行验证,同时在类加载过程中的类检验阶段的数据流分析阶段要再次验证
- 另外,我们所Java虚拟机的解释引擎是基于栈的执行引擎,其中的栈指的是操作数栈
- 操作数栈,主要用于保存计算过程的中间结果,同时作为计算过程中变量临时的存储空间
- 操作数栈就是JVM执行引擎的一个工作区,当一个方法刚开始执行的是否,一个新的栈帧也会随之被创建出来,这个方法的操作数栈是空的
- 每一个操作数栈都会拥有一个明确的栈深度用于存储数值,其所需的最大深度在编译器就定义好了,保存在方法的Code属性中,为max_stack的值
- 栈中的任何一个元素都是可以任意的Java数据类型
- 32bit的类型占用一个栈单位深度
- 64bit的类型占用两个栈单位深度
- 操作数栈并非采用访问索引的方式来进行数据访问的,而是只能通过标准的入栈和出栈操作来完成一次数据访问
5.5 代码追踪
package cn.demo1;
public class Test1 {
public void testAddOperation() {
byte i = 15;
int j = 8;
int k = i + j;
}
}
Code:
stack=2, locals=4, args_size=1
0: bipush 15
2: istore_1
3: bipush 8
5: istore_2
6: iload_1
7: iload_2
8: iadd
9: istore_3
10: return
5.6 动态链接
- 每一个栈帧内部都包含一个指向运行时常量池中该栈帧所属方法的应用。其目的就是支持动态链接
- 在Java源文件被编译到字节码文件中时,所有的变量和方法应用都作为符号引用保存在class文件的常量池里。比如:描述一个方法调用了另外的其他方法时,也就是通过常量池中指向方法的符号引用来表示的,那么动态链接的作用就是为了将这些符号引用转换为调用方法的直接引用
5.7 常量池
- 常量池的作用就是为了提供一些符号和常量,以便于指令的识别
5.8 方法的调用
在JVM中,将符号引用转换为调用方法的直接引用与方法的绑定机制相关
-
静态链接:
当一个字节码文件被转载进JVM內部时,若被调用的目标方法在编译器可知,且运行期间保持不变时,这种情况下将调用方法的符号引用转换为直接引用的过程称之为静态链接。
-
动态链接:
如果被调用的方法在编译器无法被确定下来,即能够在程序运行期间将调用方法的符号引用转为直接引用,由于这种引用具备动态性,所以被称为动态链接
对应的方法的绑定机制为:早起绑定和晚期绑定
绑定是一个字段、方法、或者类在符号引用被替换为直接引用的过程,这仅仅发送一次
早期绑定:
被调用的目标方法如果在编译器可知,且运行期间保持不变
晚期绑定:
被调用的方法在编译期无法被确定下来,只能够在程序运行期间根据实际的类型绑定相关的方法
虚方法与非虚方法:
-
非虚方法
如果方法在编译器就确定了具体的调用版本,这个版本在运行时是不可变的。这样的方法称为非虚方法。
eg:静态方法、私有方法、final方法、实例构造器、父类方法都是非虚方法
-
虚方法
不是非虚方法的方法称为虚方法
虚拟机中的调用指令:
- 普通调用指令
- invokestatic:调用静态方法,解析阶段确定唯一方法版本(虚方法)
- invokespecial:调用
方法、私有及父类方法,解析阶段确定唯一方法版本(虚方法) - invokevirtual:调用所有虚方法
- invokeinterface:调用接口方法
- 动态调用指令
- invokedynamic:动态解析出需要调用的方法,然后执行
普通调用指令固化在虚拟机内部,方法的调用执行不可人为干预,而动态调用指令则支持由用户确定方法版本
invokedynamic指令
该指令是java为了实现【动态类型语言】支持而做的一种改进
jdk1.7必须使用ASM底层字节码工具来产生invokedynamic指令
jdk1.8Lambda表达式的出现,invokedynamic指令的生成,在java中才有了直接的生成方式
动态类型语言和静态类型语言:
- 动态类型语言和静态类型语言两者的区别就在对类型的检查是在编译器(静态)还是在运行期(动态)
- 静态类型语言是判断变量自身的类型信息
- 动态类型语言是判断变量值的类型信息(变量没有类型信息,变量值才有类型信息)
方法重写的本质:
-
找到操作数栈顶的第一个元素所执行的对象的实际类型,记作C
-
如果在类型C中找到与常量中的描述符合简单名称都相符的方法,则进行访问权限校验,
如果通过则返回这个方法的直接引用,查找过程结束;如果不通过,则返回异常
-
否则,按照继承关系从下往上依次对C的各个父类进行第2步的搜索和验证过程
-
若始终没有找到合适的方法,则抛出异常
方法返回地址:
- 存放调用该方法的pc寄存器的值
- 一个方法的结束,有两种方式
- 正常执行完成
- 出现未处理的异常,非正常退出
- 无论哪种方式退出,在方法退出后都返回到该方法被调用的位置上,方法正常退出时,调用者的PC计数器的值作为返回地址,即调用该方法的指令的下一条指令的地址。而通过异常退出的。返回地址是要通过异常表来确定,栈帧中一般不会保存此信息。
5.9 常见面试题
-
举例栈溢出的情况
StackOverflowError
通过-Xss设置栈的大小:00M
-
调整栈大小,就能保证不出现溢出吗?
不能
-
分配的栈内存越大越好吗?
-
垃圾回收是否会涉及到虚拟机栈?
-
方法中定义的局部变量是否线程安全?
如果该变量是内部产生并且内部消亡的,则就是安全的
不是内部产生、或者内部产生又出现在外面则是不安全的
六、本地方法接口
本地接口的作用就是融合不同的编程语言为Java所用,它的初衷是融合C/C++程序
目前几乎不使用
七、堆
- 一个JVM实例只存在一个堆内存,堆也是Java内存管理的核心区域
- Java堆区在JVM启动时即被创建,其空间大小也就确定了。是JVM管理的最大一块内存空间
- 堆内存的大小是可调节的
- 所有的线程共享Java堆,在这里还可以划分线程私有的缓冲区
- 几乎所有的对象实例以及数组都应当在运行时分配在堆上
- 数组和对象可能永远不会存储在栈上,因为栈帧中保存引用,这个引用指向对象或者数组在堆中的位置
- 在方法结束后,堆中对象不会马上被移除,仅仅在垃圾收集的时候才会被移除
- 堆,是GC执行垃圾回收的重点区域

7.1 内存细分
现代垃圾收集器大部分都基于分代收集理论设计,堆空间细分为:
- JDK1.7:新生区+养老区+永久区
- JDK1.8:新生区+养老区+元空间(实际上不包括)
7.2 堆内存大小与OOM
Java堆区用于存储Java对象实例,那么堆的大小在JVM启动就已经设定好了,大家可以通过选项“-Xmx”和“-Xms”来进行设置。
- “-Xms”用于表示堆区的起始内存,等价于-XX:InitialHeapSize
- “-Xmx”则用于表示堆区的最大内存,等价于-XX:MaxHeapSize
一旦堆区中的内存大小超过“-Xmx”所指定的最大内存时,将会抛出OutOfMemoryError异常
通常会将 -Xms和-Xmx两个参数配置相同的值,其目的是为了能够在Java垃圾回收机制清理完堆区后不需要重新分隔计算堆区的大小,从而提高性能
默认情况下,初始内存大小:物理电脑内存大小 / 64
最大内存大小:物理电脑内存大小 / 4
7.3 年轻代与老年代
- 年轻代
- Eden空间
- Survivor0(from区)
- Survivor1(to区)
- 老年代
- Ole Gen
配置新生代与老年代在堆结构的占比
- 默认 -XX:NewRation = 2,表示新生代占1,老年代占2
- 可以修改-XX:NewRatio = 4,表示新生代占1,老年代占4
几乎所有的Java对象都是在Eden区被new出来的
对大部分的Java对象的销毁都在新生代进行
7.4 对象分配过程
- new的对象先放在伊甸园区,此区有大小限制
- 当伊甸园的空间填满时,程序又需要创建对象,JVM的垃圾回收器将对伊甸园区进行垃圾回收,将伊甸园区中的不再被其他对象所引用的对象进行销毁,再加载新的对象放到伊甸园区
- 然后将伊甸园中的剩余对象移动到幸存者0区
- 如果再次触发垃圾回收,此时三次幸存下来的放到幸存者0区的,如果没有回收,就放到幸存者1区
- 如果再次经历垃圾回收,此时会重新返回幸存者0区,接着再去幸存者1区
- 默认15次去养老区
即,针对幸存者s0,s1区的总结:复制之后有交换,谁空谁是to
关于垃圾回收:频繁在新生区收集,很少在养老区收集,几乎不在永久区/元空间收集
7.5 Minor GC、Major GC、Full GC
JVM在进行GC时,并非每次都对上面三个内存区域一起回收的,大部分时候回收的都是新生代。
针对HotSpot VM的实现,它里面的GC按照回收区域又分为两大种类型:一种是部分收集(Partial GC),一种是整堆收集(Full GC)
- 部分收集:不是完整收集整个Java堆的垃圾收集,又分为
- 新生代收集
- 老年代收集
- 混合收集
- 整堆收集
Java堆分代的原因:
分代的唯一理由就是优化GC性能,
7.6 内存分配策略
- 优先分配到Eden
- 大对象直接分配到老年代
- 长期存活的对象分配到老年代
- 动态对象年龄判断
- 空间分配担保
7.7 对象分配过程(TLAB)
- 堆区是线程共享区域,任何线程都可以访问到堆区中的共享数据
- 由于对象实例的创建在JVM中非常繁琐,因此在并发环境下从堆区中划分内存空间是线程不安全的
- 为避免多个线程操作同一地址,需要使用加锁等机制,进而影响分配速度
堆空间常用参数:
-XX:+PrintFlagsInitial : 查看所有的参数的默认初始值
-XX:+PrintFlagsFinal :查看所有的参数的最终值(可能会存在修改,不再是初始值)
具体查看某个参数的指令: jps:查看当前运行中的进程
jinfo -flag SurvivorRatio 进程id
-Xms:初始堆空间内存 (默认为物理内存的1/64)
-Xmx:最大堆空间内存(默认为物理内存的1/4)
-Xmn:设置新生代的大小。(初始值及最大值)
-XX:NewRatio:配置新生代与老年代在堆结构的占比
-XX:SurvivorRatio:设置新生代中Eden和S0/S1空间的比例
-XX:MaxTenuringThreshold:设置新生代垃圾的最大年龄
-XX:+PrintGCDetails:输出详细的GC处理日志
打印gc简要信息:① -XX:+PrintGC ② -verbose:gc
-XX:HandlePromotionFailure:是否设置空间分配担保
八、方法区
8.1 栈、堆、方法区的交互关系
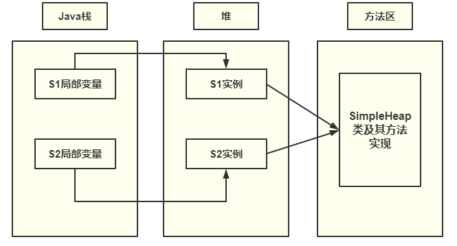
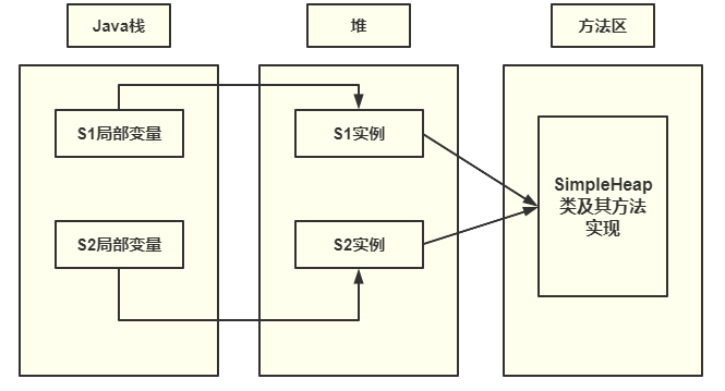
Person person = new Person();
1:方法区 2:栈 3:Java堆
8.2 方法区的理解
方法区看作是一块独立于Java堆的内存空间

- 方法区与Java堆一样,是各个线程共享的内存区域
- 方法区在JVM启动时被创建,并且它的实际的物理内存空间中和Java堆区一样都是可以不连续的
- 方法区的大小、与堆空间一样,可以选择固定大小或者可扩展
- 方法区的大小决定了系统可以保存多少个类,如果系统定义了太多的类,导致方法区溢出,虚拟机同样会抛出内存溢出错误
- 关闭JVM就会释放这个区域的内存
方法区的演进过程:
- jdk1.7前,习惯将方法区称为永久代,jdk8开始,使用元空间取代了永久代
- 本质上,方法区和永久代并不等价
- 元空间与永久代最大的区别在于:元空间不在虚拟机设置的内存中,而是使用本地内存
8.3 设置方法区大小与OOM
-XX:PermSize来设置永久代初始分配空间
-XX:MaxPermSize来设定永久代最大可分分配空间
OOM(内存用完了)的解决:
- 首先确认到底是出现了内存泄漏还是内存溢出
- 是内存泄漏可以通过一些工具查看泄漏对象到GC Roots的引用链
- 如果不存在内存泄漏,则查询虚拟机堆参数等待,尝试减少程序运行期的内存消耗
8.4 方法区的内部结构

方法区主要存储类型信息、常量、静态常量、及时编译器编译后的代码缓存等
运行时常量池:
- 方法区,内部包含了运行时常量池
- 字节码文件,内部包含了常量池
一个有效的字节码文件中除了包含类的版本信息、字段、方法以及接口等描述信息外、还包含一项信息那就是常量池表,包括各种字面量和对类型、域和方法的符号引用
为何要用到常量池:
一个java源文件中的类、接口、编译后产生一个字节码文件。而java中的字节码需要数据支持,通常这种数据会很大以至于不能直接存到字节码里,换另一种方式,可以存到常量池。
- 运行时常量池是方法区一部分
- 常量池表是class文件的一部分,用于存放编译器生成的各种字面量与符号引用,这部分内容将在类加载后存放到方法区的运行时常量池中
8.5 方法区的垃圾回收
- 一般来说方法区的回收效果比较难以令人满意,尤其是类型的卸载,条件相当苛刻
- 方法区的垃圾收集主要回收两部分内容:常量池中废弃的常量和不再使用的类型
九、对象实例化
9.1 实例化的几种方式
创建对象的方式有六种
- new
- 变形1:XXX的静态方法
- 变形2:XXXBuilder/XXXFactory的静态方法
- Class的newInstance():反射的方式,只能调用空参的构造器,权限必须是pubilc
- Constructor的newInstance(xxx):反射的方式,可以调用空参,带参的构造器,权限没有要求
- 使用clone():不调用任何的构造器,当前类需要实现Cloneable接口,实现clone()
- 使用反序列化:文件中、网络中获取一个对象的二进制流
- 第三方库Objenesls
创建对象的步骤:
- 判断对象对应的类是否加载、链接、初始化
- 虚拟机遇到一条new指令,先去检查这个指令的参数能否在常量池中定位到一个类的符号引用,并且检查这个符号引用代表的类是否已经被加载、解析和初始化
- 若没有,那么在双亲委派机制下,实验当前类加载器以ClassLoader+包名+类名为key进行查找对应的.class文件。
- 若没找到,则抛出异常,若找到,则进行类加载,并生成对应的class类对象
- 为对象分配内存
- 首先计算对象占用空间大小,接着在堆中划分一块内存给新对象
- 若内存规整-----指针碰撞
- 若内存不完整
- 虚拟机需要维护一个列表
- 空闲列表分配
- 说明
- 处理并发安全问题
- 采用CAS配上失败重新保证更新的原子性
- 每个线程预先分配一块TLAB
- 设置对象的对象头
- 使用init方法进行初始化
9.2 对象的内存布局
- 对象头
- 运行时元数据
- 哈希值
- GC分代年龄
- 锁状态标志
- 线程持有的锁
- 偏向线程ID
- 偏向时间戳
- 类型指针
- 指向类元数据,确定该对象所属的类型
- 运行时元数据
- 实例数据
- 说明:它是对象真正存储的有效信息,包括程序代码中定义的各种类型的字段
- 规则
- 相同宽度的字段总是被分配在一起
- 父类中定义的变量会出现在子类之前
- 若CompactFields参数为true;子类的窄变量可能插入到父类变量的空隙
- 对齐填充
- 不是必须的,也没特别含义,仅仅起到占位符的作用
十、执行引擎
10.1 执行引擎概述
- 执行引擎是Java虚拟机核心的组成部分之一
- “虚拟机”是一个相对于“物理机”的概念,这两种机器都有代码执行能力,其区别是物理机的执行引擎是直接建立在处理器】缓存、指令集和操作系统层面上的,而虚拟机的执行引擎则是由软件自行实现的,因此可以不受物理条件限制,能够执行那些不被硬件直接支持的指令集格式。
- JVM主要的任务是复制转载字节码到其内部,但字节码并不能够直接运行在操作系统之上,因为字节码指令并非等价于本地机器指令,它内部包含的仅仅只是一些能够被JVM所识别的字节码指令、符号表,以及其他辅助信息
- 执行引擎的任务就是将字节码指令解释/编译为对应平台上的本地机器指令才可以
10.2 Java代码编译和执行
源代码--词法分析器--Token流--语法分析器--语法树/抽象语法树--语义分析器--注解抽象语法树--字节码生成器--JVM字节码
解释器:但Java虚拟机启动时会根据预定义的规范,对字节码采用逐行解释的方式执行,将每条字节码文件中的内容“翻译”为对应平台的本地机器指令执行
JIT编译器:就是虚拟机将源代码直接编译成和本地机器平台相关的机器语言
Java是半编译半解析器型语言:
Java1.0时,是“解释执行的”,但是后期java可以直接生成本地代码的编译器
10.3 机器码、指令、汇编语言
指令集:不同的硬件平台,各自支持的指令,是有差别的。因此每个平台所支持的指令,称之为对应平台的指令集
10.4 解释器
Java设计者们初衷仅仅是为了满足跨平台性,所以避免采用静态编译的方式直接生成本地机器指令,从而诞生了实现解释器在运行时采用逐行解释字节码执行程序的想法
字节码:
- 是一种中间状态的二进制代码,比机器码更抽象,需要直译器转译后才能称为机器码
- 字节码主要为了实现特定软件运行和软件环境、与硬件无关
- 字节码的实现方式是通过编译器和虚拟机器。编译器将源码编译成字节码
10.5 JIT编译器
HotSpot VM是目前市面上高性能虚拟机的代表作之一。它采用解释器与即使编译器并存的架构。在java虚拟机运行时,解释器和即使编译器能够相互协作,各自取长补短,尽力去选择最合适的方式来权衡编译本地代码的时间和直接解释执行代码的时间。
十一、SpringTable
11.1 String的基本特性
-
String:字符串,使用一对“”引起来表示
-
String声明为final的,不可被继承
-
String实现了Serializable接口:表示字符串是支持序列化的,
实现了Comparable接口:表示String可以比较大小
-
String在jdk8以前内部定义了final char[] value用于存储字符串数据。jdk9改为byte[]
@Test
public void test1() {
String s1 = "abc"; //存储在常量池中
String s2 = "abc"; //常量池中不允许有重复的值,地址一样
//s1 = "hello";
System.out.println(s1 == s2); //true
}
!!!!!!!
package cn.demo1;
public class StringExer {
String str = new String("good");
char[] ch = {'t','e','s','t'};
public void change(String str, char[] ch) {
str = "test ok";
ch[0] = 'b';
}
public static void main(String[] args) {
StringExer stringExer = new StringExer();
stringExer.change(stringExer.str, stringExer.ch);
System.out.println(stringExer.str); //good
System.out.println(stringExer.ch); //best
}
}
字符串常量池中是不会存储相同内容的字符串的
String的String Pool是一个固定大小的Hashtable,默认值大小长度是1009(jdk6),如果放进StringPool的String非常多,就会造成Hash冲突严重,从而导致链表会分长,而链表长了后直接会造成的影响就是当调用String。intern时性能会大幅下降
11.2 String的内存分配
- 在Java语言中有8种基本数据类型和一种比较特殊的类型String,这些类型为了使他们在运行过程种速度更快、更节省内存,都提供了一种常量池概念
- 常量池就类似于一个Java系统级别提供的缓存。8种基本数据类型的常量池就是系统协调的,String类型的常量池比较特殊。它的主要使用方法有两种
- 使用双引号
- intern()方法
JDK6以前,字符串常量池存在永久代,1.7以后调整到Java堆中
- 所有字符串都保存在堆中
11.3 String的基本操作
package cn.demo1;
import org.junit.jupiter.api.Test;
public class StringExer {
String str = new String("good");
char[] ch = {'t','e','s','t'};
public void change(String str, char[] ch) {
str = "test ok";
ch[0] = 'b';
}
public static void main(String[] args) {
StringExer stringExer = new StringExer();
stringExer.change(stringExer.str, stringExer.ch);
System.out.println(stringExer.str); //good
System.out.println(stringExer.ch); //best
}
@Test
public void test1() {
System.out.println("1");
System.out.println("2");
System.out.println("3");
System.out.println("4");
System.out.println("5");
System.out.println("6");
System.out.println("7");
System.out.println("8");
System.out.println("9");
System.out.println("10");
//如下的字符串并不重新加载
System.out.println("1");
System.out.println("2");
System.out.println("3");
System.out.println("4");
System.out.println("5");
System.out.println("6");
System.out.println("7");
System.out.println("8");
System.out.println("9");
System.out.println("10");
}
}
11.4 字符串拼接操作
- 常量与常量的拼接结果在常量池,原理是编译器优化
- 常量池中不会存在相同内容的常量
- 只要其中有一个是变量,结果就在堆中。变量拼接的原理是stringBuilder
- 如果拼接的结果调用intern()方法,则主动将常量池中还没有的字符串对象放入池中,并返回此对象地址
通过StringBuilder的append()的方式添加字符串的效率要远高于使用String的字符串拼接方式!
- 使用StringBuilder的append()方式:自始至终只创建过一个StringBuilder的对象
- 使用String的字符串拼接方式:创建过多个StringBuilder和String的对象
11.5 intern()的使用
面试题:new String("ab")会创建几个对象?
两个,一个是new关键字在堆空间创建的,另一个是字符串常量池中的对象
面试难题:
package cn.demo1;
public class Test3 {
public static void main(String[] args) {
String s = new String("1");
s.intern(); //调用此方法之前,字符串常量池中已经存在“1”
String s2 = "1";
System.out.println(s == s2); //jdk6:false jdk7/8:false
String s3 = new String("1") + new String("1");
//s3变量记录的地址为:new String("11")
//字符串常量池中,不存在11
s3.intern(); //使在字符串常量池中生成11
String s4 = "11"; //使用的是上一行代码执行时,常量池生成的“11”地址
System.out.println(s3 == s4); //jdk6:false jdk7/8:false
}
}
intern()方法的使用:
-
jdk1.6
若串池中有,则并不会放入,返回已有的串池中的对象的地址
若没有,会把此对象复制一份,放入串池,并返回串池中对象地址
-
jdk1.7
若串池中有,则并不会放入。返回已有的串池中的对象的地址
若没有,则会把对象的引用地址复制一份,放入串池,并返回串池中的引用地址
package cn.demo1;
public class Test4 {
public static void main(String[] args) {
String s = new String("a") + new String("b");
//上一行代码执行完之后,字符串常量池中并没有“ab”
String s2 = s.intern();
//jdk1.6,在串池中创建一个字符串“ab”
//jdk1.8,串池中没有创建字符串“ab”,而是创建一个引用,指向new String
System.out.println(s2 == "ab"); //true
System.out.println(s == "ab"); //true
}
}
十二、垃圾回收概述
12.1 什么是垃圾
- 垃圾是指在运行程序中没有任何指针指向的对象
- 若不及时对内存的垃圾进行清理,那么,这些垃圾对象所占的内存空间会一直保留到应用程序结束,可能会导致内存溢出
12.2 为什么需要GC
- 对于高级语言来说,不进行垃圾回收,内存迟早会被消耗完
- 没有GC就不能保证应用程序的正常进行
12.3 早期垃圾回收
略
12.4 Java垃圾回收机制
Java堆是垃圾收集器的工作重点
- 频繁收集Young区
- 较少收集Old区
- 基本不动Perm区
十三、垃圾回收相关算法
在堆里几乎存在所有的Java对象实例,在GC指向垃圾回收之前,首先需要区分出内存中哪些是存活对象,哪些是已经死亡的对象。只有被标记为已经死亡的对象,GC才会在执行垃圾回收时,释放掉其所占用的内存空间,因此这个过程我们称为垃圾标记阶段。
判断对象存活方式一般有两种:
- 引用计数算法
- 可达性分析算法
13.1 标记阶段:引用计数算法
每个对象保存一个整型的引用计数器属性。用于记录对象被引用的情况
-
对于一个对象A,只要有任何一个对象引用了A,A的引用计数器就+1,当引用失效时,引用计数器就减1。只要对象A的引用计数器的值为0,即表示对象A不可能再被使用,可进行回收
-
优点:实现简单,垃圾对象便于辨识,回收没有延迟
-
缺点:需要单独的字段存储计数器,会增加存储空间的开销
增加时间开销,还有一个严重的问题!无法处理循环引用的情况
13.2 标记阶段:可达性分析算法
相比较于引用计数算法而言,可达性分析算法不仅同样具备实现简单和执行高效等特点,更0重要的是该算法可以有效地解决在引用计数算法中循环引用的问题,防止内存泄漏发生。
Java选择的就是可达性分析算法(又称为追踪性垃圾收集、根搜索算法)
“GC Roots”根集合就是一组必须活跃的引用
基本思路:
- 可达性分析算法是以根对象集合为起始点,按照从上至下的方式搜索被根对象集合所连接的目标对象是否可达
- 使用可达性分析算法后,内存中的存活对象都会被根对象集合直接或间接连接着,搜索所走过的路径称为引用链
- 如果目标对象没有任何引用链相连,则是不可达的,就意味着该对象已经死亡,可以标记为垃圾对象
- 在可达性分析算法中,只有能够被根对象集合直接或者间接连接的对象才是存活对象
在Java语言中,GC Roots包括以下几类元素:
- 虚拟机栈中引用的对象
- 本地方法栈内JNI引用的对象
- 方法区中类静态属性引用的对象
- 方法区中常量引用的对象
- 所有被同步锁synchronized持有的对象
- java虚拟机内部的引用
- 反映java虚拟机内部情况的JMXBean、JVMTI中注册的回调、本地代码缓存等
由于Root 使用栈方式存放变量和指针,所以如果一个指针,它保存了堆内存里面的对象,但是自己又不存放在堆内存里面,那它就是一个Root
注意:
- 如果要使用可达性分析算法来判断内存是否可回收,那么分析工作必须在一个保障一致性的快照中进行,这点不满足的话分析结果的准确性就无法保证
- 这点也是导致GC进行时必须“stop the world”的一个重要原因
13.3 对象的finalization机制
- Java语言提供了对象终止机制来允许开发人员提供对象被销毁之前的自定义处理逻辑
- 当垃圾回收器发现没有引用指向一个对象,即:垃圾回收此对象之前,总会先调用这个对象的finalize()方法
- finalize()方法允许在子类中被重写,用于在对象被回收时进行资源释放
永远不要主动调用某个对象和finalize()方法!!!!!!!
- 在finalize()时可能会导致对象复活
- finalize()方法的执行时间是没有保障的,它完全由GC线程决定,极端情况下,若不发生GC,则finalize()方法将没有执行机会
- 一个糟糕的finalize()会严重影响GC的性能
由于finalize()方法的存在,虚拟机中的对象一般处于三种可能的状态
一个对象可能会起死回生,处于“缓刑阶段”:
- 可触及的
- 可复活的
- 不可触及的(finalize() 只会被调用一次)
判定一个对象objA是否可回收,至少要经历两次标记过程:
- 若对象objA到 GC Roots没有引用链,则进行第一次标记
- 进行筛选,判断此对象是否有必要执行finalize()方法
- 若没有重写,或者该方法已经被虚拟机调用过,则不可触及
- 若重写了,还未执行过,则触发该方法
- finalize()方法是对象逃脱死亡的最后机会
13.4 MAT与JProfiler的GC Roots朔源
略
13.5 清除阶段:标记-清除算法
当成功区分出内存中存活对象和死亡对象后,GC接下来的任务就是执行垃圾回收,释放掉无用对象所占用的内存空间,以便有足够的可用内存空间为新对象分配内存。
目前在JVM比较常见的三种垃圾收集算法是:
- 标记-清除算法
- 复制算法
- 标记-压缩算法
背景:
标记-清除算法是一种非常基础和常见的垃圾收集算法
执行过程:
当堆空间的有效内存空间被耗尽时,就会停止整个程序,然后进行两项工作,第一是标记,第二是清除
- 标记:Collector从引用根节点开始遍历,标记所有被引用的对象。一般是在对象的Header中记录为可达对象
- 清除:Collector对堆内存从头到尾进行线性的遍历,如果发现某个对象在其Header中没有标记为可达对象,则将其回收
缺点:
- 效率低
- 在进行GC时,需要停止整个应用程序,导致用于体验差
13.6 清除阶段:复制算法
背景:
为了解决标记-清除算法在收集效率方面的缺陷提出的
核心思想:
将活着的内存空间分为两块,每次只使用其中一块,在垃圾回收时将正在使用的内存中的存活对象复制到未被使用的内存块中,之后清除正在使用的内存块中的所有对象,交换两个内存的角色,最后完成垃圾回收
优点:
- 没有标记和清除过程,实现简单,运行高效
- 复制过去以后保证空间的连续性,不会出现“碎片”问题
缺点:
- 此算法的缺点也是很明显的,需要两倍内存空间
- 占用时间
!!!若系统中垃圾对象很多,复制算法需要复制的存活对象数量并不会太大,或者说非常低才行
13.7 清除阶段:标记-压缩算法
背景:
复制算法的高效性是建立在:存活对象少、垃圾对象多的前提下,这种情况多发生在新生代,但是老年代存活的对象非常多,复制的成本也会很高,因此,基于老年代垃圾回收的特性,需要使用其他算法
执行过程:
- 第一阶段和标记-清除算法一样,从根节点开始标记所有被引用对象
- 第二阶段将所有的存活对象压缩到内存的一段,按照顺序排放
- 之后,清理边界外所有的空间
标记-压缩算法的最终效果等同于标记-清除算法执行完成后,再进行一次内存碎片整理
二者的本质差异在于:标记-清除算法是一种非移动式的回收算法,标记-压缩是移动式的
优点:
- 消除了标记-清除算法当中,内存区域分散的缺点,我们需要给新对象分配内存时,JVM只需要持有一个内存的起始地址即可
- 消除了复制算法当中,内存减半的高额代价
缺点:
- 效率上说,标记-整理算法要低于复制算法
- 移动对象的同时,若被其他对象引用,还需要调整引用的地址
- 移动过程中,需要全程暂停用于应用程序
13.8 总结
- 效率上来说,复制算法最强,但是最浪费内存
- 标记-整理算法最平滑一些,但是效率上不尽如人意,他比复制算法多了一个标记的阶段,比标记-清除多了一个整理内存的阶段
13.9 分代收集算法
不同的对象的生命周期是不一样的,因此,不同生命周期的对象可以采用不同的收集方式,以便提高回收效率。
目前几乎所有的GC都是采用分代收集算法执行垃圾回收的
几乎所有的垃圾回收器都区分新生代、老年代
13.X 增量收集算法、分区算法
若一次性将所有的垃圾进行处理,需要造成系统长时间的停顿,那么就可以让垃圾收集线程和应用程序线程交替执行,每次,垃圾收集线程只收集一小片区域的内存空间,接着切换到应用程序线程。依次反复,直到垃圾收集完成
缺点就是会造成系统吞吐量的下降!
十四、垃圾回收相关概念
14.1 System.gc()的理解
- 默认,System.gc()或者Runtime.getRuntime().gc()的调用,会显式触发Full GC,同时对老年代和新生代进行回收,尝试释放被丢弃对象占用的内存
- 然而System.gc()调用附带一个免责声明,无法保证对垃圾收集器的调用
- JVM实现者可以通过System.gc()调用来觉得JVM的GC行为。而一般情况下,垃圾回收应该是自动进行的,无需手动触发,否则就太过于麻烦了
14.2 内存溢出(OOM)与内存泄漏(Memory Leak)
内存溢出:
- 内存溢出相对于内存泄漏来说
- 一般情况下,不可能发生OOM的情况
- 一般情况下,GC会进行各种年龄段的垃圾回收,实在不行直接独占式的Full GC操作
- 没有空闲内存,并且垃圾收集器也无法提供更多内存’
Java虚拟机的堆内存不够:
- Java虚拟机堆内存设置不够
- 代码中创建了大量大对象,并且长时间不能够被垃圾收集器收集
内存泄漏:
- 对象不会被程序用到了,但是GC又不能回收他们的情况,才叫内存泄漏
- 实际情况会导致OOM,也叫做“内存泄漏”
- 内存泄漏可能会耗尽内存,最终出现OutOfMemory异常
- 这里的存储空间指的是虚拟机内存大小
14.3 Stop The World
- Stop-the-World,简称STW,指的是GC事件发生过程中,会产生应用程序的停顿。停顿产生整个应用程序线程都会被暂停,没有任何响应
- 被STW中断的应用程序线程会在完成GC之后恢复
14.4 垃圾回收的并行与并发
并发:
- 一个时间段内有几个程序都处于已启动运行到运行完毕之间,且这几个程序都是在同一个处理器上运行
- 并发不是真正意义上的“同时进行”,只是CPU把一个时间段划分成几个时间片段,然后在这几个时间区间之间来回切换,由于CPU处理的速度非常快,只要时间间隔处理得当,即可让用户感觉是多个应用程序同时在进行
并行:
- 当系统有一个以上CPU时,当一个CPU执行一个进程时,另一个CPU可以执行另一个进程,两个进程互不抢占CPU资源,可以同时进行,称为并行
- 其实决定并行的因素不是CPU的数量,而是CPU的核心数量,比如一个CPU多个核也可以并行
- 适合科学计算,后台处理等弱交互场景
二者对比:
并发指的是多个事情,在同一时间段内同时发生了
并行指的是多个事情,在同一时间点上同时发生了
并发互相抢占资源、并行不抢资源
垃圾回收的并发与并行:
- 并行:指多条垃圾收集线程并行工作,但此时用于线程仍处于等待状态
- 串行
- 相较于并行的概念,单线程执行
- 若内存不够,则程序暂停,启动JVM垃圾回收器进行垃圾回收,回收完,再启动进程
- 并发:指用于线程和垃圾收集线程同时执行
- 用户程序在继续运行,而垃圾收集线程运行于另一个CPU上
- eg:G1
14.5 安全点与安全区域
程序执行时并非在所有地方都能停顿下来开始GC,只有在特定的位置才能停顿下来开始GC,这些位置称为“安全点(Safepoint)”
SafePoint的选择很重要!,太小可能导致GC等待的时间太长,太频繁可能导致运行时的性能问题。
如何在GC发生时,检查所有线程都跑到最近的安全点停顿下来呢?
- 抢先式中断(淘汰!):首先中断所有线程,若还有线程不在安全点,就恢复线程,让线程跑到安全点
- 主动式中断:设置一个中断标志!!!
安全区域(Safe Region):
安全区域是指一段代码片段中,对象的引用关系不会发生变化,在这个区域中的任何位置开始GC都是安全的
实例执行时:
- 当线程运行到Safe Region的代码时,首先标识已经进入了Safe Region,如果这段时间内发生GC,JVM会忽略标识为Safe Region状态的线程
- 当线程即将离开Safe Region时,会检查JVM是否已经完成GC,如果完成了,则继续运行,否则线程必须等待直到收到可以安全离开安全区域信号为止!
14.6 强引用
Reference子类中只有终结器引用是包内可见的,其他3种引用类型均为public,可以在应用程序中直接使用
-
强引用:传统“引用”,eg: "Object obj = new Object()"
无论如何,只要强引用关系还存在,垃圾收集器就永远不会回收掉被引用的对象
-
软引用:在系统将要发生内存溢出之前,将会把这些对象列入回收范围之中进行第二次回收,若这次回收后还没有足够的内存,才会抛出内存溢出异常
-
弱引用:被若引用关联的对象只能生存到下一次垃圾收集之前。当垃圾收集器工作时,无论内存空间足够,都会回收掉被弱引用关联的对象
-
虚引用:一个对象是否有虚引用的存在,完全不会对其生存时间构成影响,也无法通过虚引用来获得一个对象的实例。为一个对象设置虚引用关联的唯一目的就是在这个对象被回收时收到一个系统通知
在Java中,最常见的就是强引用,也就是我们最常见的普通对象引用,就是默认的引用类型
强引用的对象是可触及的,垃圾收集器就永远不会回收掉被引用的对象
强引用是造成Java内存泄漏的主要原因之一
强引用具备的特点:
- 强引用可以直接访问目标对象
- 强引用所指向的对象在任何时候都不会被系统回收,虚拟机宁愿抛出OOM异常,也不会回收强引用所指向对象
- 强引用可能导致内存泄漏
14.7 软引用
软引用用来描述一些还有用,但非必需的对象。只被软引用关联着的对象,在系统将要发生内存溢出异常前,会把这些对象列进回收范围之中进行第二次回收,如果这次回收还没有足够的内存,才会抛出内存溢出异常。
软引用通常用来实现内存敏感的缓存:高速缓存
java虚拟机会尽可能让软引用存活时间长一些,迫不及待才清理
14.8 弱引用
弱引用也是用来描述非必须对象,被弱引用关联的对象只能生存到下一次垃圾收集发生为止。
即!发现就回收!另外,弱引用对象可以存在较长的时间
软引用,弱引用都非常适合来保存那些可有可无的缓存数据
弱引用与软引用的最大区别就是:弱引用对象更容易、更快被GC回收
14.9 虚引用
最弱引用,不能够单独使用,get()总是null
必须和引用队列一起使用,虚引用在创建时必须提供一个引用队列作为参数。当垃圾回收器准备回收一个对象时,若发现其有虚引用,就会将这个虚引用加入引用队列
14.X 终结器引用
- 他用以实现对象的finalize()方法,也可以称为终结器引用
- 无需手动编码,其内部配合引用队列使用
- 在GC时,终结器引用入队。由Finalizer线程通过终结器引用找到被引用对象并调用它的finalize()方法,第二次GC时才能回收被引用对象
十五、垃圾回收器
- 垃圾收集器没有在规范中进行过多的规定,可以由不同的厂商、不用版本的JVM来实现
- 不同角度下分析垃圾收集器,可以将GC分为不同的类型
按线程分:串行垃圾回收期、并行垃圾回收器
串行回收指的是同一时间段内只允许有一个cpu用于执行垃圾回收操作,此时工作线程被暂停,直至垃圾收集工作结束
- 串行回收默认被应用在客户端的clinet模型下的JVM中
按照工作模式分,可以分为并发式垃圾回收器和独占式垃圾回收器
- 并发式垃圾回收器与应用程序线程交替工作,减少停顿
按照碎片处理方式分,可以分为压缩式垃圾回收器和非压缩式垃圾回收器
按工作的内存区间分,又可分为年轻代垃圾回收器和老年代垃圾回收器
15.1 GC分类与性能指标
- 吞吐量:运行用户代码的时间占重运行时间的比例
- 垃圾收集开销:吞吐量的补数,垃圾收集所用时间与总运行时间的比例
- 暂停时间:执行垃圾收集时,程序的工作线程被暂停的时间
- 收集频率:相对于应用程序的执行,收集操作发生的频率
- 内存占用:Java堆区所占的内存大小
- 快速:一个对象从诞生到被回收所经历的时间
其中,吞吐量、暂停时间、内存占用这三者共同构成一个“不可能三角”。三者总体的表现会随着技术进步而越来越好。一款优秀的收集器通常最多同时满足其中的两项。
这三项里,暂停时间的重要性日益凸显!
主要抓住两点:
- 吞吐量
- 暂停时间
吞吐量:
吞吐量就是CPU用于运行用户代码的时间与CPU总消耗时间的比值,即吞吐量 = 运行用户代码时间 / (运行用户代码时间 + 垃圾收集时间)
- eg:虚拟机运行100分钟,垃圾收集1分钟,则吞吐量 = 99%
吞吐量优先,意味着在单位时间内,STW的时间最短
吞吐量与暂停时间是一对相互竞争的目标
- 若选择以吞吐量优先,那么必然需要降低内存回收的执行频率
- 若选择以低延迟优先为原则,只能频繁的执行内存回收
目前的标准:在最大吞吐量优先的情况下,降低停顿时间
15.2 不同的垃圾回收器概述
- 串行回收器:Serial、Serial Old
- 并行回收器:ParNew、Parallel、Scavenge、Paralled Old
- 并发回收期:GMS、G1
查看默认垃圾收集器:
- -XX:+PrintCommandLineFlags:查看命令行相关参数
- jinfo -flag 参数 进程ID
15.3 Serial回收器:串行回收
- 最基本、历史最悠久的垃圾回收期
- 采用复制算法、串行回收方式执行内存回收
- 除了年轻代,同时还提供老年代垃圾收集器
- 单线程
15.4 ParNew回收器:并行回收
- 多线程
15.5 Parallel回收器:吞吐量优先
- 吞吐量优先