混合密码系统
1. 混合密码系统
通过使用混合密码系统,就能在通信过程中将对称密码和公钥密码的优势结合。
2. 混合密码系统的组成机制
a. 用对称密码加密消息。
b. 通过伪随机数生成器生成对称加密中使用的会话密钥。
c. 用公钥密码加密会话密钥。
d. 从混合密码系统外部赋予公钥密码加密时使用的密钥。
3. 使用的技术
a. 伪随机数生成器 b. 对称密码 c. 公钥密码
4. 加密

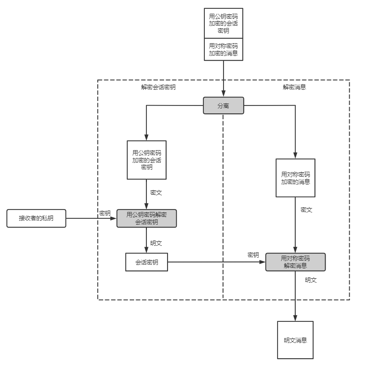
5. 解密

6. 会话密钥指本次通信生成的临时密钥,一般通过伪随机数生成器产生。
7. 混合密码系统解决了公钥密码速度慢的问题,并通过公钥密码解决了对称密码配送问题。PGP和SSL/TLS都运用了混合密码系统。
8. 高强度的混合密码系统
运用了伪随机数生成器,对称密码和公钥密码。每一种技术的强度都很重要,并且要素之间的平衡也很重要。
公钥密码的强度应该高于对称密码的强度。

浙公网安备 33010602011771号