阿里云服务器安装宝塔面板和配置安全组
http://blog.csdn.net/LIU_YANZHAO/article/details/78965061
今天在阿里云买了一台学生机,9.9一个月,对啦,感谢昨天有个朋友匿名给我打赏了20。
下面稍微介绍一下如何使用阿里云服务器安装宝塔面板。
一、准备
阿里云的云服务器,即 ECS,默认的用户名 root,密码的话可以修改。
连接 ssh,使用的是公网ip。
二、安装面板
1、首先使用ssh工具,windows下可以使用Xshell,macOs的可以使用终端。
输入(红色部分为公网ip)
ssh -q -l root -p 22 110.112.65.205
然后输入密码(密码不会显示,输完后回车即可。如果一直是密码错误,先确保阿里的后台的远程连接是否有用。有时候需要等一会儿,或者重启一次,稍等一会儿,才有用)
2、键入安装的命令
安装方法这里也有介绍:http://www.bt.cn/bbs/thread-1186-1-1.html
Centos安装脚本:
yum install -y wget && wget -O install.sh http://download.bt.cn/install/install.sh && sh install.sh
Ubuntu/Deepin安装脚本:
wget -O install.sh http://download.bt.cn/install/install-ubuntu.sh && sudo bash install.sh
Debian安装脚本:
wget -O install.sh http://download.bt.cn/install/install-ubuntu.sh && bash install.sh
Fedora安装脚本:
wget -O install.sh http://download.bt.cn/install/install.sh && bash install.sh
前两者偏多。根据操作系统输入不同的安装命令,然后回车
此间不需要任何操作。
3、稍等一分钟(有时候网速差可能久一点),然后不要关闭窗口
最终可以看到如下界面
这里会显示宝塔后台地址和账号密码,可以手动复制到记事本暂时存起来。
三、配置安全组
上面的黄色的字也说了,如果不能访问面板,请在安全组中放行端口。
因为刚装的系统,自然也没有放行8888端口,面板后台无法打开
下面我们添加安全组
1、进入服务器(实例)主页
点击右边的查看更多
2、然后可以看到一条安全组(如果没有就新建)
点击配置规则
3、点击 快速创建规则
4、可以看到如下页面
常用端口可以勾选,相当于多选。也可以自定义端口,比如我们要将8888和888添加进去。
授权对象像之前已经填的 0.0.0.0/0 一样。
基本就是这样。
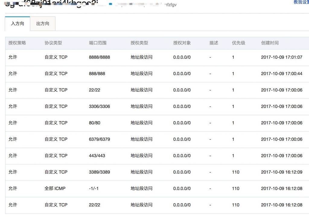
5、最终安全记录如下(好像有重复啦)
6、然后我们再刷新之前的网页就能正常啦
本文地址:https://liuyanzhao.com/6323.html
宝塔linux忘记面板登陆账号和密码该如何重置
| 有时候在面板里修改了账号或者密码,退出后回头又忘记了,该如何重置呢 方法如下: [代码]py代码:
注:若是debian/ubuntu用户,请使用有root权限的账户去执行这条命令 紫框即你要修改的密码 红框即面板账户 如果提示多次登录失败,暂时禁止登录 请输入以下命令 清除登录限制 [代码]py代码:
|


浙公网安备 33010602011771号