synchronized实现原理
synchronized关键字在java并发编程中极其重要,我们常常误认为synchronized就是重量级锁,其实在jdk6以后就对synchronized做了很多优化,包括偏向锁、轻量锁、自旋优化、锁升级等。
对象头
关于synchronized的锁信息都是记录在java的对象头中的。java中的对象由对象头(Header)、实例数据(Instance Data)和对齐填充(Padding)组成。对象头主要记录了类信息、hashcode、分代年龄、锁信息等。
对象头结构
| 长度 | 字段 | 说明 |
|---|---|---|
| 32/64bit | Mark Word | 存储对象的hashcode、年龄等信息 |
| 32/64bit | Class Metadata Address | 指向类对象的指针 |
| 32/64bit | ArrayLength | 数组长度(该对象是数组) |
Markword
Markword记录了对象的基本信息和锁相关信息
| 锁状态 | 25bit | 4bit | 是否偏向 | 标记位 |
|---|---|---|---|---|
| 无锁 | hashcode | 分代年龄 | 0 | 01 |
| 偏向锁 | 线程ID+Epoch | 分代年龄 | 1 | 01 |
| 轻量级锁 | 指向栈中 | 锁记录 | 指针 | 00 |
| 重量级锁 | 指向 | 互斥量 | 指针 | 10 |
| GC标记 | 11 |
如何查看对象头
使用jol的ClassLayout查看对象头内容。
Maven依赖:
<dependency>
<groupId>org.openjdk.jol</groupId>
<artifactId>jol-core</artifactId>
<version>0.8</version>
</dependency>
打印对象头:
Object lock = new Object();
System.out.println(ClassLayout.parseInstance(lock).toPrintable());
显示结果:
java.lang.Object object internals:
OFFSET SIZE TYPE DESCRIPTION VALUE
0 4 (object header) 01 00 00 00 (00000001 00000000 00000000 00000000) (1)
4 4 (object header) 00 00 00 00 (00000000 00000000 00000000 00000000) (0)
8 4 (object header) e5 01 00 f8 (11100101 00000001 00000000 11111000) (-134217243)
12 4 (loss due to the next object alignment)
Instance size: 16 bytes
Space losses: 0 bytes internal + 4 bytes external = 4 bytes total
偏向锁
经过研究发现,大多数情况下锁不仅不出现竞争,而且总是一个线程多次获得。为了减少获得锁的成本,jvm提供了偏向锁。
顾名思义,偏向锁是偏向一个线程的锁。当想要获取锁时,会使用CAS操作在MarkWord中记录偏向的线程ID。以后的加锁和释放就不再需要CAS操作,只需要判断一下MarkWord的线程ID即可加锁。
简单地说,偏向锁的思路就像是在门上贴上名字,以后看到是自己的名字就不用再上锁或开锁直接进门。
偏向加锁过程
- 判断MarkWord的ThreadID是否是自己的ID
- 不是则用CAS替换ThreadID
- 是则获得锁,进入同步代码块执行
撤销偏向
撤销偏向发生在出现锁竞争的时候。当一个线程使用CAS替换线程ID失败时触发撤销偏向。
- 首先会等待原持有锁线程进入全局安全点(该时间点没有字节码执行)
- 然后判断该线程是否已经退出同步块
- 如果已退出,则释放偏向锁,然后让当前竞争锁的线程再次尝试获取偏向锁
- 如果没有退出,则生成锁记录,然后升级为轻量级锁
与偏向锁相关jvm参数
偏向锁是默认开启的,不过它会在程序启动后的几秒钟后才启动。
- -XX:UseBiasedLocking=false:关闭偏向锁
- -XX:BiasedLockingStartupDelay=0:调整偏向锁延迟启动
总结
- 偏向锁主要出现在没有锁竞争的场景
- 偏向锁的实现是在MarkWord中用CAS操作记录线程ID
- 发生竞争后会触发撤销偏向
轻量级锁
轻量级锁出现在存在竞争,但是竞争不激烈,即线程之间大致是交替执行的场景。
轻量级锁通过在锁记录、CAS、MarkWord实现了锁机制,还通过自旋进行了优化。
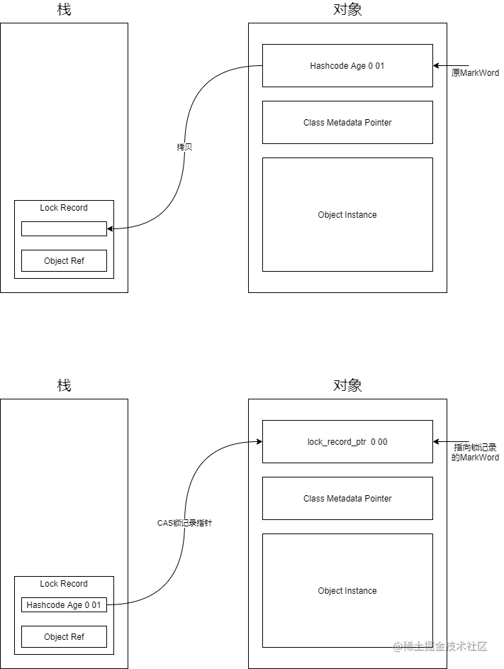
锁记录(Lock Record)
使用轻量级锁时,线程会在栈中生成锁记录,并将锁对象头中的原MarkWord拷贝到锁记录中。
所以锁记录除了基本的线程信息还包括了锁对象的MarkWord。
加锁过程
- 线程会先在栈中生成LockRecord,并将对象的原MarkWord拷贝到LockRecord中。比如图上的线程将无锁状态的带有hashcode、age的Markword拷贝到了LockRecord中
- 线程会使用CAS操作尝试将MarkWord的字段替换为指向自己锁记录的指针,然后改变状态为为00
- 如果步骤2 成功,线程加轻量级锁成功。如果失败,表示有竞争发生,这时线程不会立即阻塞,而是以自旋的方式继续尝试
自旋优化
之前提过,轻量级锁存在的场景是线程很少发生竞争,即线程近似交替执行。所以在轻量级锁的情况下,线程不会因为竞争锁失败就立即阻塞。它会进入自旋,即再次尝试CAS替换锁记录。只有当自旋超过一定次数后,jvm才会认为竞争已经超过了轻量级锁的能力而升级为重量级锁。
自旋优化更适合多核CPU下进行,通过让线程空转(自旋)来避免阻塞会占用CPU,所以在单核CPU中,自旋会带来频繁的上下文切换,效率不一定高。
总结
- 轻量级锁解决的是线程之间竞争很少,即线程可以近似看作交替执行的场景。
- 轻量级锁通过锁记录实现,加锁先拷贝MarkWord再用CAS替换锁记录指针。
- 自旋优化是在CAS替换失败后的再次尝试,在多核CPU下性能更佳。
锁膨胀
当超过自旋次数上限还没有竞争到锁时,轻量级锁会升级为重量级锁。升级的过程称为锁膨胀。
锁膨胀的目的是要生成重量级锁的Monitor,所以过程如下:
- 生成Monitor,将Owner设置为当前持有轻量级锁的线程,线程通过锁记录指针找到
- 将锁对象MarkWord改为指向Monitor的指针,状态改为10
- 将竞争失败的线程放入Monitor的EntryList阻塞
重量级锁
重量级锁是通过操作系统的互斥量和管程机制实现的,所以要创建和管理一个重量级锁有很大的成本,这也是为什么jvm要用偏向和轻量级锁来优化synchronized。
重量级锁的Monitor如图,锁对象通过MarkWord中的指针与Monitor关联。Monitor中的主要几个结构有Owner、EntryList、WaitSet
- Owner:当前持有锁的线程
- EntryList:阻塞队列,所有竞争锁失败的线程会记录在这个队列中,虽然是队列结构,但是锁的竞争不是公平的。当持有锁线程释放锁后,entryList中的所有线程会再次竞争,不是按照先来先得的顺序获得锁。
- WaitSet:调用wait()方法释放锁并进入等待的线程会在该集合中。只有当持有锁线程调用notify()或notifyAll()才会离开WaitSet然后进行竞争。注意,唤醒后不会直接执行,而是会经历又一次竞争。

浙公网安备 33010602011771号