shell规范写法与变量
shell规范写法与变量
一、shell脚本概述
1、shell是什么?
Shell是一个特殊的应用程序,它介于操作系统内核与用户之间,充当了一个“命令解释器”的角色,负责接收用户输入的操作令(命令)并进行解释,将需要执行的操作传递给内核执行,并输出执行
果。
Bash(/bin/bash)是目前大多数 Linux 版本采用的默认 Shell。
不同shell的内部指令、运行环境会有区别。

2、shell脚本的概念
将要执行的命令按顺序保存到一个文本文件
需要给该文件可执行权限
可结合各种Shell控制语句以完成更复杂的操作
3、Shell脚本应用场景
重复性操作
交互性任务
批量事务处理
服务运行状态监控
定时任务执行
等
二、Shell脚本的编写
1、编写脚本的代码
使用vim文本编辑器
编写时,每条linux命令按照执行顺序依次编写(每条命令独占一行)
示例:
vim /root/first.sh #编辑一个脚本文件,一般脚本文件都以“.sh”结尾,方便辨识
#!/bin/bash #脚本声明
#This is my first Shell-Script. #注释信息
echo "当前的目录位置位于:" #可执行语句
pwd
1.脚本申明(解释器):若第一行为“#!/bin/bash”,表示此行以下的代码语句是通过/bin/bash程序来解释执行,#!/bin/bash为默认解释器。还有其它类型的解释器,比如#!/usr/bin/python、#!/usr/bin/expect。
2.注释信息:以“#”开头的语句表示为注释信息,被注释的语句在运行脚本时不会被执行。
3.可执行语句:比如echo命令,用于输出" "之间的字符串

2、Shell脚本的执行
方法一:指定路径的命令,要求文件必须有 x 权限。
chmod +x /root/first.sh
指定绝对路径:/root/first.sh
指定相对路径:./first.sh



方法二:指定Shell来解释脚本,不要求文件必须有 x 权限
sh 脚本路径:sh first.sh
source 脚本路径:. first.sh 或者 source first.sh

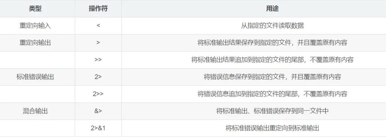
三、重定向和管道操作
1、管道操作符号“|”
将管道符号“|”左侧的命令输出的结果,作为右侧命令的输入(处理对象),同一行命令中可以使用多个管道。
示例:
ps aux | wc -l #统计系统进程的总量
echo "123456" | passwd --stdin ky19 #将用户zhangsan的密码改为123456


2、重定向
(1)交互式硬件设备

标准输入:从该设备接收用户输入的数据
标准输出:通过该设备向用户输出数据
标准错误:通过该设备报告执行出错信息
(2)重定向操作

示例:
echo "123456" > pass.txt #将123456定义到pass.txt文件中(此时文件中只剩下123456)
passwd --stdin niuniu < pass.txt #读取pass.txt中的字符将其定义成zhangsan用户的密码
ls -lh > log.txt 2>&1 等同于 ls -lh &> log.txt
本来ls -lh 直接输出的屏幕(等同于1指定屏幕)
执行>log后,是将标准输出结果保存到log.txt (1指向log.txt)
执行2>&1后,是将标准错误输出定义到标准输出信息中(2指向1,而1指向log.txt,因此2也指向了log.txt)



四、shell变量的作用和类型
1、变量的作用
作用:用来存放系统和用户需要使用的特定参数(值)
变量名:使用固定的名称,由系统预设或用户定义
变量值:能够根据用户设置、系统环境的变化而变化
2、变量的类型

3、自定义变量
1)自定义变量
变量命名规则:以字母或下划线开头,区分大小写
格式:变量名=变量值
查看变量的值
格式:echo $变量名
示例:
Product=Python #将右边的变量值赋予左边的变量名,这里可以理解成Product=Python,但Python≠Product
version=4.0 #version=4.0,但4.0≠version
echo $product
echo $product $version


浙公网安备 33010602011771号