Mysql 8.4数据库如何使用查看索引和使用索引
查看表结构
show create table JOB;

或者使用
desc test1;

查看表下的索引
SHOW INDEXES in JOB;
或者
show indexes from JOB;

删除索引
DROP INDEX IDX_JOB ON JOB;
创建索引
create index IDX_JOB_MAX_SALARY on JOB(MAX_SALARY);

查询执行计划
explain select * from JOB where MAX_SALARY>'4000';

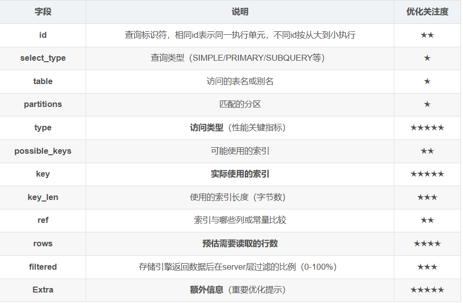
EXPLAIN 输出字段

type 访问类型(性能从优到劣)

优化目标:至少达到 range 级别,理想是 ref 或以上
Extra 字段常见值解析


Using index Using where 不用考虑,都使用了索引
Using index condition 使用了索引下推,也是不用担心的
出现 Using temporary Using filesort Using join buffer 是需要重视的,也是需要优化的


Using index condition --表是使用了索引下推


索引下推在MySQL 5.6引入,是针对索引的查询优化 具体的信息,可以参考链接
--https://mp.weixin.qq.com/s/8BKqO6SAmuoDzhjGKHT1WA

管理以及查找索引
查看当前数据库中所有表的索引
-- 查看当前数据库所有表的索引 SELECT TABLE_NAME, INDEX_NAME, INDEX_TYPE, GROUP_CONCAT(COLUMN_NAME ORDER BY SEQ_IN_INDEX) AS INDEX_COLUMNS, NON_UNIQUE, CARDINALITY FROM information_schema.STATISTICS WHERE TABLE_SCHEMA = DATABASE() GROUP BY TABLE_NAME, INDEX_NAME ORDER BY TABLE_NAME, INDEX_NAME;

如果在优化中感觉有更合适的索引,可以使用 FORCE INDEX (索引名) 或者USE INDEX (索引名) 改变优化器使用的索引

注意事项:
-
性能影响:强制使用不合适的索引可能会导致查询性能下降。因此,在使用
FORCE INDEX之前,最好使用EXPLAIN命令分析查询执行计划,确保选择的索引是合适的。 -
索引选择:
FORCE INDEX比USE INDEX更强力,MySQL 会更倾向于使用指定的索引。而USE INDEX只是建议 MySQL 考虑使用这些索引,优化器最终可能仍然决定不使用。 -
版本差异:不同 MySQL 版本对索引提示的支持可能略有不同,请确保你的 MySQL 版本支持
FORCE INDEX。 -
谨慎使用:强制索引应该谨慎使用,并在生产环境前充分测试其性能影响。
-
替代方案:在大多数情况下,最好让 MySQL 优化器根据统计信息和查询特性自行选择最佳的索引。只有在特定情况下(例如,当优化器选择的索引不如你预期的索引有效时),才考虑使用
FORCE INDEX。
统计信息
1. 使用ANALYZE TABLE命令
ANALYZE TABLE命令用于更新表的统计信息,例如键分布。这对于优化器在制定查询计划时非常重要。
ANALYZE TABLE table_name; 如果你想要分析多个表,可以这样做:
ANALYZE TABLE table1, table2, table3;
2. 使用OPTIMIZE TABLE命令
虽然OPTIMIZE TABLE主要用于回收未使用的空间并重新组织数据表,但它也会更新表的统计信息。在某些情况下,这可以作为搜集统计信息的一种方式。
OPTIMIZE TABLE table_name;
3. 使用SHOW TABLE STATUS命令
SHOW TABLE STATUS命令提供了关于表的各种状态信息,包括行的数量、平均行长度、数据长度、索引长度等。这些信息虽然不完全等同于统计信息,但可以用来评估表的当前状态。
SHOW TABLE STATUS FROM database_name LIKE 'table_pattern';
4. 查看索引使用情况
你可以通过查看INFORMATION_SCHEMA中的TABLES和STATISTICS表来获取关于索引使用情况的信息。这可以帮助你了解哪些索引正在被使用,哪些可能没有被有效使用。
SELECT * FROM INFORMATION_SCHEMA.STATISTICS WHERE TABLE_SCHEMA = 'database_name' AND TABLE_NAME = 'table_name';
以下行为会自动触发统计信息的收集
1.第一次打开表的时候
2.表修改的行超过1/6或者20亿条时
3.当有新的记录插入时
4.执行show index from tablename或者执行show table stauts、查询information_schema.tables\statistics 时

浙公网安备 33010602011771号