ssm酒店管理系统
本系统采用Spring+SpringMVC+Mybatis搭建,MySQL数据库,eclipse编译器,前端框架用的bootstrap。源码获取联系作者
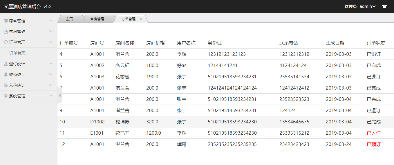
整个系统分为前后台两部分,前台用户可以登录,注册,分类浏览房间,预订房间,查看订单,退订等功能。后台用户可以对房客进行管理,对房间进行管理,对订单进行管理,收益统计,入住统计,退订统计,以及管理员管理等功能,具体界面如图,图片没有顺序,码农不容易源码分享为100元有偿。(能接受再加好友)
登录注册页面(只展示了登录,注册界面风格一样)
首页1
首页2
分类查看
房间详情
预订房间
我的订单
后台(房间管理)
订单管理
收益统计
其他小功能不一一截图了,菜单上所有的功能都已实现。
当你没有目标时,就把眼前的事做好

浙公网安备 33010602011771号