星嵌OMAPL138+国产FPGA工业开发板 中科亿海微 EQ6HL45系列FPGA 替代spartan-6
1 XQ138F-EVM评估板简介
- 基于TI OMAP-L138(定点/浮点DSP C674x+ARM9)+ FPGA处理器的开发板;
- OMAP-L138是TI德州仪器的TMS320C6748+ARM926EJ-S异构双核处理器,主频456MHz,高达3648MIPS和2746MFLOPS的运算能力;
- FPGA采用中科亿海微eHiChip 6家族EQ6HL45系列芯片,或Xilinx Spartan-6系列芯片XC6SL16,可升级至XC6SL45。(亿海芯EQ6HL45 CSG324 pin-to-pin Xilinx Spartan-6系列XC6SLX9、XC6SLX16、XC6SLX25、XC6SLX45);
- TI OMAP-L138作为主处理器,实现操作系统运行、算法处理、指令控制等功能;
- FPGA作为协处理器,实现并行采集、外部信号处理、接口转换等功能;
- OMAP-L138和FPGA通过EMIF、SPI或UPP等接口通信,通信速度可高达228MByte/s;
- 开发板引出丰富的外设,包含1路CAN、2路RS485(其中1路RS485/422复用)、2路RS232、2路网口(1路百兆、1路千兆)、1路ADC、2路DAC、数码管、SATA、TF/SD、USB OTG、4个USB 1.1 HOST、UART、RTC、LCD等接口,同时也引出MCASP、MCBSP、uPP、SPI、EMIFA、I2C等接口,方便用户扩展。
|
|
|
|
图1 OMAP-L138 + EQ6HL45系列 |
图2 OMAP-L138 + Spartan-6 |

图3 核心板背面图

图4 L138 + EQ6HL45正面图

图5 L138 + Spartan-6正面图

图6 开发板正面图

图7 开发板侧视图

图8 开发板侧视图

图9 开发板侧视图

图10 开发板侧视图
XQ138F-EVM是广州星嵌电子科技有限公司基于SOM-138F核心板(OMAP-L138+FPGA)开发的DSP+ARM+FPGA三核开发板,采用沉金无铅工艺的4层板设计,它为用户提供了SOM-XQ138F核心板的测试平台,用于快速评估SOM-XQ138F核心板的整体性能。
SOM-XQ138F引出CPU全部资源信号引脚,二次开发极其容易,客户只需要专注上层应用,大大降低了开发难度和时间成本,让产品快速上市,及时抢占市场先机。
不仅提供丰富的Demo程序,还提供详细的开发教程,全面的技术支持,协助客户进行底板设计、调试以及软件开发。用户可以进行项目前期的验证和评估,也可以直接用来开发自己的产品。
2 典型应用
图像处理设备
工业控制
智能电力系统
手持检测仪器
音视频数据处理
高精度仪器仪表
数据采集处理显示系统
中高端数控系统
通信设备
医疗电子设备
惯性制导...
3 软硬件参数

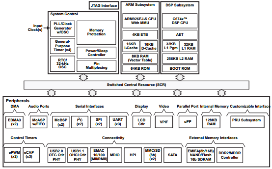
图11 开发板硬件资源框图

图12 OMAP-L138资源图

图13 Xilinx Spartan-6 FPGA基础参数

图14 亿海神针系列FPGA产品表

图15 亿海芯系列FPGA的基础参数
3.1 硬件性能
表1
|
CPU |
TI OMAPL138(TMS320C6748+ARM926EJ-S),频率最高达456M |
||
|
FPGA(2选1) (Pin-To-Pin) |
中科亿海微eHiChip 6家族EQ6HL45LL-2CSG324G |
||
|
或Xilinx Spartan-6系列XC6SLX16/XC6SLX45 |
|||
|
内存RAM |
128MB工业级DDR2(256MB可选) |
||
|
存储ROM |
4Gb 工业级NAND FLASH,用于DSP存储 |
||
|
64Mb工业级SPI FLASH,用于FPGA配置 |
|||
|
B2B连接器 |
2个80pin 0.5mm间距的母座,2个80 pin 0.5mm间距的公座 |
||
|
DSP仿真器接口 |
1个14Pin JTAG接口 |
||
|
FPGA调试接口 |
1个14Pin JTAG接口 |
||
|
SATA接口 |
1个7pin SATA硬盘接口 |
||
|
RJ45网口 |
OMAPL138端1个10/100M bps自适应RJ45网络接口 |
||
|
FPGA端1个10/100/1000M bps自适应RJ45网络接口 |
|||
|
RTC |
1个RTC供电座,使用3.3V纽扣电池供电 |
||
|
按键 |
1个DSP复位按键 |
||
|
2个DSP GPIO按键 |
|||
|
2个FPGA IO按键 |
|||
|
显示 |
1个LCD触摸屏接口,0.5mm间距,40Pin |
||
|
启动设置 |
1个5bit的拨码开关,用于OMAPL138启动选择 |
||
|
USB |
4个USB 1.1 HOST接口,通过USB HUB扩展实现 |
||
|
1个USB 2.0 OTG接口 |
|||
|
UART |
RS232
|
1个DSP RS232电平的串口,DB9母座 |
|
|
1个FPGA RS232电平的串口,DB9母座 |
|||
|
RS485/422 |
1个DSP RS485/422电平的串口(复用) |
||
|
1个FPGA RS485电平的串口 |
|||
|
CAN |
1个FPGA CAN接口 |
||
|
ADC |
1路ADC 精度12-bit;输入电压范围0~10V;采样率500KSPS |
||
|
DAC |
2路DAC 精度12-bit,数字编码值范围0~4095; 输出电压范围: ①0~8.192V(x1增益模式,支持所有数字编码(0~4095)), ②0~13.2V(x2增益模式,由于DAC限制输出不能超过VDD,故只支持部分编码(0~3300,十六进制值0~CE4),编程时需要注意); 输出稳定时间:4.5us; 用户接口:SPI接口,SPI时钟最高20MHz。 |
||
|
TF/SD |
1个TF/SD卡插槽 |
||
|
LED |
核心板(3个)
|
1个红色的LED电源指示灯LED1; 1个DSP LED灯LED2; 1个FPGA LED灯LED3; |
|
|
底板(3个) |
1个红色的LED电源指示灯LED1; 1个DSP LED灯LED2; 1个FPGA LED灯LED3; |
||
|
FRAM |
1片铁电存储器,存取速度比E2PROM更快,写操作之前无需先擦除 |
||
|
数码管 |
1个8段高亮数码管 |
||
|
测试点 |
1个接地柱,用于示波器接地,方便信号测量 |
||
|
拓展IO |
30pin 2.0间距的母座1个,引出MCASP,MCBSP,SPI,I2C等扩展信号 |
||
|
60pin 2.0间距的母座1个,引出EMIFA |
|||
|
80pin 2.0间距的母座1个,引出FPGA IO 74个 |
|||
|
|
扩展接口上提供 12V、5V 供电,方便扩展外设供 |
||
|
电源开关 |
1个拨动电源开关 |
||
|
电源接口 |
1个DC电源插座,外径5.5mm,内径2.1mm |
||
3.2 软件参数
表2
|
ARM端软件支持 |
裸机、Linux3.3 |
|
DSP端软件支持 |
裸机、SYS/BIOS操作系统 |
|
CCS版本号 |
CCS7.4 |
|
FPGA端软件(2选1) |
亿灵思软件(eLinx) |
|
ISE14.7(Spartan-6) |
|
|
图形界面开发工具 |
Linux下支持Qt界面开发 |
|
双核通信支持 |
裸机(中断+共享内存)、DSPLINK 、SYSLINK |
|
软件开发包 |
DVSDK、MCSDK |



浙公网安备 33010602011771号