会员
周边
新闻
博问
闪存
众包
赞助商
Chat2DB
所有博客
当前博客
我的博客
我的园子
账号设置
会员中心
简洁模式
...
退出登录
注册
登录
小草1234
博客园
首页
新随笔
联系
订阅
管理
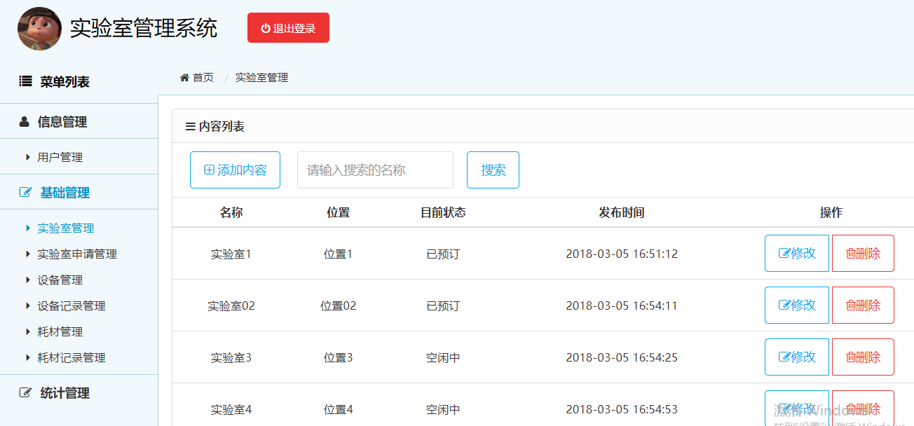
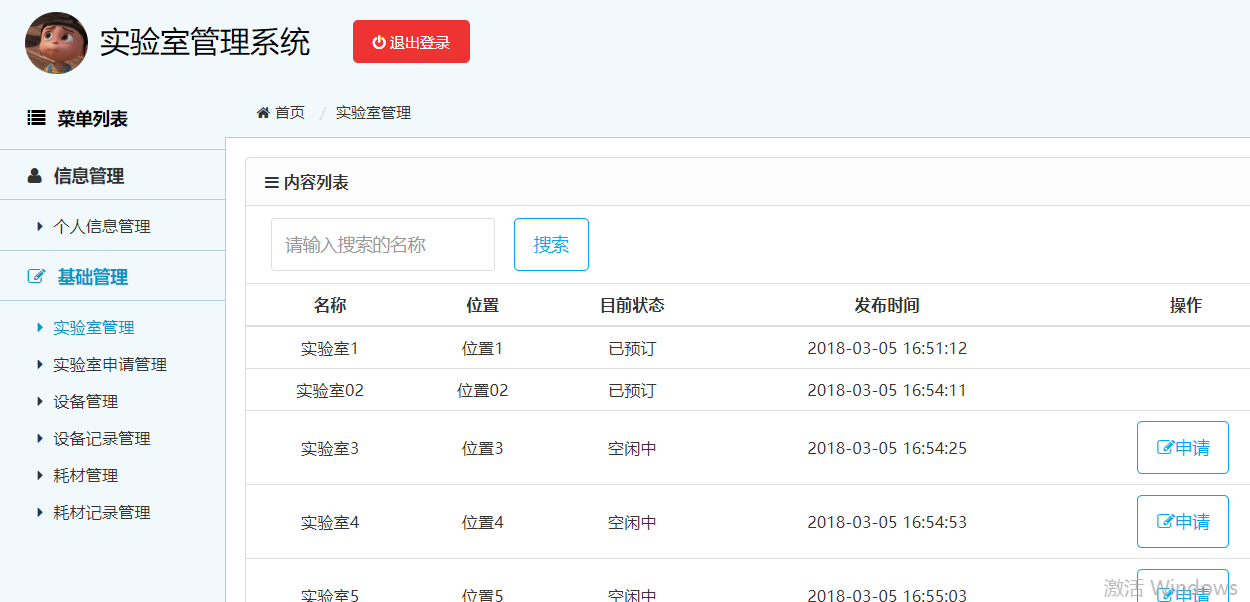
简易在线实验室管理系统
1.java,SSM,jsp,mysql
2.
posted @
2019-12-06 11:56
小草1234
阅读(
186
) 评论(
0
)
收藏
举报
刷新页面
返回顶部
公告