Java Web基础之JSP和Servlet
JSP注释:
<%--context--%>
JSP声明:
<%! 变量定义/方法定义/类 %>
例:<%!
String name = "John";
Date date = new Date();
%>
JSP表达式:
<%=变量或者表达式%>
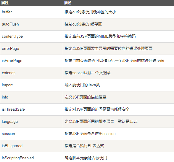
JSP指令:
1.page用来设置页面的相关功能和属性。
<%@ page attribute1="value1"%>
2.include引入需要包含的html,jsp,js文件。
<%@include file="url"%>
3.tablib是JSP新增指令,用户可以自定义新的标签在页面中执行。
<%@tablib uri="" prefix=""%>
JSP常用动作:
1.include
<jsp:include page="url" flush="true"/> 和include指令效果一样,flush是缓冲池。
2.forward
<jsp:forward page="url"> 重定向后浏览器中的地址仍显示之前的地址。
3.param
<jsp:param name="username" value="李四"> 和前两个结合使用
注:JSP由 1.模板元素(HTML,XML)
2.注释
3.指令
组成。
😁JSP内置(隐式)对象
1.request--->request域
用户每访问一个页面,就会产生一个HTTP请求,这些请求中包含了请求所需的参数值或信息,request就是用户请求的实例。
request对象常用方法:

2.session--->session域
session可以用来判断是否为同一用户,还可以用来记录客户的连接信息等。HTTP协议是一种无状态的协议(不保持连接),每次用户请求在接收到服务器的响应后,连接就关闭了,服务器端与客户端的连接被断开。因此,当用户的浏览器还没关闭又发出请求,那么网站就应该识别用户的情况。
用户打开到关闭浏览器就是一次会话。
session与cookie一一对应。
session对象常用方法:

3.application-->application域
生命周期从application对象创建到应用服务器关闭。
application对象常用方法:

4.response--->pageContext域
当用户访问一个页面时,就会产生一个HTTP请求,服务器做出响应时调用response响应包。
response对象常用方法:

5.out--->pageContext域
包含很多IO流中的方法和特性,最常用的方法就是输出内容到HTML。
6.page--->pageContext域
7.config--->pageContext域
😆Servlet
Servlet是利用Java类编写的服务端的应用程序,打开浏览器即可调用一个。
Servlet功能:
1.对客户端发送的数据进行读取和拦截。
2.读取客户端请求的隐含数据。
3.运行结果或者生成结果。
4.发送相应的数据。
servlet生命周期:
初始化阶段:装载和初始化
装载是指Servlet容器装载一个Servlet类,把它装载到Java内存中,Servlet容器可创建一个Servlet对象 并与web.xml配置对应起来。
初始化是调用Servlet中的init()方法。
运行阶段:响应服务器请求,创建HttpServletReuest和HttpServletResponse对象。
消亡阶段:调用destroy()方法,释放资源。

浙公网安备 33010602011771号