分页存储管理和分段存储管理
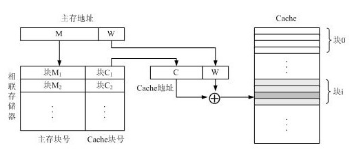
1.采用相联存储器后地址转换过程,用图表示出来

2.详述分段管理和分页管理的区别。
分段管理:是信息的逻辑单位,由源程序的逻辑结构及含义所决定,是用户可见的,段长由用户根据需要来确定,段起始地址可从任何内存地址开始。在分段方式中,源程序(段号、段内位移)经链接装配后仍保持二维地址结构,引入目的是满足用户模块化程序设计的需要。 分页管理:是信息的物理单位,与源程序的逻辑结构无关,是用户不可见的,页长由系统(硬件)确定,页面只能从页大小的整数倍地址开始。在分页方式中,源程序(页号、页内位移)经链接装配后变成一维地址结构,引入目的是实现离散分配并提高内存利用率。
3.P249 习题11。
给定地址为段号和位数。(1)<0,430>;(2)<3,400>;(3)<1,1>;(4)<2,50>;(5)<4,4>;
(1)649;(2)1727;(3)2301;(4)140;(5)1956;
浙公网安备 33010602011771号