会员
众包
新闻
博问
闪存
赞助商
HarmonyOS
Chat2DB
所有博客
当前博客
我的博客
我的园子
账号设置
会员中心
简洁模式
...
退出登录
注册
登录
wjhfree
博客园
首页
新随笔
联系
订阅
管理
软件工程开发日报50
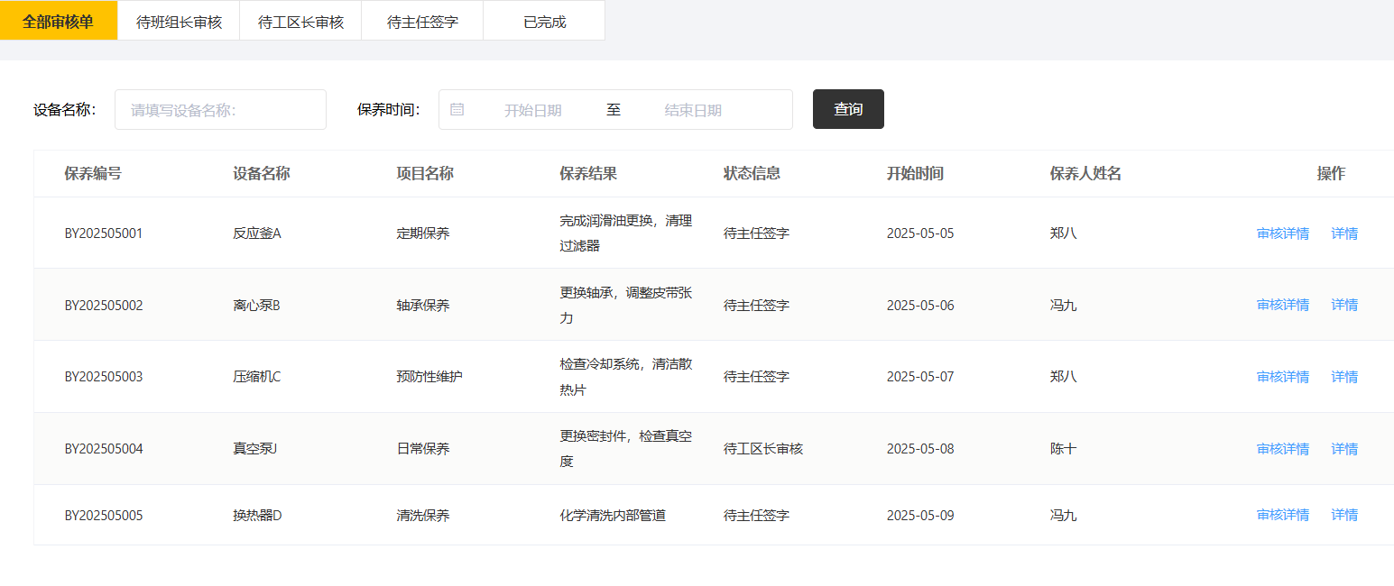
现在主管的故障销号模块已基本完成,后面的三个巡检、检查、保养模块基本类似所以仿照故障销号模块来写即可
今天我就实现了后面三个模块的签字功能
保养如下
其他不在一一介绍,跟故障一样
posted @
2025-06-03 22:09
Look_Back
阅读(
5
) 评论(
0
)
收藏
举报
刷新页面
返回顶部
公告