
epoll 的核心数据结构是:1个红黑树和1个双向链表。还有3个核心API。如上图所示。
一.数据结构
1.红黑树
- 因为链表在查询,删除的时候毫无疑问时间复杂度是O(n);
- 数组查询很快,但是删除和新增时间复杂度是O(n);
- 二叉搜索树虽然查询效率是lgn,但是如果不是平衡的,那么就会退化为线性查找,复杂度直接来到O(n);
- B+树是平衡多路查找树,主要是通过降低树的高度来存储上亿级别的数据,但是它的应用场景是内存放不下的时候能够用最少的IO访问次数从磁盘获取数据。比如数据库聚簇索引,成百上千万的数据内存无法满足查找就需要到内存查找,而因为B+树层高很低,只需要几次磁盘IO就能获取数据到内存,所以在这种磁盘到内存访问上B+树更适合。
因为我们处理上万级的fd,它们本身的存储空间并不会很大,所以倾向于在内存中去实现管理,而红黑树是一种非常优秀的平衡树,它完全是在内存中操作,而且查找,删除和新增时间复杂度都是lgn,效率非常高,因此选择用红黑树实现epoll是最佳的选择。
当然不选择用AVL树是因为红黑树是不符合AVL树的平衡条件的,红黑树用非严格的平衡来换取增删节点时候旋转次数的降低,任何不平衡都会在三次旋转之内解决;而AVL树是严格平衡树,在增加或者删除节点的时候,根据不同情况,旋转的次数比红黑树要多。所以红黑树的插入效率更高。
2.就绪socket列表-双向链表
就绪列表存储的是就绪的socket,所以它应能够快速的插入数据。
程序可能随时调用epoll_ctl添加监视socket,也可能随时删除。当删除时,若该socket已经存放在就绪列表中,它也应该被移除。(事实上,每个epoll_item既是红黑树节点,也是链表节点,删除红黑树节点,自然删除了链表节点)
所以就绪列表应是一种能够快速插入和删除的数据结构。双向链表就是这样一种数据结构,epoll使用双向链表来实现就绪队列(rdllist)
二. 三个API
4.1 int epoll_create(int size)
功能:
内核会产生一个epoll 实例数据结构并返回一个文件描述符epfd,这个特殊的描述符就是epoll实例的句柄,后面的两个接口都以它为中心。同时也会创建红黑树和就绪列表,红黑树来管理注册fd,就绪列表来收集所有就绪fd。size参数表示所要监视文件描述符的最大值,不过在后来的Linux版本中已经被弃用(同时,size不要传0,会报invalid argument错误)
4.2 int epoll_ctl(int epfd, int op, int fd, struct epoll_event *event)
功能:
将被监听的socket文件描述符添加到红黑树或从红黑树中删除或者对监听事件进行修改;同时向内核中断处理程序注册一个回调函数,内核在检测到某文件描述符可读/可写时会调用回调函数,该回调函数将文件描述符放在就绪链表中。
4.3 int epoll_wait(int epfd, struct epoll_event *events, int maxevents, int timeout);
功能:
阻塞等待注册的事件发生,返回事件的数目,并将触发的事件写入events数组中。
events: 用来记录被触发的events,其大小应该和maxevents一致
maxevents: 返回的events的最大个数处于ready状态的那些文件描述符会被复制进ready list中,epoll_wait用于向用户进程返回ready list(就绪列表)。
events和maxevents两个参数描述一个由用户分配的struct epoll event数组,调用返回时,内核将就绪列表(双向链表)复制到这个数组中,并将实际复制的个数作为返回值。
注意,如果就绪列表比maxevents长,则只能复制前maxevents个成员;反之,则能够完全复制就绪列表。
另外,struct epoll event结构中的events域在这里的解释是:在被监测的文件描述符上实际发生的事件。
三.小节:
调用epoll_create时,在内核cache里建了个红黑树用于存储以后epoll_ctl传来的socket外,还会再建立一个list链表,用于存储准备就绪的事件。
内部使用回调机制,红黑树中的节点通过回调函数添加到双向链表。
当epoll_wait调用时,仅仅观察这个双向链表里有没有数据即可。有数据就返回,没有数据就sleep,等到timeout时间到后即使链表没数据也返回。
所以,epoll_wait非常高效。而且,通常情况下即使我们要监控百万计的句柄,大多一次也只返回很少量的准备就绪句柄而已,所以,epoll_wait仅需要从内核态copy少量的句柄到用户态而已。
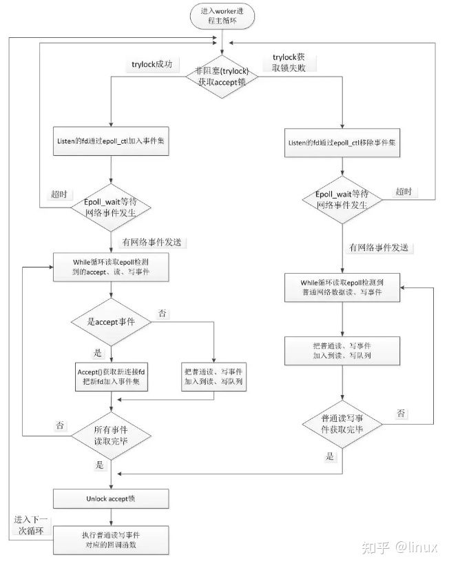
四.工作流程

5,几种网络模型对比

出处链接:https://zhuanlan.zhihu.com/p/441860207
浙公网安备 33010602011771号