20201008-3 选题 Scrum立会报告+燃尽图 03
此作业要求参见:https://edu.cnblogs.com/campus/nenu/2020Fall/homework/11293
团队名称:Wetry
团队成员:赵英伟 柯源 王艳鹤 李超 杜志峰 季嘉 王子一
ScrumMaster:李超
要求1 工作照片。要求启用手机的时间(与北京时间同步)与GPS记录功能,拍照,不要用任何软件修改导致exif变化。

要求2 时间跨度,精确到分钟,从何时开始至何时结束。建议半小时左右。
答:
开始时间:2020-10.09-21:21,结束时间:2020-10.09-21:52
要求3 地点,精确到大吼一声能够听到的距离。比如计算机东楼402室,可以;
二食堂三楼,不可以。
由于疫情,可以远程会议,要求远程会议的截图中能看到所有组员。
要求4 立会内容包括: (1)昨天的成绩,(2)今天的计划,(3)目前的困难。建议具体一些,
以教师的阅读能力为准,如果教师不能理解的,或者觉得过于泛泛的,不得分。缺项的扣分。
答:
昨天的成绩:讨论团队工程选题,完成昨天立会报告。
今天的计划:讨论团队工程选题,完成今天立会报告。
目前的困难:确定题目。
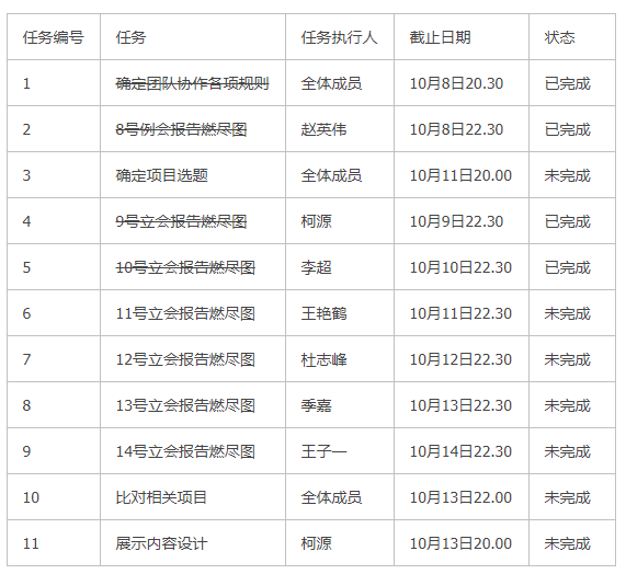
要求5 todo list。列表待完成和已完成的任务,用一行文字描述任务,已完成
任务使用删除线标注。以教师阅读能力为准,凡不能理解的缩略语、理解困难的
句子、错误字,减分。建议任务颗粒度以0.5小时~6小时可以完成,作为一个
任务。建议在本周迭代中根据实际情况改变任务颗粒度,在工作中发现任务时间
超过6小时的,切割成更小的颗粒度。教师会通过任务数量和队员的PSP跟踪任务
颗粒度。

燃尽图
看板连接:https://www.leangoo.com/kanban/board/go/3730636#

浙公网安备 33010602011771号