Linux修改22端口
Last failed login: Fri Nov 15 14:17:10 CST 2019 from 177.68.148.10 on ssh:notty
There was 54328 failed login attempt since the last successful login.
Last login: Fri Nov 15 13:57:43 2019 from 47.106.242.151
[root@txvm2019 ~]# ls
早上登录云服务测试机,一看,There was 54328 failed login attempt since the last successful login. 云服务被尝试登录了54328次!!!!
赶紧修改下原先的默认22端口
1. 修改端口: vi /etc/ssh/sshd_config
#Port 22
Port 60022
新增Port 60022端口,端口可以自己定义不冲突即可。
2.重启sshd: systemctl restart sshd
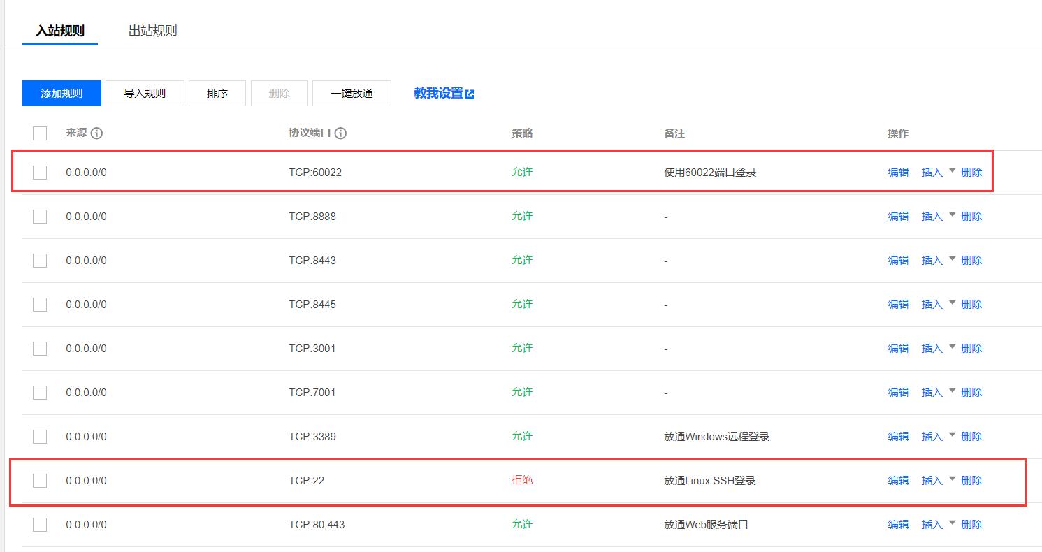
3.修改云服务安全策略,限制端口访问,增加只开放允许访问的端口配置,

以上三步完成之后!
下一次登录服务机器的时候,默认的22端口已经无法登录了,就需要使用60022端口进行登录了。
可以通过:netstat -antup | grep sshd 查看启用的端口

浙公网安备 33010602011771号