第一次作业
[实验目的]
1.掌握软件开发的基本流程
2.掌握软件设计和开发的基本工具
3.理解集成软件开发环境在软件开发过程中的作用
[实验内容]
1.设计一个可实现加、减、乘、除功能的计算器软件
2.使用牛顿迭代法完成算术开方的运算
3.将自己编写的算术开方功能集成到计算器程序中,使计算器软件除了具备加、减、乘、除功能外,还具备算术开方功能
【实验环境】
1.操作系统:Windows11
2.开发工具:eclipse
四、基本功能描述
简易计算器包括基本的四则运算(加、减、乘、除)及开方运算。
五、软件设计
(一)设计思路
1. 在开始写计算器之前,用笔在纸上画出计算器的草图,显示屏的位置,每个按钮的位置及大小比列。
2. 创建容器框框,通过之前的草图将按钮位置排好,这样计算器的外部形状也Ok。
3. 图形边框解决了之后开始通过 getSource () == “”去的事件源对象,进行实现按钮的输入。
4. 这是计算器最关键的一步——实现计算器的运算,首先定义四则运算的符号。通过符号实现加减乘除。如:
switch (operator.toString()) {
case ("+"): {
number2.append(number1.toString());//1=2
double d = Double.parseDouble(number1.toString())+ Double.parseDouble(number2.toString());
result.setLength(0);
result.append(d);
showNumber(numbershow, result);
number1.setLength(0);
number1.append(d);}
break;
5.最后进行最后的测试,改正一些编写中的小错误,实现最后的结果。
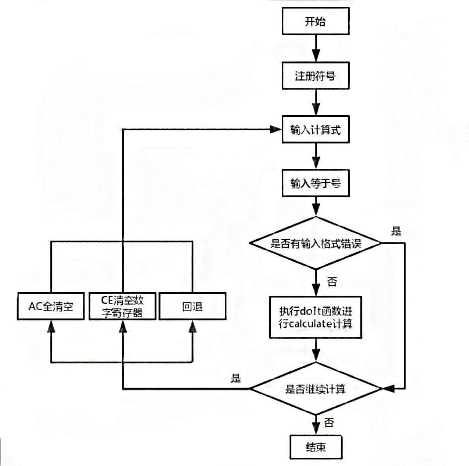
(二)设计流程图

(三)实验结果
输入99+9=

输入-9开根号

输入9开根号:

输入989-456=

输入94/8=

六、实现代码
package calculation4;
import java.awt.*;
import java.awt.event.*;
import javax.swing.*;
public class calculation4 extends JFrame {
private static final long serialVersionUID = 1L;
//实现序列化,serialVersionUID 用来表明实现序列化类的不同版本间的兼容性
Container c = getContentPane(); //用于固定宽度并支持响应式布局的容器
StringBuilder number1 = new StringBuilder(""); // 储存第1个数字字符串
StringBuilder number2 = new StringBuilder(""); // 储存第2个数字字符串
StringBuilder operator = new StringBuilder(""); // 储存运算符
StringBuilder result = new StringBuilder(""); // 储存运算结果
JTextField numbershow = new JTextField("0"); // 数字显示区域,初始显示为"0"
public static void main(String[] args) { // 主方法
//除键(C):在计算中按下此键将清除除存储器内容外的所有数值和计算符号,即可以重新开始输入计算.
//清除键(CE):在计算中按下此键将清除除存储器内容外的上一步内容,即可以重新输入按CE前输入的数字(含多位数)或计算符号.
calculation4 c1 = new calculation4();
c1.setVisible(true);}
public calculation4() { // 计算器构造方法
setTitle("计算器");
setBounds(100, 100, 260, 245);
setResizable(false);
setLayout(null);
setDefaultCloseOperation(JFrame.EXIT_ON_CLOSE);
createNumberShow(); // 创建数字显示区域
createClearButtons();// 创建Backspace,CE,C等三个按钮
createButtonArea(); // 创建数字按钮区域
}
private void createNumberShow() { // 创建数字显示区域的方法
numbershow.setHorizontalAlignment(JTextField.RIGHT);
numbershow.setBounds(5, 0, 245, 22);
numbershow.setEnabled(false);
numbershow.setDisabledTextColor(Color.BLACK);
c.add(numbershow);}
private void createClearButtons() { // 创建Backspace,CE,C等三个按钮的方法
JButton[] clearbutton = new JButton[3];
String[] clearbuttontext = { "Backspace", "CE", "C" };
for (int i = 0; i < 3; i++) {
clearbutton[i] = new JButton();
clearbutton[i].setText(clearbuttontext[i]);
clearbutton[i].setHorizontalAlignment(SwingConstants.CENTER);
clearbutton[i].setMargin(new Insets(0, 0, 0, 0));
clearbutton[i].setFont(new java.awt.Font("Arial", 0, 9));
clearbutton[i].setForeground(Color.blue);
clearbutton[i].setBounds(48 + i * 68, 30, 63, 22);
clearbutton[i].setForeground(Color.red);
c.add(clearbutton[i]);}
clearbutton[0].addActionListener(new ActionListener() {// 为Backspace按钮添加监听器
public void actionPerformed(ActionEvent e) {
if (number1.toString().equals("")) { // 如果未做任何输入
showNumber(numbershow, number1); // 显示number1
} else if (operator.toString().equals("")) { // 如果只输入了number1
number1.deleteCharAt(number1.toString().length() - 1);// 将number1的最后一个字符去掉
showNumber(numbershow, number1); // 显示number1
} else if (number2.toString().equals("")) { // 如果只输入了number1和operator
showNumber(numbershow, number1); // 不作任何处理,显示number1
} else { // 如果输入了number1、operator、number2
number2.deleteCharAt(number2.toString().length() - 1);// 将number2的最后一个字符去掉
showNumber(numbershow, number2); // 显示number2
} }});
clearbutton[1].addActionListener(new ActionListener() {// 为CE按钮添加监听器
public void actionPerformed(ActionEvent e) {
if (number1.toString().equals("")) { // 如果未做任何输入
showNumber(numbershow, number1); // 显示number1
} else if (operator.toString().equals("")) { // 如果只输入了number1
number1.setLength(0); // 清除number1
showNumber(numbershow, number1); // 显示number1
} else if (number2.toString().equals("")) { // 如果输入了number1和operator
showNumber(numbershow, number2); // 不作任何处理,显示number2
} else { // 如果输入了number1、operator、number2
number2.setLength(0); // 清除number2
showNumber(numbershow, number2); // 显示number2
} } });
clearbutton[2].addActionListener(new ActionListener() {// 为C按钮添加监听器
public void actionPerformed(ActionEvent e) { // 将所有储存清零
number1.setLength(0);
number2.setLength(0);
operator.setLength(0);
numbershow.setText("0.");
result.setLength(0);
} });}
private void createButtonArea() { // 创建数字按钮区域的方法
JPanel ButtonArea = new JPanel();
ButtonArea.setBounds(5, 55, 245, 125);
ButtonArea.setLayout(new GridLayout(4, 5, 5, 5));
c.add(ButtonArea);
JButton[] numberbutton = new JButton[20];
String[] numberbuttontext = { "7", "8", "9", "/", "sqrt",
"4", "5", "6","*", "%",
"1", "2", "3", "-", "1/X",
"0", "+/-", ".", "+", "=" };
for (int i = 0; i <= 19; i++) { // 使用循环为这20个按钮添加标识
numberbutton[i] = new JButton(numberbuttontext[i]);
ButtonArea.add(numberbutton[i]);
if (i % 5 == 3 || i == 19) {// 操作符按钮设置为红色
numberbutton[i].setHorizontalAlignment(SwingConstants.CENTER);//文本居中
numberbutton[i].setMargin(new Insets(0, 0, 0, 0));//构件在显示区的上,左,下,右的空白区0
numberbutton[i].setFont(new java.awt.Font("Arial", 0, 9));
//name表示的是字体的样式,常用的字体有Times New Roman、Symbol、宋体、楷体等。
//style表示的是字体的风格,默认是正常Font.PLAIN,有加粗Font.BLOD,有斜体Font.INTALIC
//可以加粗+斜体Font.BLOD + Font.INTALIC
numberbutton[i].setForeground(Color.red);
} else { // 其它设置为蓝色
numberbutton[i].setHorizontalAlignment(SwingConstants.CENTER);
numberbutton[i].setMargin(new Insets(0, 0, 0, 0));
numberbutton[i].setFont(new java.awt.Font("Arial", 0, 9));
numberbutton[i].setForeground(Color.blue);
}}
int[] numbers = { 15, 10, 11, 12, 5, 6, 7, 0, 1, 2 };// 该数组分别代表0-9等数字在numberbuttontext数组中序号
for (int i = 0; i <= 9; i++) { // 使用循环为这0-9这十个数字按钮添加监听器
final String str = String.valueOf(i); //封装,将括号里面这个 i 的值转换成一个‘String’类型的值
numberbutton[numbers[i]].addActionListener(new ActionListener() {// 为0-9按钮添加监听器
public void actionPerformed(ActionEvent e) {
if (operator.toString().equals("")) { // 没有输入operator之前
add(number1, str); // 只设置number1的值
showNumber(numbershow, number1); // 只显示number1的值
}
else { // 输入operator之后
add(number2, str); // 只设置number2的值
showNumber(numbershow, number2); // 只显示number2的值
} }}); }
numberbutton[16].addActionListener(new ActionListener() { // 为"+/-"按钮添加监听器
public void actionPerformed(ActionEvent e) {
if (operator.toString().equals("")) { // 没有输入operator之前
add(number1, "+/-"); // 只设置number1的值
showNumber(numbershow, number1); // 只显示number1的值
}
else { // 输入operator之后
add(number2, "+/-"); // 只设置number2的值
showNumber(numbershow, number2); // 只显示number2的值
} }});
numberbutton[17].addActionListener(new ActionListener() { // 为"."按钮添加监听器
public void actionPerformed(ActionEvent e) {
if (operator.toString().equals("")) { // 在输入operator之前,只显示number1的值
add(number1, ".");
showNumber(numbershow, number1);
}
else { // 在输入operator之后,只显示number2的值
add(number2, ".");
showNumber(numbershow, number2); } } });
numberbutton[18].addActionListener(new ActionListener() { // 为"+"按钮添加监听器
public void actionPerformed(ActionEvent e) {
operator.setLength(0);
operator.append("+"); }});
numberbutton[13].addActionListener(new ActionListener() { // 为"-"按钮添加监听器
public void actionPerformed(ActionEvent e) {
operator.setLength(0);
operator.append("-");} });
numberbutton[8].addActionListener(new ActionListener() { // 为"*"按钮添加监听器
public void actionPerformed(ActionEvent e) {
operator.setLength(0);
operator.append("*");}});
numberbutton[3].addActionListener(new ActionListener() { // 为"/"按钮添加监听器
public void actionPerformed(ActionEvent e) {
operator.setLength(0);
operator.append("/");}});
numberbutton[19].addActionListener(new ActionListener() { // 为"="按钮添加监听器
public void actionPerformed(ActionEvent e) {
if (number1.toString().equals("")) {// 当number1为空时
showNumber(numbershow, number1);
} else if
(operator.toString().equals("")) { // 当number1不为空,而operator为空时
showNumber(numbershow, number1);
} else if
(number2.toString().equals("")) {
// 当number1、operator均不为空,而number2为空时
switch (operator.toString()) {
case ("+"): {
number2.append(number1.toString());//1=2
double d = Double.parseDouble(number1.toString())+ Double.parseDouble(number2.toString());
result.setLength(0);
result.append(d);
showNumber(numbershow, result);
number1.setLength(0);
number1.append(d);}
break;
case ("-"): {
number2.append(number1.toString());
double d = Double.parseDouble(number1.toString())- Double.parseDouble(number2.toString());
result.setLength(0);
result.append(d);
showNumber(numbershow, result);
number1.setLength(0);
number1.append(d);}
break;
case ("*"): {
number2.append(number1.toString());
double d = Double.parseDouble(number1.toString())* Double.parseDouble(number2.toString());
result.setLength(0);
result.append(d);
showNumber(numbershow, result);
number1.setLength(0);
number1.append(d);}
break;
case ("/"): {
number2.append(number1.toString());
double d = Double.parseDouble(number1.toString())/ Double.parseDouble(number2.toString());
result.setLength(0);
result.append(d);
showNumber(numbershow, result);
number1.setLength(0);
number1.append(d);}
break;}} else {
// 当number1、operator、number2均不为空时
switch (operator.toString()) {
case ("+"): {
double d = Double.parseDouble(number1.toString())+ Double.parseDouble(number2.toString());
result.setLength(0);
result.append(d);
showNumber(numbershow, result);
number1.setLength(0);
number1.append(d);}
break;
case ("-"): {
double d = Double.parseDouble(number1.toString())- Double.parseDouble(number2.toString());
result.setLength(0);
result.append(d);
showNumber(numbershow, result);
number1.setLength(0);
number1.append(d);}
break;
case ("*"): {
double d = Double.parseDouble(number1.toString())* Double.parseDouble(number2.toString());
result.setLength(0);
result.append(d);
showNumber(numbershow, result);
number1.setLength(0);
number1.append(d);}
break;
case ("/"): {
double d = Double.parseDouble(number1.toString())/ Double.parseDouble(number2.toString());
result.setLength(0);
result.append(d);
showNumber(numbershow, result);
number1.setLength(0);
number1.append(d);}
break;}}}});
numberbutton[14].addActionListener(new ActionListener() { // 为"1/x"按钮添加监听器
public void actionPerformed(ActionEvent e) {
if (number1.toString().equals("")) { // 没有输入number1时
numbershow.setText("输入非法0");
} else if (operator.toString().equals("")) { // 输入了number1,但没有输入operator
if (Double.parseDouble(number1.toString()) == 0) { // 如果number1的值为零
numbershow.setText("除数不能为零");
} else { // 如果number1的值不为零
double d = 1 / (Double.parseDouble(number1.toString()));
number1.setLength(0);
number1.append(d); // 将number1的值开放并存储
showNumber(numbershow, number1);}
} else if (number2.toString().equals("")) { // 输入了number1、operator,但没有输入number2
double d = 1 / (Double.parseDouble(number1.toString()));
number2.append(d);// 将number1的值开放并存储
showNumber(numbershow, number2);
} else { // 输入了number1、operator,number2
double d = 1 / (Double.parseDouble(number2.toString()));
number2.setLength(0);
number2.append(d);// 将number2的值开放并存储
showNumber(numbershow, number2);}}});
numberbutton[9].addActionListener(new ActionListener() { // 为"%"按钮添加监听器
public void actionPerformed(ActionEvent e) {
if (number1.toString().equals("")) { // 没有输入number1时
numbershow.setText("输入非法0");
} else if (operator.toString().equals("")) { // 输入了number1,但没有输入operator
if (Double.parseDouble(number1.toString()) == 0) { // 如果number1的值为零
numbershow.setText("0");
} else { // 如果number1的值不为零
double d = (Double.parseDouble(number1.toString())/100);
number1.setLength(0);
number1.append(d); // 将number1的值开放并存储
showNumber(numbershow, number1);}
} else if (number2.toString().equals("")) { // 输入了number1、operator,但没有输入number2
double d = (Double.parseDouble(number1.toString())/100);
number2.append(d);// 将number1的值开放并存储
showNumber(numbershow, number2);
} else { // 输入了number1、operator,number2
double d = (Double.parseDouble(number2.toString())/100);
number2.setLength(0);
number2.append(d);// 将number2的值开放并存储
showNumber(numbershow, number2);}}});
numberbutton[4].addActionListener(new ActionListener() { // 为"sqrt"按钮添加监听器
public void actionPerformed(ActionEvent e) {
if (number1.toString().equals("")) {// 没有输入number1时
showNumber(numbershow, number1);
} else if (operator.toString().equals("")) {// 输入了number1,但没有输入operator
if (Double.parseDouble(number1.toString()) < 0) {// number1小于0
numbershow.setText("函数输入无效");
} else {// number1大于0
double d = Math.sqrt(Double.parseDouble(number1.toString()));
number1.setLength(0);
number1.append(d);// 将number1的值开放并存储
showNumber(numbershow, number1);}
} else if (number2.toString().equals("")) {// 输入了number1、operator,但没有输入number2
double d = Math.sqrt(Double.parseDouble(number1.toString()));
number2.append(d);// 将number1的值开放并存储
showNumber(numbershow, number2);
} else {// 输入了number1、operator、number2
double d = Math.sqrt(Double.parseDouble(number2.toString()));
number2.setLength(0);
number2.append(d);// 将number2的值开放并存储
showNumber(numbershow, number2);}}});}
public void add(StringBuilder s1, String s2) { // 定义按钮输入后数字字符串变化的方法
if (s2.equals("+/-")) {// 定义输入"+/-"后数字字符串的变化
if (s1.toString().equals("") || s1.toString().equals("0")) {// 如果数字字符串为空或者0,那么不发生变化
s1.append("");
} else {// 如果数字字符串不为空也不为0,那么在数字字符串前增加或删除"-"字符
if (s1.toString().startsWith("-")) {
s1.deleteCharAt(0);
} else {
s1.insert(0, "-");}}}
if (s2.equals(".")) {// 定义输入"."后数字字符串的变化
if (s1.toString().indexOf(".") == -1) {// 查找数字字符串中是否含有"."字符,如果没有则执行以下代码
if (s1.toString().equals("")) {// 如果数字字符串为空,那么将数字字符串设置为"0."
s1.setLength(0);
s1.append("0");
} else {
s1.append(".");}} else {// 如果有,则不发生变化
s1.append("");}}
if (s2.equals("0")) {// 定义输入"0"后数字字符串的变化
if (s1.toString().equals("0")) {// 当数字的字符串为"0"时,不发生变化
s1.append("");
} else {// 当数字的字符串吧为"0"时,在其字符串后增加"0"
s1.append("0");}}
for (int i = 1; i < 10; i++) {// 通过循环,定义输入1-9后数字字符串的变化
String str = String.valueOf(i);
if (s2.equals(str)) {// 定义输入1-9后数字字符串的变化
if (s1.toString().equals("0")) {
s1.setLength(0);
s1.append(str);
} else
s1.append(str);}}}
public void showNumber(JTextField j, StringBuilder s) {// 定义数字显示区域如何显示数字字符串的方法
if (s.toString().equals("") == true || s.toString().equals("0") == true) {
j.setText("0.");}
else if (s.toString().indexOf(".") == -1) {
j.setText(s.toString() + ".");}
else {
j.setText(s.toString());}}}
[实验目的]
1.掌握软件开发的基本流程
2.掌握软件设计和开发的基本工具
3.理解集成软件开发环境在软件开发过程中的作用
[实验内容]
1.设计一个可实现加、减、乘、除功能的计算器软件
2.使用牛顿迭代法完成算术开方的运算
3.将自己编写的算术开方功能集成到计算器程序中,使计算器软件除了具备加、减、乘、除功能外,还具备算术开方功能
【实验环境】
1.操作系统:Windows11
2.开发工具:eclipse
四、基本功能描述
简易计算器包括基本的四则运算(加、减、乘、除)及开方运算。
五、软件设计
(一)设计思路
1. 在开始写计算器之前,用笔在纸上画出计算器的草图,显示屏的位置,每个按钮的位置及大小比列。
2. 创建容器框框,通过之前的草图将按钮位置排好,这样计算器的外部形状也Ok。
3. 图形边框解决了之后开始通过 getSource () == “”去的事件源对象,进行实现按钮的输入。
4. 这是计算器最关键的一步——实现计算器的运算,首先定义四则运算的符号。通过符号实现加减乘除。如:
switch (operator.toString()) {
case ("+"): {
number2.append(number1.toString());//1=2
double d = Double.parseDouble(number1.toString())+ Double.parseDouble(number2.toString());
result.setLength(0);
result.append(d);
showNumber(numbershow, result);
number1.setLength(0);
number1.append(d);}
break;
5.最后进行最后的测试,改正一些编写中的小错误,实现最后的结果。
(二)设计流程图
(三)实验结果
输入99+9=
输入-9开根号:
输入9开根号:
输入989-456=
输入94/8=
六、实现代码
package calculation4;
import java.awt.*;
import java.awt.event.*;
import javax.swing.*;
public class calculation4 extends JFrame {
private static final long serialVersionUID = 1L;
//实现序列化,serialVersionUID 用来表明实现序列化类的不同版本间的兼容性
Container c = getContentPane(); //用于固定宽度并支持响应式布局的容器
StringBuilder number1 = new StringBuilder(""); // 储存第1个数字字符串
StringBuilder number2 = new StringBuilder(""); // 储存第2个数字字符串
StringBuilder operator = new StringBuilder(""); // 储存运算符
StringBuilder result = new StringBuilder(""); // 储存运算结果
JTextField numbershow = new JTextField("0"); // 数字显示区域,初始显示为"0"
public static void main(String[] args) { // 主方法
//除键(C):在计算中按下此键将清除除存储器内容外的所有数值和计算符号,即可以重新开始输入计算.
//清除键(CE):在计算中按下此键将清除除存储器内容外的上一步内容,即可以重新输入按CE前输入的数字(含多位数)或计算符号.
calculation4 c1 = new calculation4();
c1.setVisible(true);}
public calculation4() { // 计算器构造方法
setTitle("计算器");
setBounds(100, 100, 260, 245);
setResizable(false);
setLayout(null);
setDefaultCloseOperation(JFrame.EXIT_ON_CLOSE);
createNumberShow(); // 创建数字显示区域
createClearButtons();// 创建Backspace,CE,C等三个按钮
createButtonArea(); // 创建数字按钮区域
}
private void createNumberShow() { // 创建数字显示区域的方法
numbershow.setHorizontalAlignment(JTextField.RIGHT);
numbershow.setBounds(5, 0, 245, 22);
numbershow.setEnabled(false);
numbershow.setDisabledTextColor(Color.BLACK);
c.add(numbershow);}
private void createClearButtons() { // 创建Backspace,CE,C等三个按钮的方法
JButton[] clearbutton = new JButton[3];
String[] clearbuttontext = { "Backspace", "CE", "C" };
for (int i = 0; i < 3; i++) {
clearbutton[i] = new JButton();
clearbutton[i].setText(clearbuttontext[i]);
clearbutton[i].setHorizontalAlignment(SwingConstants.CENTER);
clearbutton[i].setMargin(new Insets(0, 0, 0, 0));
clearbutton[i].setFont(new java.awt.Font("Arial", 0, 9));
clearbutton[i].setForeground(Color.blue);
clearbutton[i].setBounds(48 + i * 68, 30, 63, 22);
clearbutton[i].setForeground(Color.red);
c.add(clearbutton[i]);}
clearbutton[0].addActionListener(new ActionListener() {// 为Backspace按钮添加监听器
public void actionPerformed(ActionEvent e) {
if (number1.toString().equals("")) { // 如果未做任何输入
showNumber(numbershow, number1); // 显示number1
} else if (operator.toString().equals("")) { // 如果只输入了number1
number1.deleteCharAt(number1.toString().length() - 1);// 将number1的最后一个字符去掉
showNumber(numbershow, number1); // 显示number1
} else if (number2.toString().equals("")) { // 如果只输入了number1和operator
showNumber(numbershow, number1); // 不作任何处理,显示number1
} else { // 如果输入了number1、operator、number2
number2.deleteCharAt(number2.toString().length() - 1);// 将number2的最后一个字符去掉
showNumber(numbershow, number2); // 显示number2
} }});
clearbutton[1].addActionListener(new ActionListener() {// 为CE按钮添加监听器
public void actionPerformed(ActionEvent e) {
if (number1.toString().equals("")) { // 如果未做任何输入
showNumber(numbershow, number1); // 显示number1
} else if (operator.toString().equals("")) { // 如果只输入了number1
number1.setLength(0); // 清除number1
showNumber(numbershow, number1); // 显示number1
} else if (number2.toString().equals("")) { // 如果输入了number1和operator
showNumber(numbershow, number2); // 不作任何处理,显示number2
} else { // 如果输入了number1、operator、number2
number2.setLength(0); // 清除number2
showNumber(numbershow, number2); // 显示number2
} } });
clearbutton[2].addActionListener(new ActionListener() {// 为C按钮添加监听器
public void actionPerformed(ActionEvent e) { // 将所有储存清零
number1.setLength(0);
number2.setLength(0);
operator.setLength(0);
numbershow.setText("0.");
result.setLength(0);
} });}
private void createButtonArea() { // 创建数字按钮区域的方法
JPanel ButtonArea = new JPanel();
ButtonArea.setBounds(5, 55, 245, 125);
ButtonArea.setLayout(new GridLayout(4, 5, 5, 5));
c.add(ButtonArea);
JButton[] numberbutton = new JButton[20];
String[] numberbuttontext = { "7", "8", "9", "/", "sqrt",
"4", "5", "6","*", "%",
"1", "2", "3", "-", "1/X",
"0", "+/-", ".", "+", "=" };
for (int i = 0; i <= 19; i++) { // 使用循环为这20个按钮添加标识
numberbutton[i] = new JButton(numberbuttontext[i]);
ButtonArea.add(numberbutton[i]);
if (i % 5 == 3 || i == 19) {// 操作符按钮设置为红色
numberbutton[i].setHorizontalAlignment(SwingConstants.CENTER);//文本居中
numberbutton[i].setMargin(new Insets(0, 0, 0, 0));//构件在显示区的上,左,下,右的空白区0
numberbutton[i].setFont(new java.awt.Font("Arial", 0, 9));
//name表示的是字体的样式,常用的字体有Times New Roman、Symbol、宋体、楷体等。
//style表示的是字体的风格,默认是正常Font.PLAIN,有加粗Font.BLOD,有斜体Font.INTALIC
//可以加粗+斜体Font.BLOD + Font.INTALIC
numberbutton[i].setForeground(Color.red);
} else { // 其它设置为蓝色
numberbutton[i].setHorizontalAlignment(SwingConstants.CENTER);
numberbutton[i].setMargin(new Insets(0, 0, 0, 0));
numberbutton[i].setFont(new java.awt.Font("Arial", 0, 9));
numberbutton[i].setForeground(Color.blue);
}}
int[] numbers = { 15, 10, 11, 12, 5, 6, 7, 0, 1, 2 };// 该数组分别代表0-9等数字在numberbuttontext数组中序号
for (int i = 0; i <= 9; i++) { // 使用循环为这0-9这十个数字按钮添加监听器
final String str = String.valueOf(i); //封装,将括号里面这个 i 的值转换成一个‘String’类型的值
numberbutton[numbers[i]].addActionListener(new ActionListener() {// 为0-9按钮添加监听器
public void actionPerformed(ActionEvent e) {
if (operator.toString().equals("")) { // 没有输入operator之前
add(number1, str); // 只设置number1的值
showNumber(numbershow, number1); // 只显示number1的值
}
else { // 输入operator之后
add(number2, str); // 只设置number2的值
showNumber(numbershow, number2); // 只显示number2的值
} }}); }
numberbutton[16].addActionListener(new ActionListener() { // 为"+/-"按钮添加监听器
public void actionPerformed(ActionEvent e) {
if (operator.toString().equals("")) { // 没有输入operator之前
add(number1, "+/-"); // 只设置number1的值
showNumber(numbershow, number1); // 只显示number1的值
}
else { // 输入operator之后
add(number2, "+/-"); // 只设置number2的值
showNumber(numbershow, number2); // 只显示number2的值
} }});
numberbutton[17].addActionListener(new ActionListener() { // 为"."按钮添加监听器
public void actionPerformed(ActionEvent e) {
if (operator.toString().equals("")) { // 在输入operator之前,只显示number1的值
add(number1, ".");
showNumber(numbershow, number1);
}
else { // 在输入operator之后,只显示number2的值
add(number2, ".");
showNumber(numbershow, number2); } } });
numberbutton[18].addActionListener(new ActionListener() { // 为"+"按钮添加监听器
public void actionPerformed(ActionEvent e) {
operator.setLength(0);
operator.append("+"); }});
numberbutton[13].addActionListener(new ActionListener() { // 为"-"按钮添加监听器
public void actionPerformed(ActionEvent e) {
operator.setLength(0);
operator.append("-");} });
numberbutton[8].addActionListener(new ActionListener() { // 为"*"按钮添加监听器
public void actionPerformed(ActionEvent e) {
operator.setLength(0);
operator.append("*");}});
numberbutton[3].addActionListener(new ActionListener() { // 为"/"按钮添加监听器
public void actionPerformed(ActionEvent e) {
operator.setLength(0);
operator.append("/");}});
numberbutton[19].addActionListener(new ActionListener() { // 为"="按钮添加监听器
public void actionPerformed(ActionEvent e) {
if (number1.toString().equals("")) {// 当number1为空时
showNumber(numbershow, number1);
} else if
(operator.toString().equals("")) { // 当number1不为空,而operator为空时
showNumber(numbershow, number1);
} else if
(number2.toString().equals("")) {
// 当number1、operator均不为空,而number2为空时
switch (operator.toString()) {
case ("+"): {
number2.append(number1.toString());//1=2
double d = Double.parseDouble(number1.toString())+ Double.parseDouble(number2.toString());
result.setLength(0);
result.append(d);
showNumber(numbershow, result);
number1.setLength(0);
number1.append(d);}
break;
case ("-"): {
number2.append(number1.toString());
double d = Double.parseDouble(number1.toString())- Double.parseDouble(number2.toString());
result.setLength(0);
result.append(d);
showNumber(numbershow, result);
number1.setLength(0);
number1.append(d);}
break;
case ("*"): {
number2.append(number1.toString());
double d = Double.parseDouble(number1.toString())* Double.parseDouble(number2.toString());
result.setLength(0);
result.append(d);
showNumber(numbershow, result);
number1.setLength(0);
number1.append(d);}
break;
case ("/"): {
number2.append(number1.toString());
double d = Double.parseDouble(number1.toString())/ Double.parseDouble(number2.toString());
result.setLength(0);
result.append(d);
showNumber(numbershow, result);
number1.setLength(0);
number1.append(d);}
break;}} else {
// 当number1、operator、number2均不为空时
switch (operator.toString()) {
case ("+"): {
double d = Double.parseDouble(number1.toString())+ Double.parseDouble(number2.toString());
result.setLength(0);
result.append(d);
showNumber(numbershow, result);
number1.setLength(0);
number1.append(d);}
break;
case ("-"): {
double d = Double.parseDouble(number1.toString())- Double.parseDouble(number2.toString());
result.setLength(0);
result.append(d);
showNumber(numbershow, result);
number1.setLength(0);
number1.append(d);}
break;
case ("*"): {
double d = Double.parseDouble(number1.toString())* Double.parseDouble(number2.toString());
result.setLength(0);
result.append(d);
showNumber(numbershow, result);
number1.setLength(0);
number1.append(d);}
break;
case ("/"): {
double d = Double.parseDouble(number1.toString())/ Double.parseDouble(number2.toString());
result.setLength(0);
result.append(d);
showNumber(numbershow, result);
number1.setLength(0);
number1.append(d);}
break;}}}});
numberbutton[14].addActionListener(new ActionListener() { // 为"1/x"按钮添加监听器
public void actionPerformed(ActionEvent e) {
if (number1.toString().equals("")) { // 没有输入number1时
numbershow.setText("输入非法0");
} else if (operator.toString().equals("")) { // 输入了number1,但没有输入operator
if (Double.parseDouble(number1.toString()) == 0) { // 如果number1的值为零
numbershow.setText("除数不能为零");
} else { // 如果number1的值不为零
double d = 1 / (Double.parseDouble(number1.toString()));
number1.setLength(0);
number1.append(d); // 将number1的值开放并存储
showNumber(numbershow, number1);}
} else if (number2.toString().equals("")) { // 输入了number1、operator,但没有输入number2
double d = 1 / (Double.parseDouble(number1.toString()));
number2.append(d);// 将number1的值开放并存储
showNumber(numbershow, number2);
} else { // 输入了number1、operator,number2
double d = 1 / (Double.parseDouble(number2.toString()));
number2.setLength(0);
number2.append(d);// 将number2的值开放并存储
showNumber(numbershow, number2);}}});
numberbutton[9].addActionListener(new ActionListener() { // 为"%"按钮添加监听器
public void actionPerformed(ActionEvent e) {
if (number1.toString().equals("")) { // 没有输入number1时
numbershow.setText("输入非法0");
} else if (operator.toString().equals("")) { // 输入了number1,但没有输入operator
if (Double.parseDouble(number1.toString()) == 0) { // 如果number1的值为零
numbershow.setText("0");
} else { // 如果number1的值不为零
double d = (Double.parseDouble(number1.toString())/100);
number1.setLength(0);
number1.append(d); // 将number1的值开放并存储
showNumber(numbershow, number1);}
} else if (number2.toString().equals("")) { // 输入了number1、operator,但没有输入number2
double d = (Double.parseDouble(number1.toString())/100);
number2.append(d);// 将number1的值开放并存储
showNumber(numbershow, number2);
} else { // 输入了number1、operator,number2
double d = (Double.parseDouble(number2.toString())/100);
number2.setLength(0);
number2.append(d);// 将number2的值开放并存储
showNumber(numbershow, number2);}}});
numberbutton[4].addActionListener(new ActionListener() { // 为"sqrt"按钮添加监听器
public void actionPerformed(ActionEvent e) {
if (number1.toString().equals("")) {// 没有输入number1时
showNumber(numbershow, number1);
} else if (operator.toString().equals("")) {// 输入了number1,但没有输入operator
if (Double.parseDouble(number1.toString()) < 0) {// number1小于0
numbershow.setText("函数输入无效");
} else {// number1大于0
double d = Math.sqrt(Double.parseDouble(number1.toString()));
number1.setLength(0);
number1.append(d);// 将number1的值开放并存储
showNumber(numbershow, number1);}
} else if (number2.toString().equals("")) {// 输入了number1、operator,但没有输入number2
double d = Math.sqrt(Double.parseDouble(number1.toString()));
number2.append(d);// 将number1的值开放并存储
showNumber(numbershow, number2);
} else {// 输入了number1、operator、number2
double d = Math.sqrt(Double.parseDouble(number2.toString()));
number2.setLength(0);
number2.append(d);// 将number2的值开放并存储
showNumber(numbershow, number2);}}});}
public void add(StringBuilder s1, String s2) { // 定义按钮输入后数字字符串变化的方法
if (s2.equals("+/-")) {// 定义输入"+/-"后数字字符串的变化
if (s1.toString().equals("") || s1.toString().equals("0")) {// 如果数字字符串为空或者0,那么不发生变化
s1.append("");
} else {// 如果数字字符串不为空也不为0,那么在数字字符串前增加或删除"-"字符
if (s1.toString().startsWith("-")) {
s1.deleteCharAt(0);
} else {
s1.insert(0, "-");}}}
if (s2.equals(".")) {// 定义输入"."后数字字符串的变化
if (s1.toString().indexOf(".") == -1) {// 查找数字字符串中是否含有"."字符,如果没有则执行以下代码
if (s1.toString().equals("")) {// 如果数字字符串为空,那么将数字字符串设置为"0."
s1.setLength(0);
s1.append("0");
} else {
s1.append(".");}} else {// 如果有,则不发生变化
s1.append("");}}
if (s2.equals("0")) {// 定义输入"0"后数字字符串的变化
if (s1.toString().equals("0")) {// 当数字的字符串为"0"时,不发生变化
s1.append("");
} else {// 当数字的字符串吧为"0"时,在其字符串后增加"0"
s1.append("0");}}
for (int i = 1; i < 10; i++) {// 通过循环,定义输入1-9后数字字符串的变化
String str = String.valueOf(i);
if (s2.equals(str)) {// 定义输入1-9后数字字符串的变化
if (s1.toString().equals("0")) {
s1.setLength(0);
s1.append(str);
} else
s1.append(str);}}}
public void showNumber(JTextField j, StringBuilder s) {// 定义数字显示区域如何显示数字字符串的方法
if (s.toString().equals("") == true || s.toString().equals("0") == true) {
j.setText("0.");}
else if (s.toString().indexOf(".") == -1) {
j.setText(s.toString() + ".");}
else {
j.setText(s.toString());}}}

浙公网安备 33010602011771号