客服系统个性化训练GPT知识库+知识库列表中新增向量搜索功能+语义文本搜索
大家都知道想要实现个性化训练的GPT,离不开向量数据库。
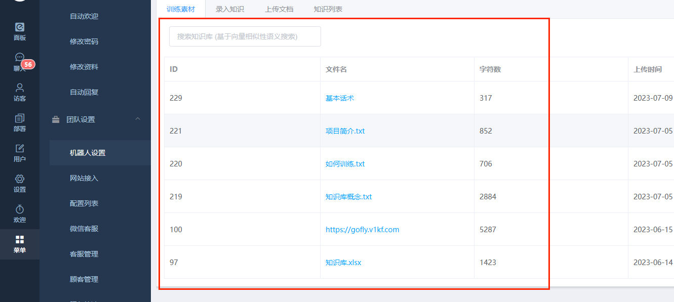
在我的客服系统后台,能够展示出向量库里的数据列表。现在有一个新需求,客户添加的数据很多,想要能够在后台搜索指定的数据,方便去修改。
新增搜索功能后,后台界面展示如下:

搜索部分也是基于的Qdrant数据库的search 接口,该接口需要把搜索的文本转成向量后,再通过向量去搜索相关数据。所以,还是需要调用下gpt的 /v1/embeddings ,把搜索的关键词转为向量。
拿到向量再去调用qdrant数据库的 /collections/集合/points/search ,就可以把关键词通过语义文本相似性搜索出相关的数据
看看下面的效果,我胡乱写的搜索关键词,正常的分词搜索是搜不出数据的,现在通过向量搜索就能搜出来了

对个性化训练GPT知识库功能感兴趣的朋友,欢迎加我的微信交流 : llike620
十年开发经验程序员,离职全心创业中,历时三年开发出的产品《唯一客服系统》
一款基于Golang+Vue开发的在线客服系统,软件著作权编号:2021SR1462600。一套可私有化部署的网站在线客服系统,编译后的二进制文件可直接使用无需搭开发环境,下载zip解压即可,仅依赖MySQL数据库,是一个开箱即用的全渠道在线客服系统,致力于帮助广大开发者/公司快速部署整合私有化客服功能。
开源地址:唯一客服(开源学习版)
官网地址:唯一客服官网
浙公网安备 33010602011771号