基于Vue+SSM+SpringCloudAlibaba员工列表增删改查
表说明:
Departemp:
depart_userID:员工编号
depart_userName:员工姓名
depart_parentID:员工上级领导ID
depart_jobID:员工岗位ID
depart_iphone:电话号码
depart_birthday:员工出生日期
depart_password:登录密码
depart_sex:员工性别(1:男 0:女)
depart_salary:薪资
Depart_job:

depart_jobID:员工岗位ID(与表Departemp中的depart_jobID对应)
depart_jobName:岗位名称
depart_jobLevel:岗位级别
功能要求
1.登录(5分)
根据表departemp中的depart_userName,depart_password字段进行登录。
1.1帐号密码错误,提示登陆失败(2分)
1.2帐号密码正确,登陆成功并跳转(3分)

2.权限校验(8分)
2.1登录成功生成token,并保存在前端(4分)
2.2清除token,会自动跳转到登陆页面(4分)

3.查询列表(57分)
(考试时候不要删除数据!!)
3.1菜单管理,添加部门管理,下面两个子菜单(员工列表,岗位列表)2分

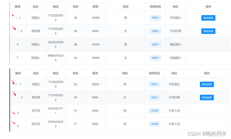
3.2员工列表展示,查询当前员工以及同级别员工信息以及下属员工信息。列如用项经理帐号登录,岗位级别为2,可以查看自己的信息,还有岗位级别为2的其他员工信息,以及项经理的下属信息(不可查看其他经理下属信息)
通过项经理帐号登陆!
3.2.1编号,姓名,电话,薪资展示正确(2分)
3.2.2年龄展示正确(2分)
3.2.3性别展示正确(2分)
3.2.4岗位展示正确(2分)
3.2.5领导姓名展示正确(2分)

3.2.6领导姓名鼠标悬停展示领导信息(5分),可采用Popover弹出框组件

3.2.7点击箭头,能展开项经理下属信息(5分)
3.2.8下属信息中的领导姓名展示正确(1分),鼠标悬停能正确展示领导信息(2分)

3.2.9其他同级人员信息展示正确(5分),领导姓名以及领导悬停信息展示正确(2分),同级别人员下属信息不可查(3分)

3.2.10同级别人员信息无修改权限(2分),自己和下属有修改权限(3分)

3.3 分页查询
分页条数正确(4分)
每页几条下拉正确(2分)
跳转正确(2分)
前往第几页正确(2分)

3.4三级联动查询
切换项部长帐号登录
3.4.1能够正确展示项部长下经理信息(2分)
3.4.1能够正确展示经理下属员工信息(5分)

4.条件查询(5分)
查询条件下拉框形式,其中只能有当前用户同等级别的岗位数据,比如说当前登陆用户项经理,级别为2,下拉框中就只有能级别为2的岗位数据

下拉分页条数正确(3分)
能够根据条件正确查询数据(2分)
5.修改信息(15)
5.1点击修改信息按钮,出现弹框,表单项正确(2分)
5.2姓名,薪资,电话回显正确(1分)
5.3出生日期回显正确(1分)
5.4性别回显正确(1分)

5.5 姓名不可修改(1分)
5.6 下属薪资可修改,自己薪资不可修改(4分)

5.7信息修改正确(5分)
6.新增下属(10)
5.1 点击新增下属弹框正确(2分)

5.2 点击新增下属弹岗位下拉正确,只能选择低于自己岗位级别的岗位(3分)

5.3 新增下属成功(5分)
浙公网安备 33010602011771号