基于Vue+SSM+SpringCloudAlibaba书籍管理系统
功能要求
一、登录功能(http://localhost:8080/#/login)
输入账号和密码(admin/admin)进行登录:
如果密码错误,给出提示信息
如果密码正确,跳转到主页
- 账号或密码错误:

- 账号密码正确:跳转到【图书列表】

- 分类(标签)管理
2.1 标签列表
- 点击【分类管理】-进入分类列表,展示所有分类信息

2.2 新增标签
点击【新增】进行添加分类,点击确定,刷新【分类列表】

2.3 编辑标签
点击要操作的记录右侧的【编辑】按钮,进行编辑分类。
- 回显数据
- 点击确认之后,刷新页面
 
 
2.4 删除标签
点击要操作的记录右侧的【删除】按钮,进行删除分类。
- 点击删除后,询问是否删除;
- 删除成功,给出提示,并刷新页面

- 用户列表
3.1 用户条件分页查询

3.2 新增用户
【新增用户】界面如下,要求同【新增分类】

2.3 编辑用户
【编辑用户】界面如下,要求同【编辑分类】

3.3 删除用户
要求同【删除分类】
3.4 批量删除用户
要求同【批量删除分类】
- 图书管理
3.1图书条件分页查询
多条件分页查询:图书标题模糊查询、创建日期范围查询

3.2 新增图书
【新增图书】界面如下,
注:
- 书籍标签需要从数据库查出动态数据
- 创建日期为新增书籍的当天

新增成功:提示【新增成功】,并刷新页面

2.3 编辑图书
【编辑用户】界面如下,点击要操作的记录右侧的【编辑】按钮,进行编辑分类。
- 回显数据
- 点击确认之后,刷新页面

3.3 删除图书
点击要操作的记录右侧的【删除】按钮,进行删除分类。
- 点击删除后,询问是否删除;
- 删除成功,给出提示,并刷新页面

3.4 批量删除图书
批量删除图书
- 选中要删除的记录
- 点击批量删除
- 点击确定按钮,删除成功后返回刷新列表![]() 
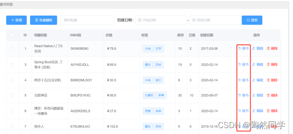
- 借阅图书
- 在【图书管理】界面点击想要借阅的图书右侧的【借阅】按钮,进入【借阅图书】界面

借阅界面

或者
- 点击【借阅图书】进入图书借阅界面

5.1 图书名称输入建议
1. 输入【图书名称】,查询数据库相关图书,给出输入建议

2.选中书籍后,回显图书ISBN编码和剩余库存数据

5.2 用户名输入建议
1. 输入【借阅人姓名】,查询数据库相关用户,给出输入建议

2.选中书籍后,回显借阅人编号

5.3 确认借阅
1. 点击确认借阅
2. 书籍库存-1,且书籍借出数量+1

 
 
借阅前:

借阅后:

- 归还图书
点击【归还图书】进入归还图书界面

6.1 输入建议
图书标题输入建议

用户名输入建议

6.2 还书操作
1. 点击还书按钮
2. 书籍库存+1,借出数量-1

 
 
还书前:

还书后:

6.3 图书丢失处理
如果用户丢失了图书,点击【丢失】按钮,记录书籍丢失情况。
- 点击【丢失】按钮
- 书籍库存不变,已借数量-1

丢失前:

丢失后:

6.4 查看所有【借还】记录
在【归还图书】界面,勾选【查看全部】可以查看所有书籍的借阅、归还、丢失记录。
默认只显示【借阅中】状态的记录。

 
                    
                     
                    
                 
                    
                
 
                
            
         
         浙公网安备 33010602011771号
浙公网安备 33010602011771号