深入理解TCP协议及其源代码
一、tcp协议
1.简介
传输控制协议(TCP,Transmission Control Protocol)是一种面向连接的、可靠的、基于字节流的传输层通信协议。面向连接的传输层协议在原点和重点之间建立了一条虚拟路径,同属于一个报文的所有报文段都沿着这条虚拟路径发送,为整个报文使用一条虚拟路径能够更容易地实施确认过程以及对损伤或者丢失报文的重传。如下图为TCP协议在TCP/IP协议族中的位置。

2.tcp建立连接的三次握手
所谓三次握手(Three-Way Handshake)即建立TCP连接,是指建立一个TCP连接时,需要客户端和服务端总共发送3个包以确认连接的建立。在socket编程中,这一过程由客户端执行connect来触发,整个流程如下图所示:

- 第一次握手:Client将标志位SYN置为1,随机产生一个值seq=J,并将该数据包发送给Server,Client进入SYN_SENT状态,等待Server确认。
- 第二次握手:Server收到数据包后由标志位SYN=1知道Client请求建立连接,Server将标志位SYN和ACK都置为1,ack (number )=J+1,随机产生一个值seq=K,并将该数据包发送给Client以确认连接请求,Server进入SYN_RCVD状态。
- 第三次握手:Client收到确认后,检查ack是否为J+1,ACK是否为1,如果正确则将标志位ACK置为1,ack=K+1,并将该数据包发送给Server,Server检查ack是否为K+1,ACK是否为1,如果正确则连接建立成功,Client和Server进入ESTABLISHED状态,完成三次握手,随后Client与Server之间可以开始传输数据了。
3.tcp终止连接的四次挥手过程
TCP连接是全双工的,因此每个方向都必须单独进行关闭。这个原则是当一方完成它的数据发送任务后就能发送一个FIN来终止这个方向的连接。收到一个 FIN只意味着这一方向上没有数据流动,一个TCP连接在收到一个FIN后仍能发送数据。首先进行关闭的一方将执行主动关闭,而另一方执行被动关闭。TCP的连接的拆除需要发送四个包,因此称为四次挥手(four-way handshake)。客户端或服务器均可主动发起挥手动作,在socket编程中,任何一方执行close()操作即可产生挥手操作。

- 客户端A发送一个FIN,用来关闭客户A到服务器B的数据传送。
- 服务器B收到这个FIN,它发回一个ACK,确认序号为收到的序号加1。和SYN一样,一个FIN将占用一个序号。
- 服务器B关闭与客户端A的连接,发送一个FIN给客户端A。
- 客户端A发回ACK报文确认,并将确认序号设置为收到序号加1。
二、代码分析
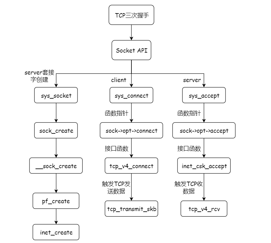
之前的实验中我们已经了解了在服务器端与客户端socket建立、连接、通信以及终止过程中所涉及到的系统调用。其中,在服务器端相继调用__sys_socket、__sys_bind和__sys_listen内核函数后,服务器进入监听状态,即打开端口被动地等待客户端连接。当客户端调用__sys_connect发出连接时,tcp三次握手过程的开始了。

结构体变量struct proto tcp_prot指定了TCP协议栈的访问接口函数
struct proto tcp_prot = { .name = "TCP", .owner = THIS_MODULE, .close = tcp_close, .pre_connect = tcp_v4_pre_connect, .connect = tcp_v4_connect, .disconnect = tcp_disconnect, .accept = inet_csk_accept, .ioctl = tcp_ioctl, .init = tcp_v4_init_sock, .destroy = tcp_v4_destroy_sock, .shutdown = tcp_shutdown, .setsockopt = tcp_setsockopt, .getsockopt = tcp_getsockopt, .keepalive = tcp_set_keepalive, .recvmsg = tcp_recvmsg, .sendmsg = tcp_sendmsg, .sendpage = tcp_sendpage, .backlog_rcv = tcp_v4_do_rcv, .release_cb = tcp_release_cb, .hash = inet_hash, .unhash = inet_unhash, .get_port = inet_csk_get_port, .enter_memory_pressure = tcp_enter_memory_pressure, .leave_memory_pressure = tcp_leave_memory_pressure, .stream_memory_free = tcp_stream_memory_free, .sockets_allocated = &tcp_sockets_allocated, .orphan_count = &tcp_orphan_count, .memory_allocated = &tcp_memory_allocated, .memory_pressure = &tcp_memory_pressure, .sysctl_mem = sysctl_tcp_mem, .sysctl_wmem_offset = offsetof(struct net, ipv4.sysctl_tcp_wmem), .sysctl_rmem_offset = offsetof(struct net, ipv4.sysctl_tcp_rmem), .max_header = MAX_TCP_HEADER, .obj_size = sizeof(struct tcp_sock), .slab_flags = SLAB_TYPESAFE_BY_RCU, .twsk_prot = &tcp_timewait_sock_ops, .rsk_prot = &tcp_request_sock_ops, .h.hashinfo = &tcp_hashinfo, .no_autobind = true,
客户端发送SYN报文
/* This will initiate an outgoing connection. */ int tcp_v4_connect(struct sock *sk, struct sockaddr *uaddr, int addr_len) { struct sockaddr_in *usin = (struct sockaddr_in *)uaddr; struct inet_sock *inet = inet_sk(sk); struct tcp_sock *tp = tcp_sk(sk); __be16 orig_sport, orig_dport; __be32 daddr, nexthop; struct flowi4 *fl4; struct rtable *rt; int err; struct ip_options_rcu *inet_opt; struct inet_timewait_death_row *tcp_death_row = &sock_net(sk)->ipv4.tcp_death_row; if (addr_len < sizeof(struct sockaddr_in)) return -EINVAL; if (usin->sin_family != AF_INET) return -EAFNOSUPPORT; nexthop = daddr = usin->sin_addr.s_addr; inet_opt = rcu_dereference_protected(inet->inet_opt, lockdep_sock_is_held(sk)); if (inet_opt && inet_opt->opt.srr) { if (!daddr) return -EINVAL; nexthop = inet_opt->opt.faddr; } orig_sport = inet->inet_sport; orig_dport = usin->sin_port; fl4 = &inet->cork.fl.u.ip4; rt = ip_route_connect(fl4, nexthop, inet->inet_saddr, RT_CONN_FLAGS(sk), sk->sk_bound_dev_if, IPPROTO_TCP, orig_sport, orig_dport, sk); if (IS_ERR(rt)) { err = PTR_ERR(rt); if (err == -ENETUNREACH) IP_INC_STATS(sock_net(sk), IPSTATS_MIB_OUTNOROUTES); return err; } if (rt->rt_flags & (RTCF_MULTICAST | RTCF_BROADCAST)) { ip_rt_put(rt); return -ENETUNREACH; } if (!inet_opt || !inet_opt->opt.srr) daddr = fl4->daddr; if (!inet->inet_saddr) inet->inet_saddr = fl4->saddr; sk_rcv_saddr_set(sk, inet->inet_saddr); if (tp->rx_opt.ts_recent_stamp && inet->inet_daddr != daddr) { /* Reset inherited state */ tp->rx_opt.ts_recent = 0; tp->rx_opt.ts_recent_stamp = 0; if (likely(!tp->repair)) tp->write_seq = 0; } inet->inet_dport = usin->sin_port; sk_daddr_set(sk, daddr); inet_csk(sk)->icsk_ext_hdr_len = 0; if (inet_opt) inet_csk(sk)->icsk_ext_hdr_len = inet_opt->opt.optlen; tp->rx_opt.mss_clamp = TCP_MSS_DEFAULT; /* Socket identity is still unknown (sport may be zero). * However we set state to SYN-SENT and not releasing socket * lock select source port, enter ourselves into the hash tables and * complete initialization after this. */ tcp_set_state(sk, TCP_SYN_SENT); err = inet_hash_connect(tcp_death_row, sk); if (err) goto failure; sk_set_txhash(sk); rt = ip_route_newports(fl4, rt, orig_sport, orig_dport, inet->inet_sport, inet->inet_dport, sk); if (IS_ERR(rt)) { err = PTR_ERR(rt); rt = NULL; goto failure; } /* OK, now commit destination to socket. */ sk->sk_gso_type = SKB_GSO_TCPV4; sk_setup_caps(sk, &rt->dst); rt = NULL; if (likely(!tp->repair)) { if (!tp->write_seq) tp->write_seq = secure_tcp_seq(inet->inet_saddr, inet->inet_daddr, inet->inet_sport, usin->sin_port); tp->tsoffset = secure_tcp_ts_off(sock_net(sk), inet->inet_saddr, inet->inet_daddr); } inet->inet_id = tp->write_seq ^ jiffies; if (tcp_fastopen_defer_connect(sk, &err)) return err; if (err) goto failure; err = tcp_connect(sk); if (err) goto failure; return 0; failure: /* * This unhashes the socket and releases the local port, * if necessary. */ tcp_set_state(sk, TCP_CLOSE); ip_rt_put(rt); sk->sk_route_caps = 0; inet->inet_dport = 0; return err; }
服务端accept等待连接请求
/* * This will accept the next outstanding connection. */ struct sock *inet_csk_accept(struct sock *sk, int flags, int *err, bool kern) { struct inet_connection_sock *icsk = inet_csk(sk); struct request_sock_queue *queue = &icsk->icsk_accept_queue; struct request_sock *req; struct sock *newsk; int error; lock_sock(sk); /* We need to make sure that this socket is listening, * and that it has something pending. */ error = -EINVAL; if (sk->sk_state != TCP_LISTEN) goto out_err; /* Find already established connection */ if (reqsk_queue_empty(queue)) { long timeo = sock_rcvtimeo(sk, flags & O_NONBLOCK); /* If this is a non blocking socket don't sleep */ error = -EAGAIN; if (!timeo) goto out_err; error = inet_csk_wait_for_connect(sk, timeo); if (error) goto out_err; } req = reqsk_queue_remove(queue, sk); newsk = req->sk; if (sk->sk_protocol == IPPROTO_TCP && tcp_rsk(req)->tfo_listener) { spin_lock_bh(&queue->fastopenq.lock); if (tcp_rsk(req)->tfo_listener) { /* We are still waiting for the final ACK from 3WHS * so can't free req now. Instead, we set req->sk to * NULL to signify that the child socket is taken * so reqsk_fastopen_remove() will free the req * when 3WHS finishes (or is aborted). */ req->sk = NULL; req = NULL; } spin_unlock_bh(&queue->fastopenq.lock); } out: release_sock(sk); if (req) reqsk_put(req); return newsk; out_err: newsk = NULL; req = NULL; *err = error; goto out; }
服务端接收客户端发来的SYN,发送SYN+ACK
* The socket must have it's spinlock held when we get * here, unless it is a TCP_LISTEN socket. * * We have a potential double-lock case here, so even when * doing backlog processing we use the BH locking scheme. * This is because we cannot sleep with the original spinlock * held. */ int tcp_v4_do_rcv(struct sock *sk, struct sk_buff *skb) { struct sock *rsk; if (sk->sk_state == TCP_ESTABLISHED) { /* Fast path */ struct dst_entry *dst = sk->sk_rx_dst; sock_rps_save_rxhash(sk, skb); sk_mark_napi_id(sk, skb); if (dst) { if (inet_sk(sk)->rx_dst_ifindex != skb->skb_iif || !dst->ops->check(dst, 0)) { dst_release(dst); sk->sk_rx_dst = NULL; } } tcp_rcv_established(sk, skb); return 0; } if (tcp_checksum_complete(skb)) goto csum_err; if (sk->sk_state == TCP_LISTEN) { struct sock *nsk = tcp_v4_cookie_check(sk, skb); if (!nsk) goto discard; if (nsk != sk) { if (tcp_child_process(sk, nsk, skb)) { rsk = nsk; goto reset; } return 0; } } else sock_rps_save_rxhash(sk, skb); if (tcp_rcv_state_process(sk, skb)) { rsk = sk; goto reset; } return 0; reset: tcp_v4_send_reset(rsk, skb); discard: kfree_skb(skb); /* Be careful here. If this function gets more complicated and * gcc suffers from register pressure on the x86, sk (in %ebx) * might be destroyed here. This current version compiles correctly, * but you have been warned. */ return 0; csum_err: TCP_INC_STATS(sock_net(sk), TCP_MIB_CSUMERRORS); TCP_INC_STATS(sock_net(sk), TCP_MIB_INERRS); goto discard; }
客户端收到服务端的SYN+ACK,发送ACK
static int tcp_rcv_synsent_state_process(struct sock *sk, struct sk_buff *skb, const struct tcphdr *th, unsigned int len) { .. tcp_send_ack(sk); ... }
三、GDB调试
和之前步骤相同,已调试方式打开QEMU

通过远程连接进入gdb开始,设置断点
b __sys_socket
b __sys_bind
b __sys_connect
b __sys_listen
b __sys_accept4
结果如图:

继续运行,在qmenu中输入replyhi,可以看到gdb中进入断点1

按c继续,此时需要在qmenu中输入hello才能继续往下执行

可以看到,TCP“三次握手”过程中依次涉及到的系统调用有socket、bind、listen、connect、accept。服务端调用socket()、bind()、listen()完成初始化。

浙公网安备 33010602011771号