浮木云学习日志(12)---表格设计(二)
上次做了一个包括表格的页面设计,个人认为关于表格设计的内容介绍比较笼统,可能没办法直接对这个组件进行透彻的了解,本次我就来详细介绍一下如何通过高级表格设计玩转表格设计。
感兴趣的小伙伴可以去他们官网https://www.fumucloud.com/一起体验一下这个高级表格组件。本次记录我们依然采用上次设计的页面:

1.基础列设置
基础列设置包括多选框、序号和操作栏,根据自己需求确定是否需要这三个表格列,我这里是将显示列的开关全部打开:

页面效果如下:

‘固定列’的意思就是将表格列固定,若表格出现横向滚动时,被固定的基础列不会随之滑动,同时根据自己的实际需求可对基础列的‘对齐方式’,‘列宽’,‘表头字体’,‘表头颜色’,‘表格字体’和‘表格颜色’进行设置。
2.表格列设置
表格列设置就是根据自己的需求添加相应的字段,一般情况下你只需要设置‘列名称’、‘对齐方式’即可,其它设置根据自己的实际需求设置即可,当你的实际列多于系统的默认列,可选择‘插入位置’,‘插入方式’来添加表格列。

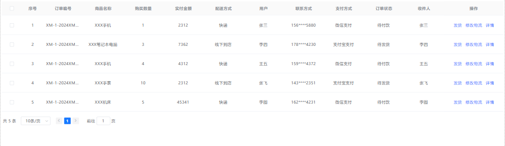
这里我需要强调一下表格列设置最牛逼的地方,如果在表格中显示不同的标签来表示数据的不同状态,下图为图例:

我们以图例中的‘配送方式’为例,在‘配送方式’表格列标签设置时,首先要选择‘值类型’为‘标签文字’,此时右侧‘值配置’才有效。

在‘值配置’中设置‘过滤条件’,用不同的数值表示不同的‘标签类型’,我这里将‘标签类型’为‘快递’的‘过滤值’设置为‘1’,‘标签类型’为‘2’的‘过滤值’设置为‘2’,其它为系统默认即可。
3.按钮设置
按钮设置就是确定这个表格里有几个可操作功能,需求有几个,你就添加几个按钮,并输入相应的按钮名称,选择对应的‘按钮类型’,一般情况下表格设计的按钮为‘文字按钮’,因此我这里也选择的是‘文字按钮’,相比较而言,文字按钮放在表格里不是那么突兀。‘按钮尺寸’设置为‘默认尺寸’或‘中型尺寸’即可,这里一定要设置按钮的间距,值设置多少自己决定,不然的话按钮层次不分明,容易让别人误认为这是一个按钮。下图就是一个不设置间距的效果:

因此当你设置的按钮多于1个时,务必要从第二个按钮开始,每个按钮都要设置左外间距值。
4.表格数据设置
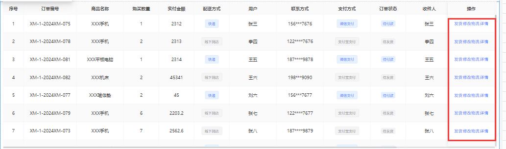
表格数据设置相比较而言最简单,你可以‘导出’表格模板,在本地输入相应的值,在一键‘导入’即可,这是最方便的;也可以在线填写数值,只是稍微耗费时间一些。不过我这里要强调一点,刚才我们在表格列设置中将部分字段设置为标签文字,那我们在表格数据设置中的对应字段下填入对应的过滤值,我们以‘配送方式’为例,如图所示:

展示的效果图如下图所示:

好了,一个完整的表格设计就介绍到这里了,如果大家也想设计一个好看高级的表格设计,那么就来玩转高级表格组件吧!

浙公网安备 33010602011771号