实验一-密码引擎-3-加密API研究--20201313
微软的CryptoAPI加密技术
功能:为应用程序开发者提供在Win32环境下使用加密、验证等安全服务时的标准加密接口。CryptoAPI处于应用程序和CSP(cryptographic service provider)之间。CryptoAPI共有五部分组成:简单消息函数(Simplified Message Functions)、低层消息函数(Low-level Message Functions)、基本加密函数(Base Cryptographic Functions)、证书编解码函数(Certificate Encode/Decode Functions)和证书库管理函数(Certificate Store Functions)。其中前三者可用于对敏感信息进行加密或签名处理,可保证网络传输信心的私有性;后两者通过对证书的使用,可保证网络信息交流中的认证性。
基本加密函数:为开发加密应用程序提供了足够灵活的空间。所有CSP 的通讯都是通过这些函数。

编码/解码函数:用来对证书、证书撤销列表、证书请求和证书扩展进行编码和解码。

证书和证书库函数:这组函数管理、使用和取得证书、证书撤销列表和证书信任列表。

低级消息函数:

简化消息函数:

CSP:真正实行加密的独立模块,既可以由软件实现也可以由硬件实现。但是他必须符合CryptoAPI接口的规范。

创建密钥容器,得到CSP句柄:每一个CSP都有一个名字和一个类型,并且名字保证唯一。所以可以通过名字和类型得到一个CSP。然而,要想加密肯定需要密钥,密钥放在密钥容器。密钥容器并不是一开始就存在的,需要用户去创建。下面是创建容器的代码:
if(CryptAcquireContext(
&hCryptProv, // 返回CSP句柄
UserName, // 密码容器名
NULL, // NULL时使用默认CSP名(微软RSA Base Provider)
PROV_RSA_FULL, // CSP类型
0)) // Flag values
{
//以UserName为名的密钥容器存在,那么我们已经得到了CSP的句柄
printf("A crypto context with the %s key container \n", UserName);
printf("has been acquired.\n\n");
}
else //如果密钥容器不存在,我们需要创建这个密钥容器
{
if(CryptAcquireContext(
&hCryptProv,
UserName,
NULL,
PROV_RSA_FULL,
CRYPT_NEWKEYSET)) //创建以UserName为名的密钥容器
{
//创建密钥容器成功,并得到CSP句柄
printf("A new key container has been created.\n");
}
else
{
HandleError("Could not create a new key container.\n");
}
} // End of else
使用CryptoAPI加密解密:windows crypto API提供了对称加密和非对称加密,并且提供了各种加密、解密的算法,要使用相应的算法进行加密解密,只需要对生成密钥的函数的相关参数改变一下即可。

PKCS#11及CSP接口标准
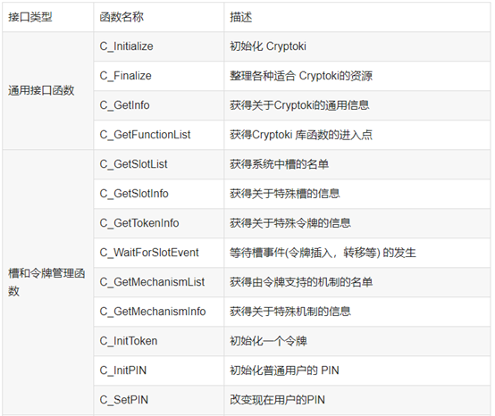
PKCS#11(简称P11)是针对密码设备的接口指令标准。P11模型中重要的概念之一是slot,也称为槽。一个slot为一个密码设备对象。某个打开的slot会话称之为session。Session之间存在不同的验证权限。而同一个slot的不同的session之间存在操作的互相影响性,同时在某些状况下,权限会发生同步。另外一个重要的概念是对象。P11中支持几种重要的对象,如公钥、私钥、对称密钥,数据对象等。PKCS#11创建和支持下列对象:

PKCS#11的对象可根据其生命期长短的不同分成两大类:一类是持久存储的类对象,这类对象被保存在USB Key的安全存储区域当中,直到应用程序主动删除这些对象;另一类是会话对象,这类对象只存在于运行时建立的特定会话(Session对象)当中,一旦会话结束,这类对象也跟着被删除。决定对象生命期的模板属性是CKA_TOKEN,这是个布尔值,所有的对象都有这一属性。当该值为TRUE时,该对象将被保存到Key内的存储空间,否则,该对象保存在会话空间中,当会话结束后,该对象即销毁。P11标准颁发了70余条指令。其中部分指令简介如下表:




PKCS#11架构

GMT 0016-2012
这个标准规定了基于PKI密码体制的智能密码钥匙密码应用接口,描述了密码应用接口的函数、数据类型、参数的定义和设备的安全要求。层次关系:智能密码钥匙密码应用接口位于智能密码钥匙应用程序与设备之间,如下图:

设备管理系列函数:

访问控制系列函数

应用管理函数

容器管理系列函数

密码服务系列函数


GMT 0018-2012
本标准的目标是为公钥密码基础设施应用体系框架下的服务类密码设备制定统一的应用接口标准,通过该接口调用密码设备,向上层提供基础密码服务。为该类密码设备的开发、使用及检测提供标准依据和指导,有利于提高该类密码设备的产品化、标准化和系列化水平。范围:本标准规定了公钥密码基础设施应用技术体系下服务类密码设备的应用接口标准,适用于服务类密码设备的研制、使用,以及基于该类密码设备的应用开发,也可用于指导该类密码设备的检测。密码设备应用接口在公钥密码基础设施应用技术体系框架中的位置:在公钥密码基础设施应用技术体系框架中,密码设备服务层由密码机、密码卡、智能密码终瑞等设备组成,通过本标准规定的密码设备应用接口向通用密码服务层提供基础密码服务。如下图:

基础密码服务包括密钥生成、单一的密码运算、文件管理等服务。本标准采用C语言描述接口函数,无特别说明时,函数中参数的长度单位均为字节数。
设备管理类函数:

密钥管理类函数:

非对称算法运算类函数

对称算法运算类函数

杂凑运算类函数

3 以龙脉GM3000Key为例,写出调用不同接口的代码(Crypto API,PKCS#11,SKF接口),把运行截图加入博客,并提供代码链接
3.1 Crypto API
3.1.1 龙脉密码钥匙驱动实例工具等\mToken-GM3000\csp\samples\CryptAPI\VC\EncryptDecryptFile

加密前和加密后的文件内容

3.1.2 龙脉密码钥匙驱动实例工具等\mToken-GM3000\csp\samples\CryptAPI\VC\EnumCerts

3.1.3 龙脉密码钥匙驱动实例工具等\mToken-GM3000\csp\samples\CryptAPI\VC\Sign_Verify

3.2 PKCS#11
3.2.1 龙脉密码钥匙驱动实例工具等\mToken-GM3000\pkcs11\windows\samples\GetUSBInfos

3.2.2 龙脉密码钥匙驱动实例工具等\mToken-GM3000\pkcs11\windows\samples\PKCStest
使用DES

使用RC2

使用RSA

使用AES

3.3 SKF
3.3.1 龙脉密码钥匙驱动实例工具等\mToken-GM3000\skf\samples\windows\DevAuth

浙公网安备 33010602011771号