mybatis Example Criteria like 模糊查询
简介
XXXExample类用于构造复杂的筛选条件
它包含一个名为Criteria的内部静态类,它包含将在where子句中一起结合的条件列表。
Criteria类的集合允许您生成几乎无限类型的where子句。
可以使用createCriteria方法或or方法创建Criteria对象。
当使用createCriteria方法创建第一个Criteria对象时,它会自动添加到Criteria对象列表中 -
如果不需要其他子句,则可以轻松编写简单的Where子句。使用or方法时,Criteria类将添加到所有实例的列表中。
官方建议仅使用or方法创建Criteria类。这种方法可以使代码更具可读性。
- Criteria类
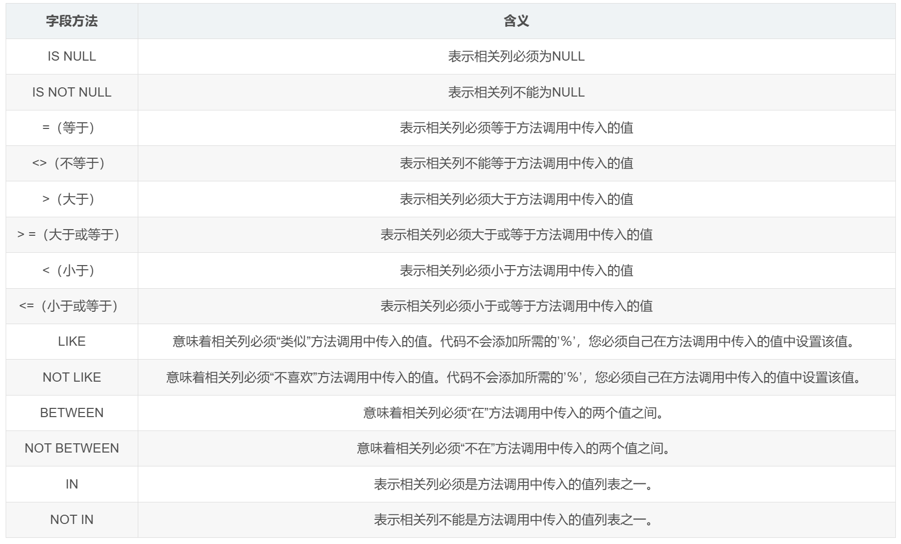
Criteria内部类包括每个字段的andXXX方法,以及每个标准SQL谓词,包括:

简单实例
- 生成简单的WHERE子句
TestTableExample example = new TestTableExample(); example.createCriteria().andField1EqualTo(5); 或者 TestTableExample example = new TestTableExample(); example.or().andField1EqualTo(5);
实际上动态生成的where子句是这样
where field1 = 5
- 复杂查询
TestTableExample example = new TestTableExample(); example.or() .andField1EqualTo(5) .andField2IsNull(); example.or() .andField3NotEqualTo(9) .andField4IsNotNull(); List<Integer> field5Values = new ArrayList<Integer>(); field5Values.add(8); field5Values.add(11); field5Values.add(14); field5Values.add(22); example.or() .andField5In(field5Values); example.or() .andField6Between(3, 7);
实际上动态生成的where子句是这样
where (field1 = 5 and field2 is null) or (field3 <> 9 and field4 is not null) or (field5 in (8, 11, 14, 22)) or (field6 between 3 and 7)
- 可以通过在任何示例类上调用setDistinct(true)方法来强制查询为DISTINCT。
模糊查询实战
自己根据理解配合PageHelper做了一个简单的多条件模糊查询加深理解
具体实现如下,支持多个字段的同时搜索
PageHelper.startPage(pageNum,pageSize); TbBrandExample example = new TbBrandExample(); TbBrandExample.Criteria criteria = example.createCriteria(); if (tbBrand != null) { if (tbBrand.getName() != null && tbBrand.getName().length()>0) { criteria.andNameLike("%"+tbBrand.getName()+"%"); } if (tbBrand.getFirstChar() != null && tbBrand.getFirstChar().length()>0) { criteria.andFirstCharLike("%"+tbBrand.getFirstChar()+"%"); } } Page<TbBrand> page = (Page<TbBrand>) brandMapper.selectByExample(example); return new PageResult((int) page.getTotal(),page.getResult());
参考:https://blog.csdn.net/ouzhuangzhuang/article/details/82758683

浙公网安备 33010602011771号