选择结构
1、if选择结构
if选择结构一般用于单个判断,条件成立则会执行相应的代码。
语法:
if(表达式){ //表达式返回的是一个boolean类型的值。如果值为true,则执行if代码块的内容;
//如果值为false,则不会执行if代码块的内容,继续向下执行
//代码块
}
流程图:

2、if-else选择结构
if-else选择结构一般用于二选一的情况,如果if成立则执行if的代码块,否则执行else中的代码块。
if-else中必然会有一个被执行。
语法:
if(表达式){
//代码块1。当表达式的值为true时,执行这里的内容
}else{
//代码块2。当表达式的值为false时,执行这里的内容
}
流程图:

3、多重if选择结构
多重if选择结构主要用于多重判断的情况。
语法:
if(表达式1){
//表达式1的值为true时,执行这里的代码块
}else if(表达式2){
//表达式2的值为true时,执行这里的代码块
}else if(表达式3){
//表达式的值为true时,执行这里的代码块
}
……
else{
//以上所有条件都不满足的时候,执行这里的代码块
}
流程图:

注意:判断条件不能乱,程序是自上而下执行的,当遇到第一个满足条件的时候,就会执行对应的代码块,不会再去对其他的代码块进行判断执行。
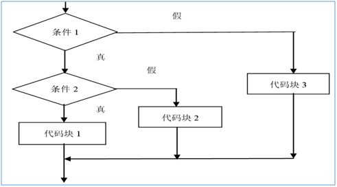
4、嵌套if选择结构
嵌套if选择结构就是在if判断语句中还有if判断的语句。嵌套if控制语句可以通过外层语句和内层语句的协作,增强程序的灵活性。
当有多个条件需要同时满足时,可以考虑使用嵌套if选择结构。
语法:
if(条件1){
if(条件2){
//代码块1
}else{
//代码块2
}
}else{
//代码块3
}
流程图:

5、switch选择结构
switch选择结构通过匹配某个条件,来执行某块代码。
语法:
switch(表达式){
case 常量1:
语句;
break;
case 常量2:
语句;
break;
……
deault:
语句;
break;
}
switch表达式可以接受的类型是:int,short,byte,char,String和枚举类型。
注意:1、switch选择结构用于多重分支且条件判断是等值判断的情况。
2、常量名不能重复。
3、case后面的常量不是必须要按照某种顺序,switch后面的值会去找和自己匹配的常量值,然后执行对应的代码块。如果没有找到,则执行default中的代码块。
4、switch结束有两种情况:①遇到break;②执行到switch语句结束。
5、case和default是没有前后顺序的,但是执行时先执行case语句,如果没有符合的会执行default语句;如果default放在了前面,则一定要加上break, default语句一般是放在最后。
Switch语句和if语句比较
①相同点:
都可以用来处理多分支结构。
②区别:
if多用于区间判断, 如i >= 2 && i <= 5。
switch用于等值条件的判断。
③用switch能做的,用if都能做,但反过来则不行。

浙公网安备 33010602011771号