BLOG-3
前言
知识点:
面向对象的基础知识:包括类和对象的基础概念、构造方法、访问权限和成员变量。
面向对象的设计原则:这个题目着重讲述了两个重要的面向对象设计原则:继承和组合。要求学生对两者的区别有深入的理解,并能根据实际需求选择使用哪种设计原则。
异常处理:这个题目中涉及到了大量的异常情况,需要学生能正确地处理这些异常情况。
字符串处理:输入和输出的格式涉及到了大量的字符串处理,包括字符串的拆分、组合、转换等。
基础的控制流和数据结构:例如循环、条件语句、数组和列表。
题量:
不是太大,小题写的会快些,但是系列题找测试点的过程有时候很费时间
难度:
中等偏上,包含了诸多细节和需求,包括各种异常处理和特殊情况的处理
分析与设计
7-1 容器-HashMap-检索
分数 10
全屏浏览题目
切换布局
作者 蔡轲
单位 南昌航空大学
输入多个学生的成绩信息,包括:学号、姓名、成绩。
学号是每个学生的唯一识别号,互不相同。
姓名可能会存在重复。
使用HashMap存储学生信息,并实现根据学号的检索功能
输入格式:
输入多个学生的成绩信息,每个学生的成绩信息格式:学号+英文空格+姓名+英文空格+成绩
以“end”为输入结束标志
end之后输入某个学号,执行程序输出该生的详细信息
输出格式:
输出查询到的学生信息格式:学号+英文空格+姓名+英文空格+成绩
如果没有查询到,则输出:"The student "+查询的学号+" does not exist"
输入样例1:
在这里给出一组输入。例如:
20201107 张少军 83
20201116 李四 78
20201118 郑觉先 80
end
20201116
输出样例1:
在这里给出相应的输出。例如:
20201116 李四 78
输入样例2:
在这里给出一组输入。例如:
20201107 张少军 83
20201116 李四 78
20201118 郑觉先 80
end
20202316
输出样例2:
在这里给出相应的输出。例如:
The student 20202316 does not exist
import java.util.HashMap; import java.util.Scanner; class Student { private String Id; private String name; private int score; public Student(String studentId, String name, int score) { this.Id = studentId; this.name = name; this.score = score; } public String getId() { return Id; } public String getName() { return name; } public int getScore() { return score; } } public class Main { public static void main(String[] args) { HashMap<String, Student> studentMap = new HashMap<>(); Scanner scanner = new Scanner(System.in); // 输入学生信息 while (true) { String input = scanner.nextLine(); if (input.equals("end")) { break; } String[] part = input.split(" "); String Id = part[0]; String name = part[1]; int score = Integer.parseInt(part[2]); Student student = new Student(Id, name, score); studentMap.put(Id, student); } // 查询学生信息 String queryStudentId = scanner.nextLine(); if (studentMap.containsKey(queryStudentId)) { Student student = studentMap.get(queryStudentId); System.out.println(student.getId() + " " + student.getName() + " " + student.getScore()); } else { System.out.println("The student " + queryStudentId + " does not exist"); } } }
本题比较简单,了解一下HashMap的使用即可完成本题

7-2 容器-HashMap-排序
分数 10
全屏浏览题目
切换布局
作者 蔡轲
单位 南昌航空大学
输入多个学生的成绩信息,包括:学号、姓名、成绩。
学号是每个学生的唯一识别号,互不相同。
姓名可能会存在重复。
要求:使用HashMap存储学生信息。
输入格式:
输入多个学生的成绩信息,每个学生的成绩信息格式:学号+英文空格+姓名+英文空格+成绩
以“end”为输入结束标志
输出格式:
按学号从大到小的顺序输出所有学生信息,每个学生信息的输出格式:学号+英文空格+姓名+英文空格+成绩
输入样例:
在这里给出一组输入。例如:
20201124 张少军 83
20201136 李四 78
20201118 郑觉先 80
end
输出样例:
在这里给出相应的输出。例如:
20201136 李四 78
20201124 张少军 83
20201118 郑觉先 80
import java.util.*; class Student { private String Id; private String name; private int score; public Student(String studentId, String name, int score) { this.Id = studentId; this.name = name; this.score = score; } public String getId() { return Id; } public String getName() { return name; } public int getScore() { return score; } } public class Main { public static void main(String[] args) { HashMap<String, Student> studentMap = new HashMap<>(); Scanner scanner = new Scanner(System.in); // 输入学生信息 while (true) { String input = scanner.nextLine(); if (input.equals("end")) { break; } String[] part = input.split(" "); String Id = part[0]; String name = part[1]; int score = Integer.parseInt(part[2]); Student student = new Student(Id, name, score); studentMap.put(Id, student); } // 按学号从大到小排序 List<String> sortedKeys = new ArrayList<>(studentMap.keySet()); sortedKeys.sort(Collections.reverseOrder()); // 输出学生信息 for (String studentId : sortedKeys) { Student student = studentMap.get(studentId); System.out.println(student.getId() + " " + student.getName() + " " + student.getScore()); } } }
本题在7-1 容器-HashMap-检索的基础上增加了一个排序功能,按学号大小输出,也比较简单,很快即可完成

7-4 动物发声模拟器(多态)
分数 20
全屏浏览题目
切换布局
作者 刘凤良
单位 天津仁爱学院
设计一个动物发生模拟器,用于模拟不同动物的叫声。比如狮吼、虎啸、狗旺旺、猫喵喵……。
定义抽象类Animal,包含两个抽象方法:获取动物类别getAnimalClass()、动物叫shout();
然后基于抽象类Animal定义狗类Dog、猫类Cat和山羊Goat,用getAnimalClass()方法返回不同的动物类别(比如猫,狗,山羊),用shout()方法分别输出不同的叫声(比如喵喵、汪汪、咩咩)。
最后编写AnimalShoutTest类测试,输出:
猫的叫声:喵喵
狗的叫声:汪汪
山羊的叫声:咩咩
其中,在AnimalShoutTestMain类中,用speak(Animal animal){}方法输出动物animal的叫声,在main()方法中调用speak()方法,分别输出猫、狗和山羊对象的叫声。
请在下面的【】处添加代码。
//动物发生模拟器. 请在下面的【】处添加代码。
public class AnimalShoutTest2 {
public static void main(String[] args) {
Cat cat = new Cat();
Dog dog = new Dog();
Goat goat = new Goat();
speak(cat);
speak(dog);
speak(goat);
}
//定义静态方法speak()
【】
}
//定义抽象类Animal
【】class Animal{
【】
}
//基于Animal类,定义猫类Cat,并重写两个抽象方法
class Cat 【】{
【】
【】
}
//基于Animal类,定义狗类Dog,并重写两个抽象方法
class Dog 【】{
【】
【】
}
//基于Animal类,定义山羊类Goat,并重写两个抽象方法
class Goat 【】{
【】
【】
}
输入样例:
输出样例:
猫的叫声:喵喵
狗的叫声:汪汪
山羊的叫声:咩咩
//动物发生模拟器 public class Main { public static void main(String[] args) { Cat cat = new Cat(); Dog dog = new Dog(); Goat goat = new Goat(); speak(cat); speak(dog); speak(goat); } //定义静态方法speak() public static void speak(Animal animal){ System.out.println(animal.getAnimalClass() + "的叫声:" + animal.shout()); } } //定义抽象类Animal abstract class Animal{ public abstract String getAnimalClass(); public abstract String shout(); } //基于Animal类,定义猫类Cat,并重写两个抽象方法 class Cat extends Animal{ public String getAnimalClass(){ return "猫"; } public String shout(){ return "喵喵"; } } //基于Animal类,定义狗类Dog,并重写两个抽象方法 class Dog extends Animal{ public String getAnimalClass(){ return "狗"; } public String shout(){ return "汪汪"; } } //基于Animal类,定义山羊类Goat,并重写两个抽象方法 class Goat extends Animal{ public String getAnimalClass(){ return "山羊"; } public String shout(){ return "咩咩"; } }
本题考查抽象类和多态,已经给出了基本框架,只要往里填就行了,比较简单

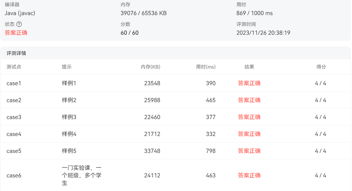
7-3 课程成绩统计程序-2
分数 60
全屏浏览题目
切换布局
作者 蔡轲
单位 南昌航空大学
课程成绩统计程序-2在第一次的基础上增加了实验课,以下加粗字体显示为本次新增的内容。
某高校课程从性质上分为:必修课、选修课、实验课,从考核方式上分为:考试、考察、实验。
考试的总成绩由平时成绩、期末成绩分别乘以权重值得出,比如平时成绩权重0.3,期末成绩权重0.7,总成绩=平时成绩*0.3+期末成绩*0.7。
考察的总成绩直接等于期末成绩
实验的总成绩等于课程每次实验成绩的平均分
必修课的考核方式必须为考试,选修课可以选择考试、考察任一考核方式。实验课的成绩必须为实验。
1、输入:
包括课程、课程成绩两类信息。
课程信息包括:课程名称、课程性质、考核方式(可选,如果性质是必修课,考核方式可以没有)三个数据项。
课程信息格式:课程名称+英文空格+课程性质+英文空格+考核方式
课程性质输入项:必修、选修、实验
考核方式输入选项:考试、考察、实验
考试/考查课程成绩信息包括:学号、姓名、课程名称、平时成绩(可选)、期末成绩
考试/考查课程信息格式:学号+英文空格+姓名+英文空格+课程名称+英文空格+平时成绩+英文空格+期末成绩
实验课程成绩信息包括:学号、姓名、课程名称、实验次数、每次成绩
实验次数至少4次,不超过9次
实验课程信息格式:学号+英文空格+姓名+英文空格+课程名称+英文空格+实验次数+英文空格+第一次实验成绩+...+英文空格+最后一次实验成绩
以上信息的相关约束:
1)平时成绩和期末成绩的权重默认为0.3、0.7
2)成绩是整数,不包含小数部分,成绩的取值范围是【0,100】
3)学号由8位数字组成
4)姓名不超过10个字符
5)课程名称不超过10个字符
6)不特别输入班级信息,班级号是学号的前6位。
2、输出:
输出包含三个部分,包括学生所有课程总成绩的平均分、单门课程成绩平均分、单门课程总成绩平均分、班级所有课程总成绩平均分。
为避免误差,平均分的计算方法为累加所有符合条件的单个成绩,最后除以总数。
1)学生课程总成绩平均分按学号由低到高排序输出
格式:学号+英文空格+姓名+英文空格+总成绩平均分
如果某个学生没有任何成绩信息,输出:学号+英文空格+姓名+英文空格+"did not take any exams"
2)单门课程成绩平均分分为三个分值:平时成绩平均分(可选)、期末考试平均分、总成绩平均分,按课程名称的字符顺序输出
考试/考察课程成绩格式:课程名称+英文空格+平时成绩平均分+英文空格+期末考试平均分+英文空格+总成绩平均分
实验课成绩格式:课程名称+英文空格+总成绩平均分
如果某门课程没有任何成绩信息,输出:课程名称+英文空格+"has no grades yet"
3)班级所有课程总成绩平均分按班级由低到高排序输出
格式:班级号+英文空格+总成绩平均分
如果某个班级没有任何成绩信息,输出:班级名称+英文空格+ "has no grades yet"
异常情况:
1)如果解析某个成绩信息时,课程名称不在已输入的课程列表中,输出:学号+英文空格+姓名+英文空格+":"+课程名称+英文空格+"does not exist"
2)如果解析某个成绩信息时,输入的成绩数量和课程的考核方式不匹配,输出:学号+英文空格+姓名+英文空格+": access mode mismatch"
以上两种情况如果同时出现,按第一种情况输出结果。
3)如果解析某个课程信息时,输入的课程性质和课程的考核方式不匹配,输出:课程名称+" : course type & access mode mismatch"
4)格式错误以及其他信息异常如成绩超出范围等,均按格式错误处理,输出"wrong format"
5)若出现重复的课程/成绩信息,只保留第一个课程信息,忽略后面输入的。
信息约束:
1)成绩平均分只取整数部分,小数部分丢弃
参考类图(与第一次相同,其余内容自行补充):
输入样例1:
在这里给出一组输入。例如:
java 实验 实验
20201103 张三 java 4 70 80 90
end
输出样例1:
在这里给出相应的输出。例如:
20201103 张三 : access mode mismatch
20201103 张三 did not take any exams
java has no grades yet
202011 has no grades yet
输入样例2:
在这里给出一组输入。例如:
java 实验 实验
20201103 张三 java 3 70 80 90
end
输出样例2:
在这里给出相应的输出。例如:
wrong format
java has no grades yet
输入样例3:
在这里给出一组输入。例如:
java 必修 实验
20201103 张三 java 3 70 80 90 100
end
输出样例3:
在这里给出相应的输出。例如:
java : course type & access mode mismatch
wrong format
输入样例4:
在这里给出一组输入。例如:
java 必修 实验
20201103 张三 java 4 70 80 90 105
end
输出样例4:
在这里给出相应的输出。例如:
java : course type & access mode mismatch
wrong format
输入样例5:
在这里给出一组输入。例如:
java 选修 考察
C语言 选修 考察
java实验 实验 实验
编译原理 必修 考试
20201101 王五 C语言 76
20201216 李四 C语言 78
20201307 张少军 编译原理 82 84
20201103 张三 java实验 4 70 80 90 100
20201118 郑觉先 java 80
20201328 刘和宇 java 77
20201220 朱重九 java实验 4 60 60 80 80
20201132 王萍 C语言 40
20201302 李梦涵 C语言 68
20201325 崔瑾 编译原理 80 84
20201213 黄红 java 82
20201209 赵仙芝 java 76
end
输出样例5:
在这里给出相应的输出。例如:
20201101 王五 76
20201103 张三 85
20201118 郑觉先 80
20201132 王萍 40
20201209 赵仙芝 76
20201213 黄红 82
20201216 李四 78
20201220 朱重九 70
20201302 李梦涵 68
20201307 张少军 83
20201325 崔瑾 82
20201328 刘和宇 77
C语言 65 65
java 78 78
java实验 77
编译原理 81 84 82
202011 70
202012 76
202013 77
import java.text.Collator; import java.util.*; public class Main { public static void main(String[] args) { Scanner s = new Scanner(System.in); String s_record = s.nextLine(); ParseInput handle=new ParseInput(); while (!s_record.equals("end")) { handle.parseInput(s_record); s_record = s.nextLine(); } handle.MySort(); handle.studentScore(); handle.CourseScore(); handle.ClassScore(); } } class ParseInput{ private final ArrayList<SelectCourse> selectCourses = new ArrayList<>(); private final ArrayList<Course> courses = new ArrayList<>(); private final ArrayList<Student> students = new ArrayList<>(); private final ArrayList<String> Class = new ArrayList<>(); private final HashMap<String,String> courseMethod=new HashMap(); public void parseInput(String input){ String []inputs=input.split(" "); if(InputMatching.matchingInput(input)==1){ courseMethod.put(inputs[0],inputs[2]); if(checkCourse(inputs[0])!=null)return; else { if(inputs[1].equals("必修")&&(!inputs[2].equals("考试"))){ System.out.println(inputs[0]+" : course type & access mode mismatch"); } else if(inputs[1].equals("选修")&&!(inputs[2].equals("考试")||inputs[2].equals("考察"))){ System.out.println(inputs[0]+" : course type & access mode mismatch"); } else if(inputs[1].equals("实验")&&!(inputs[2].equals("实验"))){ System.out.println(inputs[0]+" : course type & access mode mismatch"); } else courses.add(new Course(inputs[0],inputs[1],inputs[2])); } } else if(InputMatching.matchingInput(input)==2){ Course findcourse=checkCourse(inputs[2]); if(inputs.length>5&&(Integer.parseInt(inputs[3])<4||Integer.parseInt(inputs[3])>9)) { System.out.println("wrong format"); return; } Student newStudent = new Student(inputs[0],inputs[1]); if(!checkStudent(newStudent.getNum()))students.add(newStudent); if(!checkClass(inputs[0].substring(0,6))){ Class.add(inputs[0].substring(0,6)); } if(checkSelect(inputs[0],inputs[2]))return; if(findcourse==null){ System.out.println(inputs[2]+" does not exist"); return; } else if(findcourse.getMethod().equals("考试")&&inputs.length!=5){ System.out.println(inputs[0]+' '+inputs[1]+" : access mode mismatch"); } else if(findcourse.getMethod().equals("考察")&&inputs.length!=4){ System.out.println(inputs[0]+' '+inputs[1]+" : access mode mismatch"); } else if(findcourse.getMethod().equals("实验")&&(inputs.length-4!=Integer.parseInt(inputs[3]))){ System.out.println(inputs[0]+' '+inputs[1]+" : access mode mismatch"); } else{ SelectCourse newSelectCourse=new SelectCourse(); newSelectCourse.setCourse(findcourse); Grade grade=null; if(findcourse.getMethod().equals("考试")){ ExamGrade examGrade=new ExamGrade(); examGrade.setUsualGrade(Integer.parseInt(inputs[3])); examGrade.setFinalGrade(Integer.parseInt(inputs[4])); grade=examGrade; } else if(findcourse.getMethod().equals("实验")){ NoExamGrade noExamGrade=new NoExamGrade(); double sumScore=0; for (int i=4;i<inputs.length;i++)sumScore+=Integer.parseInt(inputs[i]); noExamGrade.setFinalGrade((int)(sumScore/Integer.parseInt(inputs[3]))); grade=noExamGrade; } else { NoExamGrade noExamGrade=new NoExamGrade(); noExamGrade.setFinalGrade(Integer.parseInt(inputs[3])); grade=noExamGrade; } newSelectCourse.setGrade(grade); newSelectCourse.setStudent(newStudent); selectCourses.add(newSelectCourse); } } else System.out.println("wrong format"); } private Course checkCourse(String courseName){ for (Course course:courses){ if(course.getName().equals(courseName))return course; } return null; } private Boolean checkStudent(String num){ for (Student student:students){ if(student.getNum().equals(num))return true; } return false; } private Boolean checkClass(String classnum){ for (String cname:Class){ if(cname.equals(classnum))return true; } return false; } private Boolean checkSelect(String stunum,String cname){ for (SelectCourse selectCourse:selectCourses){ if(selectCourse.getStudent().getNum().equals(stunum)&&selectCourse.getCourse().getName().equals(cname))return true; } return false; } public void studentScore(){ for (Student student:students){ double sum=0; int count=0; for (SelectCourse selectCourse:selectCourses){ if (selectCourse.getStudent().getNum().equals(student.getNum())) { sum+=selectCourse.getGrade().getTotalGrade(); count++; } } if(count==0) System.out.println(student.getNum()+' '+student.getName()+' '+"did not take any exams"); else System.out.println(student.getNum()+' '+student.getName()+' '+(int)(sum/count)); } } public void CourseScore(){ for (Course course:courses){ double sumUsualScore=0; double sumFinalScore=0; double sumTotalScore=0; int count=0; for(SelectCourse selectCourse:selectCourses){ if(selectCourse.getCourse().getName().equals(course.getName())){ count++; sumTotalScore+=selectCourse.getGrade().getTotalGrade(); sumFinalScore+=selectCourse.getGrade().getFinalGrade(); if(selectCourse.getCourse().getMethod().equals("考试")){ sumUsualScore+=selectCourse.getGrade().getUsualGrade(); } } } if (count==0) System.out.println(course.getName()+' '+"has no grades yet"); else if(course.getMethod().equals("考试"))System.out.println(course.getName()+' '+(int)(sumUsualScore/count)+' '+(int)(sumFinalScore/count)+' '+(int)(sumTotalScore/count)); else if(course.getMethod().equals("考察"))System.out.println(course.getName()+' '+(int)(sumFinalScore/count)+' '+(int)(sumTotalScore/count)); else if(course.getMethod().equals("实验"))System.out.println(course.getName()+' '+(int)(sumFinalScore/count)); } } public void ClassScore(){ for (String classnum:Class){ double sum=0; int count=0; for (SelectCourse selectCourse:selectCourses){ if(selectCourse.getStudent().getNum().substring(0,6).equals(classnum)){ sum+=selectCourse.getGrade().getTotalGrade(); count++; } } if(count==0) System.out.println(classnum+' '+"has no grades yet"); else System.out.println(classnum+' '+(int)(sum/count)); } } public void MySort(){ students.sort(Comparator.comparing(Student::getNum)); courses.sort((x,y)->{ Collator instance = Collator.getInstance(Locale.CHINA); return instance.compare(x.getName(), y.getName()); } ); Collections.sort(Class); } } abstract class Grade{ double TotalGrade; public int getTotalGrade() { return (int) TotalGrade; } public int getUsualGrade() { return 0; } public int getFinalGrade() { return 0; } } class ExamGrade extends Grade{ int UsualGrade; int FinalGrade; public int getTotalGrade(){ return (int)(0.3*this.getUsualGrade()+0.7*this.getFinalGrade()); } public int getUsualGrade() { return UsualGrade; } public void setUsualGrade(int usualGrade) { UsualGrade = usualGrade; } public int getFinalGrade() { return FinalGrade; } public void setFinalGrade(int finalGrade) { FinalGrade = finalGrade; } } class NoExamGrade extends Grade{ int FinalGrade; public int getTotalGrade(){ return FinalGrade; } public int getFinalGrade() { return FinalGrade; } public void setFinalGrade(int finalGrade) { FinalGrade = finalGrade; } } class Dish { String name="";//菜品名称 int unit_price; //单价 boolean special=false; int 菜系=0; int getPrice(int portion) { int 菜价=0; //单菜价格 boolean special=false; switch(portion) { case 1: 菜价=unit_price;break; case 2: 菜价=(int)Math.ceil(1.0*unit_price*3/2);break; case 3: 菜价=unit_price*2;break; } return 菜价; } } abstract class Object { protected boolean crossRiver; private boolean isAlive; private boolean hasCross; public Object() { crossRiver = false; isAlive = true; hasCross = false; } public boolean isCrossRiver() { return crossRiver; } public void setCrossRiver(boolean crossRiver) { this.crossRiver = crossRiver; } public boolean isAlive() { return isAlive; } public void setAlive(boolean alive) { isAlive = alive; } public boolean isHasCross() { return hasCross; } public void setHasCross(boolean hasCross) { this.hasCross = hasCross; } public abstract void showStatus(); } abstract class Shape { public abstract double getArea(); } class Rectangle extends Shape { private Point leftTopPoint; private Point lowerRightPoint; public Rectangle(Point leftTopPoint, Point lowerRightPoint) { this.leftTopPoint = leftTopPoint; this.lowerRightPoint = lowerRightPoint; } @Override public double getArea() { double width = Math.abs(lowerRightPoint.getX() - leftTopPoint.getX()); double height = Math.abs(lowerRightPoint.getY() - leftTopPoint.getY()); return width * height; } } class Point{ private double x; private double y; public double getX() { return x; } public double getY() { return y; } public Point(double x, double y){ this.x = x; this.y = y; } } class Course{ String name; String kind; String method; public Course(String name, String kind, String method) { this.name = name; this.kind = kind; this.method = method; } public String getName() { return name; } public String getMethod() { return method; } } class Student{ String num; String name; public Student(String num, String name) { this.num = num; this.name = name; } public String getNum() { return num; } public String getName() { return name; } } class SelectCourse{ Course course; Student student; Grade grade; public Course getCourse() { return course; } public void setCourse(Course course) { this.course = course; } public Student getStudent() { return student; } public void setStudent(Student student) { this.student = student; } public Grade getGrade() { return grade; } public void setGrade(Grade grade) { this.grade = grade; } } class InputMatching { static String stuNumMatching = "[0-9]{8}"; static String stuNameMatching = "\\S{1,10}"; static String scoreMatching = "(\\d|[1-9]\\d|100)"; static String courseNameMatching = "\\S{1,10}"; static String courseTypeMatching = "(选修|必修|实验)"; static String checkcourseTypeMatching = "(考试|考察|实验)"; static String courseInput = courseNameMatching + " " + courseTypeMatching + " " + checkcourseTypeMatching; static String scoreInput = stuNumMatching + " " + stuNameMatching + " " + courseNameMatching + " " + scoreMatching + "(\\s"+scoreMatching+")*"; public static int matchingInput(String s) { if (matchingCourse(s)) { return 1; } if (matchingScore(s)) { return 2; } return 0; } private static boolean matchingCourse(String s) { return s.matches(courseInput); } private static boolean matchingScore(String s) { return s.matches(scoreInput); } }
本题这是在课程成绩统计程序-1上的基础上增加内容,花费了较长时间重构代码,便于后序系列的编写



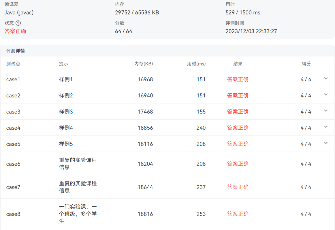
7-2 课程成绩统计程序-3
分数 64
全屏浏览题目
切换布局
作者 蔡轲
单位 南昌航空大学
课程成绩统计程序-3在第二次的基础上修改了计算总成绩的方式,
要求:修改类结构,将成绩类的继承关系改为组合关系,成绩信息由课程成绩类和分项成绩类组成,课程成绩类组合分项成绩类,分项成绩类由成绩分值和权重两个属性构成。
完成课程成绩统计程序-2、3两次程序后,比较继承和组合关系的区别。思考一下哪一种关系运用上更灵活,更能够适应变更。
题目最后的参考类图未做修改,大家根据要求自行调整,以下内容加粗字体显示的内容为本次新增的内容。
某高校课程从性质上分为:必修课、选修课、实验课,从考核方式上分为:考试、考察、实验。
考试的总成绩由平时成绩、期末成绩分别乘以权重值得出,比如平时成绩权重0.3,期末成绩权重0.7,总成绩=平时成绩*0.3+期末成绩*0.7。
考察的总成绩直接等于期末成绩
实验的总成绩等于课程每次实验成绩乘以权重后累加而得。
课程权重值在录入课程信息时输入。(注意:所有分项成绩的权重之和应当等于1)
必修课的考核方式必须为考试,选修课可以选择考试、考察任一考核方式。实验课的成绩必须为实验。
1、输入:
包括课程、课程成绩两类信息。
课程信息包括:课程名称、课程性质、考核方式、分项成绩数量、每个分项成绩的权重。
考试课信息格式:课程名称+英文空格+课程性质+英文空格+考核方式+英文空格+平时成绩的权重+英文空格+期末成绩的权重
考察课信息格式:课程名称+英文空格+课程性质+英文空格+考核方式
实验课程信息格式:课程名称+英文空格+课程性质+英文空格+考核方式+英文空格+分项成绩数量n+英文空格+分项成绩1的权重+英文空格+。。。+英文空格+分项成绩n的权重
实验次数至少4次,不超过9次
课程性质输入项:必修、选修、实验
考核方式输入选项:考试、考察、实验
考试/考查课程成绩信息包括:学号、姓名、课程名称、平时成绩(可选)、期末成绩
考试/考查课程成绩信息格式:学号+英文空格+姓名+英文空格+课程名称+英文空格+平时成绩+英文空格+期末成绩
实验课程成绩信息包括:学号、姓名、课程名称、每次成绩{在系列-2的基础上去掉了(实验次数),实验次数要和实验课程信息中输入的分项成绩数量保持一致}
实验课程信息格式:学号+英文空格+姓名+英文空格+课程名称+英文空格+第一次实验成绩+...+英文空格+最后一次实验成绩
以上信息的相关约束:
1)成绩是整数,不包含小数部分,成绩的取值范围是【0,100】
2)学号由8位数字组成
3)姓名不超过10个字符
4)课程名称不超过10个字符
5)不特别输入班级信息,班级号是学号的前6位。
2、输出:
输出包含三个部分,包括学生所有课程总成绩的平均分、单门课程总成绩平均分、班级所有课程总成绩平均分。
为避免四舍五入误差,
计算单个成绩时,分项成绩乘以权重后要保留小数位,计算总成绩时,累加所有分项成绩的权重分以后,再去掉小数位。
学生总成绩/整个班/课程平均分的计算方法为累加所有符合条件的单个成绩,最后除以总数。
1)学生课程总成绩平均分按学号由低到高排序输出
格式:学号+英文空格+姓名+英文空格+总成绩平均分
如果某个学生没有任何成绩信息,输出:学号+英文空格+姓名+英文空格+"did not take any exams"
2)单门课程成绩按课程名称的字符顺序输出
课程成绩输出格式:课程名称+英文空格+总成绩平均分
如果某门课程没有任何成绩信息,输出:课程名称+英文空格+"has no grades yet"
3)班级所有课程总成绩平均分按班级由低到高排序输出
格式:班级号+英文空格+总成绩平均分
如果某个班级没有任何成绩信息,输出:班级名称+英文空格+ "has no grades yet"
异常情况:
1)如果解析某个成绩信息时,课程名称不在已输入的课程列表中,输出:学号+英文空格+姓名+英文空格+":"+课程名称+英文空格+"does not exist"
2)如果解析某个成绩信息时,输入的成绩数量和课程的考核方式不匹配,输出:学号+英文空格+姓名+英文空格+": access mode mismatch"
以上两种情况如果同时出现,按第一种情况输出结果。
3)如果解析某个课程信息时,输入的课程性质和课程的考核方式不匹配,输出:课程名称+" : course type & access mode mismatch"
4)格式错误以及其他信息异常如成绩超出范围等,均按格式错误处理,输出"wrong format"
5)若出现重复的课程/成绩信息,只保留第一个课程信息,忽略后面输入的。
6)如果解析实验课程信息时,输入的分项成绩数量值和分项成绩权重的个数不匹配,输出:课程名称+" : number of scores does not match"
7)如果解析考试课、实验课时,分项成绩权重值的总和不等于1,输出:课程名称+" : weight value error"
信息约束:
1)成绩平均分只取整数部分,小数部分丢弃
参考类图(与第一次相同,其余内容自行补充):
输入样例1:
在这里给出一组输入。例如:
java 实验 实验 4 0.2 0.3 0.2 0.3
end
输出样例1:
在这里给出相应的输出。例如:
java has no grades yet
输入样例2:
在这里给出一组输入。例如:
java 实验 实验 4 0.2 0.3 0.2
end
输出样例2:
在这里给出相应的输出。例如:
java : number of scores does not match
输入样例3:
在这里给出一组输入。例如:
java 实验 实验 4 0.2 0.3 0.2 0.1
end
输出样例3:
在这里给出相应的输出。例如:
java : weight value error
输入样例4:
在这里给出一组输入。例如:
java 实验 实验 4 0.2 0.3 0.2 0.3
20201116 张三 java 70 80 90 100
end
输出样例4:
在这里给出相应的输出。例如:
20201116 张三 86
java 86
202011 86
输入样例5:
在这里给出一组输入。例如:
java 实验 实验 4 0.2 0.3 0.2 0.3
20201116 张三 java 70 80 90 100 80
end
输出样例5:
在这里给出相应的输出。例如:
20201116 张三 : access mode mismatch
20201116 张三 did not take any exams
java has no grades yet
202011 has no grades yet
import java.io.*; import java.text.*; import java.util.*; public class Main { public static void main(String[] args) throws IOException { BufferedReader in = new BufferedReader(new InputStreamReader(System.in)); MessageGetAndPrint messageGetAndPrint = new MessageGetAndPrint(); messageGetAndPrint.print = new Print(); for(;;){ String message = in.readLine(); if(message.equals("end")) { messageGetAndPrint.print.personPrint(messageGetAndPrint.students , messageGetAndPrint.courseSelections); messageGetAndPrint.print.coursePrint(messageGetAndPrint.courses , messageGetAndPrint.courseSelections); messageGetAndPrint.print.classPrint(messageGetAndPrint.classes , messageGetAndPrint.courseSelections); break; } messageGetAndPrint.getMessage(message); } } } class Class { private String classNum; HashMap<String , Student> students; Class(String classNum) { setClassNum(classNum); } public void setClassNum(String classNum) { this.classNum = classNum; } public String getClassNum() { return classNum; } public void addStudent(Student student) { students.put(student.getStudentNum() , student); } } class Student { private String name; private String studentNum; Student(String name , String studentNum) { setName(name); setStudentNum(studentNum); } public String getName() { return name; } public void setName(String name) { this.name = name; } public String getStudentNum() { return studentNum; } public void setStudentNum(String studentNum) { this.studentNum = studentNum; } } class Course { private String className; private int classQuality; private int assessmentMethodology; ArrayList<Float> weightFunction = new ArrayList<>(); Course(String className , int classQuality , int assessmentMethodology) { setClassName(className); setClassQuality(classQuality); setAssessmentMethodology(assessmentMethodology); } public String getClassName() { return className; } public void setClassName(String className) { this.className = className; } public int getClassQuality() { return classQuality; } public void setClassQuality(int classQuality) { this.classQuality = classQuality; } public int getAssessmentMethodology() { return assessmentMethodology; } public void setAssessmentMethodology(int assessmentMethodology) { this.assessmentMethodology = assessmentMethodology; } } class CourseSelection { Student student; Course course; Grade grade; } class Grade { SubItemGrades subItemGrades = new SubItemGrades(); public int getGrade(){ float allGrades = 0; for(int i = 0;i<subItemGrades.subItem.size();i++) { allGrades += subItemGrades.subItem.get(i)*subItemGrades.grades.get(i); } return (int) allGrades; } } class SubItemGrades { ArrayList<Integer> grades = new ArrayList<>(); ArrayList<Float> subItem = new ArrayList<>(); } class Print { public void personPrint(HashMap<String , Student> students , ArrayList<CourseSelection> courseSelections) { Set<String> set = students.keySet(); Object[] arr=set.toArray(); Arrays.sort(arr); for(Object key:arr) { int x = 0 , y = 0 , z = -1; for (CourseSelection courseSelection : courseSelections) { if (students.get(key).getStudentNum().equals(courseSelection.student.getStudentNum())) { z = 0; x += courseSelection.grade.getGrade(); y++; } } if(z == -1) { System.out.println(students.get(key).getStudentNum()+" "+students.get(key).getName()+" did not take any exams"); } if(z == 0) { x = x / y; System.out.println(students.get(key).getStudentNum()+" "+students.get(key).getName()+" "+x); } } } public void coursePrint(HashMap<String , Course> courses , ArrayList<CourseSelection> courseSelections) { List<String> list = new ArrayList<>(courses.keySet()); list.sort(new SoftName()); for(String key:list) { int x = 0 , y = 0 , z = -1; for (CourseSelection courseSelection : courseSelections) { if (courses.get(key).getClassName().equals(courseSelection.course.getClassName())) { z = 0; x += courseSelection.grade.getGrade(); y++; } } if(z == -1) { System.out.println(courses.get(key).getClassName()+" has no grades yet"); } if(z == 0) { x = x/y; System.out.println(courses.get(key).getClassName()+" "+x); } } } public void classPrint(HashMap<String , Class> classes , ArrayList<CourseSelection> courseSelections) { Set<String> set = classes.keySet(); Object[] arr=set.toArray(); Arrays.sort(arr); for(Object key:arr) { int x = 0 , y = 0 , z = -1; for(CourseSelection courseSelection : courseSelections) { if(classes.get(key).students.containsKey(courseSelection.student.getStudentNum())) { z = 0; x += courseSelection.grade.getGrade(); y++; } } if(z == -1) { System.out.println(classes.get(key).getClassNum()+" has no grades yet"); } if(z == 0) { x = x/y; System.out.println(classes.get(key).getClassNum()+" "+x); } } } public void wrongFormat() { System.out.println("wrong format"); } public void courseExist(String name) { System.out.println(name+" does not exist"); } public void courseMatch(String studentNum , String studentName) { System.out.println(studentNum+" "+studentName+" : access mode mismatch"); } public void courseMatch(String name) { System.out.println(name+" : course type & access mode mismatch"); } public void numMatch(String name) { System.out.println(name+" : number of scores does not match"); } public void weightValue(String name) { System.out.println(name+" : weight value error"); } static class SoftName implements Comparator<String>{ public int compare(String name1 , String name2) { Comparator<Object> compare = Collator.getInstance(Locale.CHINA); return compare.compare(name1 , name2); } } } class MessageGetAndPrint { Print print; HashMap<String , Class> classes = new HashMap<>(); HashMap<String , Student> students = new HashMap<>(); HashMap<String , Course> courses = new HashMap<>(); ArrayList<CourseSelection> courseSelections = new ArrayList<>(); public void getMessage(String getInput) { String[] message = getInput.split(" "); if(getInput.matches("^(\\S{1,10})( )(必修|选修|实验)( )(考试|考察|实验)$") || getInput.matches("^(\\S{1,10})( )(必修|选修|实验)( )(考试|考察|实验)( )((0.(0)+[1-9]|0.[1-9][0-9]*)( )(0.(0)+[1-9]|0.[1-9][0-9]*)$)") || getInput.matches("^(\\S{1,10})( )(必修|选修|实验)( )(考试|考察|实验)( )([4-9])((( )(0.(0)+[1-9]|0.[1-9][0-9]*|1))*)(( )(0.(0)+[1-9]|0.[1-9][0-9]*))$") ) { if(courses.containsKey(message[0])) { return; } int i = 0, j = 0; if(message[1].equals("必修")) { i = 1; } if(message[1].equals("选修")) { i = 2; } if(message[1].equals("实验")) { i = 3; } if(message[2].equals("考试")) { j = 1; } if(message[2].equals("考察")) { j = 2; } if(message[2].equals("实验")) { j = 3; } if((i == 1 && j != 1) || (i == 3 && j != 3) || (i != 3 && j == 3) ) { print.courseMatch(message[0]); return; } if((j == 1 && message.length != 5) || (j == 2 && message.length != 3) || (j == 3 && message.length - 4 != Integer.parseInt(message[3]))) { print.numMatch(message[0]); return; } if(j == 1 && Float.parseFloat(message[3])+Float.parseFloat(message[4]) != 1) { print.weightValue(message[0]); return; } if(j == 3) { float value = 0; for(int k = 0 ; k < Integer.parseInt(message[3]) ; k++) { value += Float.parseFloat(message[4+k]); } if(value>1.001||value<0.999) { print.weightValue(message[0]); return; } } Course course = new Course(message[0], i, j); if(j == 1) { course.weightFunction.add(Float.parseFloat(message[3])); course.weightFunction.add(Float.parseFloat(message[4])); } if(j == 2) course.weightFunction.add(1F); if(j == 3) { for(int k = 0 ; k < Integer.parseInt(message[3]) ; k++) { course.weightFunction.add(Float.parseFloat(message[4+k])); } } courses.put(message[0], course); } else if(getInput.matches("^([0-9]{8})( )(\\S{1,10})( )(\\S{1,10})( )([0-9]|[1-9][0-9]|100)$") || getInput.matches("^([0-9]{8})( )(\\S{1,10})( )(\\S{1,10})( )([0-9]|[1-9][0-9]|100)( )([0-9]|[1-9][0-9]|100)$") || getInput.matches("^([0-9]{8})( )(\\S{1,10})( )(\\S{1,10})( )((([0-9]|[1-9][0-9]|100)( ))*)([0-9]|[1-9][0-9]|100)$") ) { for(CourseSelection courseSelection:courseSelections) { if(courseSelection.student.getStudentNum().equals(message[0])&&courseSelection.student.getName().equals(message[1])&&courseSelection.course.getClassName().equals(message[2])) { return; } } Student student = new Student(message[1], message[0]); students.put(message[0] , student); String classNum = message[0].substring(0 , 6); if(!classes.containsKey(classNum)) { Class aClass = new Class(classNum); classes.put(classNum , aClass); classes.get(classNum).students = new HashMap<>(); } classes.get(classNum).addStudent(student); if(!courses.containsKey(message[2])) { print.courseExist(message[2]); return; } if(message.length - 3 != courses.get(message[2]).weightFunction.size()) { print.courseMatch(message[0] , message[1]); return; } CourseSelection courseSelection = new CourseSelection(); courseSelection.student = student; courseSelection.course = courses.get(message[2]); Grade grade = new Grade(); for(int i = 0 ; i < message.length - 3 ; i++) { grade.subItemGrades.grades.add(Integer.parseInt(message[3+i])); } grade.subItemGrades.subItem = courses.get(message[2]).weightFunction; courseSelection.grade = grade; courseSelections.add(courseSelection); } else print.wrongFormat(); } } abstract class aa { protected boolean crossRiver; private boolean isAlive; private boolean hasCross; public aa() { crossRiver = false; isAlive = true; hasCross = false; } public boolean isCrossRiver() { return crossRiver; } public void setCrossRiver(boolean crossRiver) { this.crossRiver = crossRiver; } public boolean isAlive() { return isAlive; } public void setAlive(boolean alive) { isAlive = alive; } public boolean isHasCross() { return hasCross; } public void setHasCross(boolean hasCross) { this.hasCross = hasCross; } public abstract void showStatus(); } class Farmer extends aa { private static boolean crossRiver; public boolean isCrossRiver() { return crossRiver; } public void setCrossRiver(boolean crossRiver) { Farmer.crossRiver = crossRiver; } public void showStatus() { System.out.println("Farmer has Cross :" + isCrossRiver()); } } class Wolf extends aa { private String name; public Wolf(String name) { super(); this.name = name; System.out.println("啊呜~~~我" + name + "又回来了"); } public void eatSheep(Sheep sheep,Farmer farmer) { if (crossRiver == sheep.isCrossRiver() && crossRiver != farmer.isCrossRiver()) { sheep.setAlive(false); } } public void showStatus() { setHasCross(isCrossRiver()); System.out.print("Wolf " + name + " has Cross :" + isCrossRiver() + " "); System.out.println("Wolf is alive :" + isAlive()); } } class Sheep extends aa { private String name; public Sheep(String name) { super(); this.name = name; System.out.println("咩咩,我是可爱的小羊" + name); } public void eatCabbage(Cabbage cabbage,Farmer farmer) { if (crossRiver == cabbage.isCrossRiver() && crossRiver != farmer.isCrossRiver()) { cabbage.setAlive(false); } } public void showStatus() { setHasCross(isCrossRiver()); System.out.print("Sheep " + name + " has Cross :" + isCrossRiver() + " "); System.out.println("Sheep is alive :" + isAlive()); } } class Cabbage extends aa { public Cabbage() { super(); } @Override public void showStatus() { setHasCross(isCrossRiver()); System.out.print("Cabbage has Cross :" + isCrossRiver() + " "); System.out.println("Cabbage is alive :" + isAlive()); } } class Boat { private boolean crossRiver = false; public boolean isCrossRiver() { return crossRiver; } public void setCrossRiver(boolean crossRiver) { this.crossRiver = crossRiver; } } class Carrot extends aa { public Carrot() { super(); } @Override public void showStatus() { setHasCross(isCrossRiver()); System.out.print("Carrot has Cross :" + isCrossRiver() + " "); System.out.println("Carrot is alive :" + isAlive()); } } class Rabbit extends aa { public Rabbit() { super(); } public void eatCarrot(Carrot carrot,Farmer farmer) { if (crossRiver == carrot.isCrossRiver() && crossRiver != farmer.isCrossRiver()) { carrot.setAlive(false); } } @Override public void showStatus() { setHasCross(isCrossRiver()); System.out.print("Rabbit has Cross :" + isCrossRiver() + " "); System.out.println("Rabbit is alive :" + isAlive()); } } class Dish { String dishname; int unit_price; boolean T; public boolean isT() { return T; } public void setT(boolean t) { T = t; } public String getDishname() { return dishname; } public int getUnit_price() { return unit_price; } public void setDishname(String dishname) { this.dishname = dishname; } public void setUnit_price(int unit_price) { this.unit_price = unit_price; } public Dish(String name, int unit_price,boolean t) { this.dishname = name; this.unit_price = unit_price; this.T=t; } public Dish() { } int getPrice(int portion) { if (portion == 2) return (int) Math.round(1.5 *unit_price); else if (portion == 3) return 2 * unit_price ; else return unit_price ; } } class Menu { private List<Dish> dishs = new ArrayList<>(); Dish searthDish(String dishName) { for (Dish dish : dishs) { if (dish.getDishname().equals(dishName)) { return dish; } } return null; } }
本题是在课程成绩统计程序-2的基础上修改而来,因为在上次的编写中重构了代码,方便了这次的修改,但是本题还是题目集8中花费时间最长的一题



7-1 容器-ArrayList-排序
分数 12
全屏浏览题目
切换布局
作者 蔡轲
单位 南昌航空大学
题目描述
编辑
输入多个学生的成绩信息,包括:学号、姓名、数学成绩、物理成绩。
学号是每个学生的唯一识别号,互不相同。
姓名可能会存在重复。
要求:使用ArrayList存储学生信息。
输入格式:
输入多个学生的成绩信息,每个学生的成绩信息格式:学号+英文空格+姓名+英文空格+数学成绩+英文空格+物理成绩
以“end”为输入结束标志
输出格式:
按数学/物理成绩之和从高到低的顺序输出所有学生信息,每个学生信息的输出格式:学号+英文空格+姓名+英文空格+数学/物理成绩之和
成绩相同的情况,按输入的先后顺序输出。
输入样例:
在这里给出一组输入。例如:
20201124 张少军 83 75
20201136 李四 78 86
20201118 郑觉先 80 62
end
输出样例:
在这里给出相应的输出。例如:
20201136 李四 164
20201124 张少军 158
20201118 郑觉先 142
import java.util.*; class Student { String id; String name; int mathScore; int physicsScore; public Student(String id, String name, int mathScore, int physicsScore) { this.id = id; this.name = name; this.mathScore = mathScore; this.physicsScore = physicsScore; } public int getTotalScore() { return mathScore + physicsScore; } } public class Main { public static void main(String[] args) { ArrayList<Student> students = new ArrayList<>(); Scanner scanner = new Scanner(System.in); while (true) { String input = scanner.nextLine(); if (input.equals("end")) { break; } String[] data = input.split(" "); String id = data[0]; String name = data[1]; int mathScore = Integer.parseInt(data[2]); int physicsScore = Integer.parseInt(data[3]); Student student = new Student(id, name, mathScore, physicsScore); students.add(student); } Collections.sort(students, new Comparator<Student>() { @Override public int compare(Student s1, Student s2) { // 按总成绩从高到低排序 return s2.getTotalScore() - s1.getTotalScore(); } }); for (Student student : students) { System.out.println(student.id + " " + student.name + " " + student.getTotalScore()); } } }
本题比较简单,了解一下ArrayList即可完成

7-3 jmu-Java-02基本语法-03-身份证排序
分数 9
全屏浏览题目
切换布局
作者 郑如滨
单位 集美大学
输入n,然后连续输入n个身份证号。
然后根据输入的是sort1还是sort2,执行不同的功能。输入的不是sort1或sort2,则输出exit并退出。
输入sort1,将每个身份证的年月日抽取出来,按年-月-日格式组装,然后对组装后的年-月-日升序输出。
输入sort2,将所有身份证按照里面的年月日升序输出。
注意:处理输入的时候,全部使用Scanner的nextLine()方法,以免出错。
输入样例:
6
410425198309308225
320203197206115011
431227196108033146
330226196605054190
34080019810819327X
320111197112301539
sort1
sort2
e
输出样例:
1961-08-03
1966-05-05
1971-12-30
1972-06-11
1981-08-19
1983-09-30
431227196108033146
330226196605054190
320111197112301539
320203197206115011
34080019810819327X
410425198309308225
exit
import java.util.*; class IDCard { String number; public IDCard(String number) { this.number = number; } public int getYear() { return Integer.parseInt(number.substring(6, 10)); } public int getMonth() { return Integer.parseInt(number.substring(10, 12)); } public int getDay() { return Integer.parseInt(number.substring(12, 14)); } public String getFormattedDate() { return String.format("%04d-%02d-%02d", getYear(), getMonth(), getDay()); } } public class Main { public static void main(String[] args) { ArrayList<IDCard> idCards = new ArrayList<>(); Scanner scanner = new Scanner(System.in); int n = Integer.parseInt(scanner.nextLine()); for (int i = 0; i < n; i++) { String idCardNumber = scanner.nextLine(); idCards.add(new IDCard(idCardNumber)); } while (true) { String input = scanner.nextLine(); if (input.equals("sort1")) { Collections.sort(idCards, new Comparator<IDCard>() { @Override public int compare(IDCard card1, IDCard card2) { // 按年-月-日升序排序 if (card1.getYear() != card2.getYear()) { return card1.getYear() - card2.getYear(); } else if (card1.getMonth() != card2.getMonth()) { return card1.getMonth() - card2.getMonth(); } else { return card1.getDay() - card2.getDay(); } } }); for (IDCard idCard : idCards) { System.out.println(idCard.getFormattedDate()); } } else if (input.equals("sort2")) { Collections.sort(idCards, new Comparator<IDCard>() { @Override public int compare(IDCard card1, IDCard card2) { // 按年-月-日升序排序 return card1.getFormattedDate().compareTo(card2.getFormattedDate()); } }); for (IDCard idCard : idCards) { System.out.println(idCard.number); } } else if (input.equals("exit")) { break; } else { System.out.println("exit"); break; } } } }
本题较为简单,不过多解释

7-4 jmu-Java-04面向对象进阶-03-接口-自定义接口ArrayIntegerStack
分数 10
全屏浏览题目
切换布局
作者 郑如滨
单位 集美大学
定义IntegerStack接口,用于声明一个存放Integer元素的栈的常见方法:
public Integer push(Integer item);
//如果item为null,则不入栈直接返回null。如果栈满,也返回null。如果插入成功,返回item。
public Integer pop(); //出栈,如果为空,则返回null。出栈时只移动栈顶指针,相应位置不置为null
public Integer peek(); //获得栈顶元素,如果为空,则返回null.
public boolean empty(); //如果为空返回true
public int size(); //返回栈中元素个数
定义IntegerStack的实现类ArrayIntegerStack,内部使用数组实现。创建时,可指定内部数组大小。
main方法说明
输入n,建立可包含n个元素的ArrayIntegerStack对象
输入m个值,均入栈。每次入栈均打印入栈返回结果。
输出栈顶元素,输出是否为空,输出size
使用Arrays.toString()输出内部数组中的值。
输入x,然后出栈x次,每次出栈均打印。
输出栈顶元素,输出是否为空,输出size
使用Arrays.toString()输出内部数组中的值。
思考
如果IntegerStack接口的实现类内部使用ArrayList来存储元素,怎么实现?测试代码需要进行什么修改?
输入样例
5
3
1 2 3
2
输出样例
1
2
3
3,false,3
[1, 2, 3, null, null]
3
2
1,false,1
[1, 2, 3, null, null]
import java.util.*; public class Main { public static void main(String[] args) { Scanner input = new Scanner(System.in); int n = input.nextInt(); int m = input.nextInt(); ArrayIntegerStack stack = new ArrayIntegerStack(n); for(int i = 0 ; i < m ; i++) { int c = input.nextInt(); System.out.println(stack.push(c)); } System.out.println(stack.peek()+","+stack.empty()+","+stack.size()); System.out.println(stack); int x = input.nextInt(); for (int i = 0 ; i < x ; i++){ System.out.println(stack.pop()); } System.out.println(stack.peek()+","+stack.empty()+","+stack.size()); System.out.println(stack); } } interface IntegerStack { Integer push(Integer item); //如果item为null,则不入栈直接返回null。如果栈满,也返回null。如果插入成功,返回item Integer pop(); //出栈,如果为空,则返回null。出栈时只移动栈顶指针,相应位置不置为null Integer peek(); //获得栈顶元素,如果为空,则返回null boolean empty(); //如果为空返回true int size(); //返回栈中元素个数 } abstract class Object { protected boolean crossRiver; private boolean isAlive; private boolean hasCross; public Object() { crossRiver = false; isAlive = true; hasCross = false; } public boolean isCrossRiver() { return crossRiver; } class Cabbage extends Object { public Cabbage() { super(); } @Override public void showStatus() { setHasCross(isCrossRiver()); System.out.print("Cabbage has Cross :" + isCrossRiver() + " "); System.out.println("Cabbage is alive :" + isAlive()); } } public void setCrossRiver(boolean crossRiver) { this.crossRiver = crossRiver; } public boolean isAlive() { return isAlive; } public void setAlive(boolean alive) { isAlive = alive; } public boolean isHasCross() { return hasCross; } public void setHasCross(boolean hasCross) { this.hasCross = hasCross; } public abstract void showStatus(); } class Cabbage extends Object { public Cabbage() { super(); } @Override public void showStatus() { setHasCross(isCrossRiver()); System.out.print("Cabbage has Cross :" + isCrossRiver() + " "); System.out.println("Cabbage is alive :" + isAlive()); } } class Carrot extends Object { public Carrot() { super(); } @Override public void showStatus() { setHasCross(isCrossRiver()); System.out.print("Carrot has Cross :" + isCrossRiver() + " "); System.out.println("Carrot is alive :" + isAlive()); } } class ArrayIntegerStack implements IntegerStack{ private Integer[] arr; private int top = 0; public ArrayIntegerStack(int n){ arr = new Integer[n]; Arrays.fill(arr, null); } public ArrayIntegerStack(){ } @Override public String toString() { return Arrays.toString(arr); } @Override public Integer push(Integer item) { if (item == null || arr.length == top){ return null; } arr[top++] = item; return item; } @Override public Integer pop() { if (top == 0){ return null; } return arr[--top]; } @Override public Integer peek() { if (top == 0){ return null; } return arr[top - 1]; } @Override public boolean empty() { return top == 0; } @Override public int size() { return top; } }
比较简单

7-5 jmu-Java-03面向对象基础-05-覆盖
分数 5
全屏浏览题目
切换布局
作者 郑如滨
单位 集美大学
Java每个对象都继承自Object,都有equals、toString等方法。
现在需要定义PersonOverride类并覆盖其toString与equals方法。
1. 新建PersonOverride类
a. 属性:String name、int age、boolean gender,所有的变量必须为私有(private)。
b. 有参构造方法,参数为name, age, gender
c. 无参构造方法,使用this(name, age,gender)调用有参构造方法。参数值分别为"default",1,true
d.toString()方法返回格式为:name-age-gender
e. equals方法需比较name、age、gender,这三者内容都相同,才返回true.
2. main方法
2.1 输入n1,使用无参构造方法创建n1个对象,放入数组persons1。
2.2 输入n2,然后指定name age gender。每创建一个对象都使用equals方法比较该对象是否已经在数组中存在,如果不存在,才将该对象放入数组persons2。
2.3 输出persons1数组中的所有对象
2.4 输出persons2数组中的所有对象
2.5 输出persons2中实际包含的对象的数量
2.5 使用System.out.println(Arrays.toString(PersonOverride.class.getConstructors()));输出PersonOverride的所有构造方法。
提示:使用ArrayList代替数组大幅复简化代码,请尝试重构你的代码。
输入样例:
1
3
zhang 10 true
zhang 10 true
zhang 10 false
输出样例:
default-1-true
zhang-10-true
zhang-10-false
2
[public PersonOverride(), public PersonOverride(java.lang.String,int,boolean)]
import java.util.*; class PersonOverride{ private final String name; private final int age; private final boolean gender; public String toString() { return name + "-" + age + "-" + gender; } public boolean equals(Object o){ if (this == o){ return true; } if(o == null) { return false; } if (this.getClass() != o.getClass()){ return false; } PersonOverride p = (PersonOverride)o; boolean a1 = Objects.equals((this.name), p.name); boolean a2 = (this.age == p.age); boolean a3 = (this.gender == p.gender); return a1 && a2 && a3; } public PersonOverride(String _name, int _age, boolean _gender){ name = _name; age = _age; gender = _gender; } public PersonOverride(){ this("default",1,true); } } abstract class Shape { } class Rectangle extends Shape { private final Point leftTopPoint; private final Point lowerRightPoint; public Rectangle(Point leftTopPoint, Point lowerRightPoint) { this.leftTopPoint = leftTopPoint; this.lowerRightPoint = lowerRightPoint; } public double getArea() { double width = Math.abs(lowerRightPoint.getX() - leftTopPoint.getX()); double height = Math.abs(lowerRightPoint.getY() - leftTopPoint.getY()); return width * height; } } class Point { private double x; private double y; public double getX() { return x; } public double getY() { return y; } } public class Main { public static void main(String[] args) { Scanner in = new Scanner(System.in); int i,count = 0; int n1 = in.nextInt(); PersonOverride[] person1 = new PersonOverride[n1]; for (i = 0; i < n1; i++) { person1[i] = new PersonOverride(); } int n2 = in.nextInt(); in.nextLine(); PersonOverride[] person2 = new PersonOverride[n2]; for (i = 0; i < n2; i++) { String str = in.nextLine(); String[] arr = str.split("\\s+"); PersonOverride temp = new PersonOverride(arr[0],Integer.parseInt(arr[1]),Boolean.parseBoolean(arr[2])); boolean f = true; for (int j = 0; j < n2; j++) { if (temp.equals(person2[j])) { f = false; break; } } if(f){ person2[i] = new PersonOverride(arr[0],Integer.parseInt(arr[1]),Boolean.parseBoolean(arr[2])); } } for ( i = 0; i < n1; i++) { System.out.println(person1[i]); } for (i = 0; i < n2; i++) { if(person2[i] == null){ continue; } count++; System.out.println(person2[i]); } System.out.println(count); System.out.println(Arrays.toString(PersonOverride.class.getConstructors())); } }
比较简单

期末考试
7-1 立体图形问题
分数 10
全屏浏览题目
切换布局
作者 段喜龙
单位 南昌航空大学
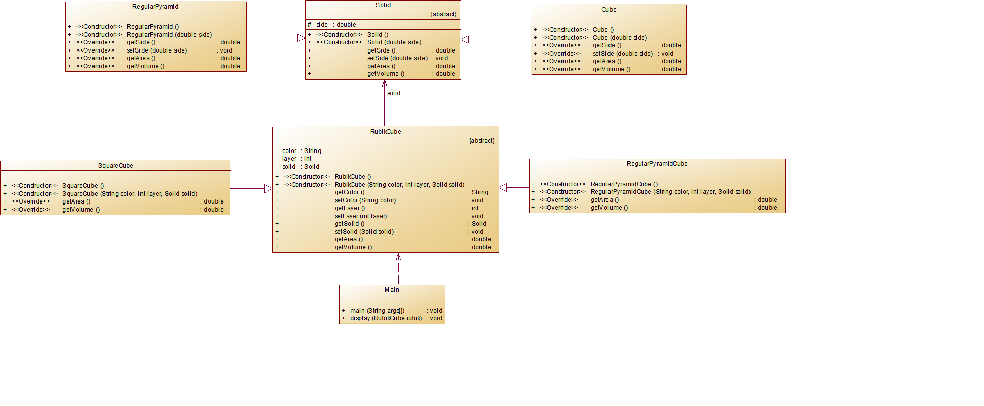
编程求得正方体和正三棱锥的表面积和体积,要求必须体现扩展性(继承)和多态性。
类结构如下图所示(参考):

试编程完成如上类设计,主方法源码如下(可直接拷贝使用):
public static void main(String[] args) {
// TODO Auto-generated method stub
Scanner input = new Scanner(System.in);
double side = input.nextDouble();
display(new Cube(side));
display(new RegularPyramid(side));
}
其中,display(Solid solid)方法为定义在Main类中的静态方法,作用为体现程序的多态性。
注:正三棱锥的体积计算公式为底面积*高/3。
输入格式:
输入一个实型数,分别作为正方体的边长和正三棱锥的边长。
输出格式:
分别输出正方体的表面积、体积以及正棱锥的表面积和体积。保留两位小数,建议使用String.format(“%.2f”,value)
进行小数位数控制。
输入样例:
在这里给出一组输入。例如:
2.5
输出样例:
在这里给出相应的输出。例如:
37.50
15.63
10.83
1.84
import java.util.Scanner; abstract class Solid { abstract double getSurfaceArea(); abstract double getVolume(); } class Cube extends Solid { private double side; public Cube(double side) { this.side = side; } @Override double getSurfaceArea() { return 6 * side * side; } @Override double getVolume() { return side * side * side; } } class RegularPyramid extends Solid { private double side; public RegularPyramid(double side) { this.side = side; } @Override double getSurfaceArea() { return (side/2)*(side/2)*Math.sqrt(3)*4; } @Override double getVolume() { return side * Math.sqrt(6) * side * side * Math.sqrt(3) / 36; } } public class Main { public static void main(String[] args) { Scanner input = new Scanner(System.in); double side = input.nextDouble(); display(new Cube(side)); display(new RegularPyramid(side)); } public static void display(Solid solid) { System.out.println(String.format("%.2f", solid.getSurfaceArea())); System.out.println(String.format("%.2f", solid.getVolume())); } }
比较简单,考试时三棱锥的表面积弄错了,导致浪费较长时间

7-2 魔方问题
分数 20
全屏浏览题目
切换布局
作者 段喜龙
单位 南昌航空大学
问题描述:本问题中的魔方有两种,一种是正方体魔方,一种是正三棱锥魔方,其中,正方体或正三棱锥魔方是由单元正方体或正三棱锥组成,单元正方体或正三棱锥的个数由阶数(即层数)决定,即魔方边长=阶数*单元边长。魔方如下图所示:

利用“立体图形”问题源码,实现如下功能:
魔方有三个属性:颜色,阶数,类型(正方体魔方、正三棱锥魔方),程序要求输出魔方的颜色、表面积和体积。参考设计类图如下所示:

主方法部分可参考如下源码(可拷贝直接使用):
public class Main {
public static void main(String[] args) {
// TODO Auto-generated method stub
Scanner input = new Scanner(System.in);
String color = input.next();
int layer = input.nextInt();
double side = input.nextDouble();
RubikCube cube1 = new SquareCube(color, layer,new Cube(side));
color = input.next();
layer = input.nextInt();
side = input.nextDouble();
RubikCube cube2 = new RegularPyramidCube(color, layer,new RegularPyramid(side));
display(cube1);
display(cube2);
}
}
其中,display(RubikCube cube)方法为Main类中定义的静态方法,用户输出魔方的信息,用于体现多态性。
输入格式:
第一部分:正方体魔方颜色、阶数、单元正方体边长,以空格或回车分隔;
第二部分:正三棱锥魔方颜色、阶数、单元正三棱锥边长,以空格或回车分隔。
输出格式:
正方体魔方颜色
正方体魔方表面积
正方体魔方体积
正三棱锥魔方颜色
正三棱锥魔方表面积
正三棱锥魔方体积
注:小数点保留两位
输入样例:
在这里给出一组输入。例如:
red 3 4.5
black 4 2.1
输出样例:
在这里给出相应的输出。例如:
red
1093.50
2460.38
black
122.21
69.85
import java.util.Scanner; class Main { public static void main(String[] args) { Scanner input = new Scanner(System.in); String color = input.next(); int layer = input.nextInt(); double sideLength = input.nextDouble(); RubikCube cube1 = new SquareCube(color, layer, new Cube(sideLength)); color = input.next(); layer = input.nextInt(); sideLength = input.nextDouble(); RubikCube cube2 = new RegularPyramidCube(color, layer, new RegularPyramid(sideLength)); display(cube1); display(cube2); } public static void display(RubikCube cube) { System.out.println(cube.getColor()); System.out.printf("%.2f\n", cube.getSurfaceArea()); System.out.printf("%.2f\n", cube.getVolume()); } } abstract class RubikCube { protected String color; protected int layer; public RubikCube(String color, int layer) { this.color = color; this.layer = layer; } public String getColor() { return color; } public abstract double getSurfaceArea(); public abstract double getVolume(); } class SquareCube extends RubikCube { private Cube unitCube; public SquareCube(String color, int layer, Cube unitCube) { super(color, layer); this.unitCube = unitCube; } @Override public double getSurfaceArea() { return unitCube.getSurfaceArea() * layer * layer; } @Override public double getVolume() { return unitCube.getVolume() * layer * layer * layer; } } class RegularPyramidCube extends RubikCube { private RegularPyramid unitPyramid; public RegularPyramidCube(String color, int layer, RegularPyramid unitPyramid) { super(color, layer); this.unitPyramid = unitPyramid; } @Override public double getSurfaceArea() { return unitPyramid.getSurfaceArea() * layer * layer; } @Override public double getVolume() { return unitPyramid.getVolume() * layer * layer * layer; } } class Cube { private double sideLength; public Cube(double sideLength) { this.sideLength = sideLength; } public double getSurfaceArea() { return 6 * sideLength * sideLength; } public double getVolume() { return sideLength * sideLength * sideLength; } } class RegularPyramid { private double sideLength; public RegularPyramid(double sideLength) { this.sideLength = sideLength; } public double getSurfaceArea() { return (sideLength/2)*(sideLength/2)*Math.sqrt(3)*4; } public double getVolume() { return sideLength * Math.sqrt(6) * sideLength * sideLength * Math.sqrt(3) / 36; } }
本题增加了阶数颜色等属性,在第一题的基础上改就好,比较简单

7-3 魔方排序问题
分数 20
全屏浏览题目
切换布局
作者 段喜龙
单位 南昌航空大学
在魔方问题的基础上,重构类设计,实现列表内魔方的排序功能(按照魔方的体积进行排序)。
提示:题目中RubikCube类要实现Comparable接口。
其中,Main类源码如下(可直接拷贝使用):
public class Main {
public static void main(String[] args) {
// TODO Auto-generated method stub
Scanner input = new Scanner(System.in);
String color;
int layer;
double side;
RubikCube cube;
ArrayList<RubikCube> list = new ArrayList<>();
int choice = input.nextInt();
while(choice != 0) {
switch(choice) {
case 1://SquareCube
color = input.next();
layer = input.nextInt();
side = input.nextDouble();
cube = new SquareCube(color, layer,new Cube(side));
list.add(cube);
break;
case 2://RegularPyramidCube
color = input.next();
layer = input.nextInt();
side = input.nextDouble();
cube = new RegularPyramidCube(color, layer,new RegularPyramid(side));
list.add(cube);
break;
}
choice = input.nextInt();
}
list.sort(Comparator.naturalOrder());//正向排序
for(int i = 0; i < list.size(); i++) {
System.out.print(list.get(i).getColor() + " " +
String.format("%.2f", list.get(i).getArea()) + " " +
String.format("%.2f", list.get(i).getVolume()) );
System.out.println("");
}
}
}
输入格式:
输入魔方类型(1:正方体魔方;2:正三棱锥魔方;0:结束输入)
魔方颜色、魔方阶数、魔方单元正方体、正三棱锥边长
..循环..
输出格式:
按魔方体积升序输出列表中各魔方的信息(实型数均保留两位小数),输出样式参见输出样例。
输入样例:
在这里给出一组输入。例如:
1 blue 3 4.5
2 red 4 2.1
1 yellow 5 2.3
2 black 4 9.42
1 white 4 5.4423
0
输出样例:
在这里给出相应的输出。例如:
red 122.21 69.85
yellow 793.50 1520.88
blue 1093.50 2460.38
black 2459.14 6304.73
white 2843.39 10316.38
import java.util.ArrayList; import java.util.Comparator; import java.util.Scanner; public class Main { public static void main(String[] args) { Scanner input = new Scanner(System.in); String color; int layer; double side; RubikCube cube; ArrayList<RubikCube> list = new ArrayList<>(); int choice = input.nextInt(); while (choice != 0) { switch (choice) { case 1: // SquareCube color = input.next(); layer = input.nextInt(); side = input.nextDouble(); cube = new SquareCube(color, layer, new Cube(side)); list.add(cube); break; case 2: // RegularPyramidCube color = input.next(); layer = input.nextInt(); side = input.nextDouble(); cube = new RegularPyramidCube(color, layer, new RegularPyramid(side)); list.add(cube); break; } choice = input.nextInt(); } list.sort(Comparator.comparingDouble(RubikCube::getVolume)); // 按魔方体积升序排序 for (RubikCube rubikCube : list) { System.out.println(rubikCube.getColor() + " " + String.format("%.2f", rubikCube.getSurfaceArea()) + " " + String.format("%.2f", rubikCube.getVolume())); } } } interface RubikCube extends Comparable<RubikCube> { String getColor(); double getSurfaceArea(); double getVolume(); @Override default int compareTo(RubikCube other) { return Double.compare(this.getVolume(), other.getVolume()); } } class SquareCube implements RubikCube { private String color; private int layer; private Cube unitCube; public SquareCube(String color, int layer, Cube unitCube) { this.color = color; this.layer = layer; this.unitCube = unitCube; } @Override public String getColor() { return color; } @Override public double getSurfaceArea() { return unitCube.getSurfaceArea() * layer * layer; } @Override public double getVolume() { return unitCube.getVolume() * layer * layer * layer; } } class RegularPyramidCube implements RubikCube { private String color; private int layer; private RegularPyramid unitPyramid; public RegularPyramidCube(String color, int layer, RegularPyramid unitPyramid) { this.color = color; this.layer = layer; this.unitPyramid = unitPyramid; } @Override public String getColor() { return color; } @Override public double getSurfaceArea() { return unitPyramid.getSurfaceArea() * layer * layer; } @Override public double getVolume() { return unitPyramid.getVolume() * layer * layer * layer; } } class Cube { private double sideLength; public Cube(double sideLength) { this.sideLength = sideLength; } public double getSurfaceArea() { return 6 * sideLength * sideLength; } public double getVolume() { return sideLength * sideLength * sideLength; } } class RegularPyramid { private double sideLength; public RegularPyramid(double sideLength) { this.sideLength = sideLength; } public double getSurfaceArea() { return (sideLength/2)*(sideLength/2)*Math.sqrt(3)*4; } public double getVolume() { return sideLength * Math.sqrt(6) * sideLength * sideLength * Math.sqrt(3) / 36; } }
本题很快就写出来了,但是没有满分,有一个测试点找不出来

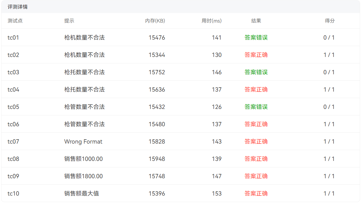
7-4 销售步枪问题(附加题)
分数 10
全屏浏览题目
切换布局
作者 段喜龙
单位 南昌航空大学
前亚利桑那州境内的一位步枪销售商销售密苏里州制造的步枪机(lock)、枪托(stock)和枪管(barrel)。枪机卖45美元,枪托卖30美元,枪管卖25美元。销售商每月至少要售出一支完整的步枪,且生产限额是销售商在一个月内可销售70个枪机、80个枪托和90个枪管。
根据每个月的销售情况,计算销售商的佣金(提成)算法如下:
不到(含)1000美元的部分为10%;
1000(含)~1800美元的部分为15%;
超过1800美元的部分为20%。
佣金程序生成月份销售报告,汇总销售商的销售总额和佣金。
编程要求:必须符合面向对象编程,且保证类设计的单一职责模式,使用面向过程编程判定0分。
提示:可以设置一个销售订单类。参考类图如下:

输入格式:
输入销售商每个月售出枪机、枪托、枪管的数量,可以用空格或者回车分隔。
输出格式:
分别输出销售商在该月的销售额和佣金,中间用空格分开。
输入样例1:
在这里给出一组输入。例如:
30 40 50
输出样例1:
在这里给出相应的输出。例如:
3800.00 620.00
输入样例2:
在这里给出一组输入。例如:
88 56 98
输出样例2:
在这里给出相应的输出。例如:
Wrong Format
import java.util.Scanner; public class Main { public static void main(String[] args) { Scanner input = new Scanner(System.in); int rifleQuantity = input.nextInt(); int stockQuantity = input.nextInt(); int barrelQuantity = input.nextInt(); SalesPerson salesPerson = new SalesPerson(rifleQuantity, stockQuantity, barrelQuantity); double totalSales = salesPerson.calculateTotalSales(); double commission = salesPerson.calculateCommission(totalSales); if(rifleQuantity>70||stockQuantity>80||barrelQuantity>90) { System.out.printf("Wrong Format"); }else { System.out.printf("%.2f %.2f", totalSales, commission); } } } class SalesPerson { private Rifle rifle; private Stock stock; private Barrel barrel; public SalesPerson(int rifleQuantity, int stockQuantity, int barrelQuantity) { this.rifle = new Rifle(rifleQuantity); this.stock = new Stock(stockQuantity); this.barrel = new Barrel(barrelQuantity); } public double calculateTotalSales() { return rifle.getTotalSales() + stock.getTotalSales() + barrel.getTotalSales(); } public double calculateCommission(double totalSales) { Commission commission = new Commission(totalSales); return commission.getCommission(); } } class Rifle { private int quantity; public Rifle(int quantity) { this.quantity = quantity; } public double getTotalSales() { return quantity * 45.0; } } class Stock { private int quantity; public Stock(int quantity) { this.quantity = quantity; } public double getTotalSales() { return quantity * 30.0; } } class Barrel { private int quantity; public Barrel(int quantity) { this.quantity = quantity; } public double getTotalSales() { return quantity * 25.0; } } class Commission { private double totalSales; private static final double RANGE_1 = 1000.0; private static final double RANGE_2 = 1800.0; private static final double COMMISSION_RATE_1 = 0.10; private static final double COMMISSION_RATE_2 = 0.15; private static final double COMMISSION_RATE_3 = 0.20; public Commission(double totalSales) { this.totalSales = totalSales; } public double getCommission() { double commission = 0.0; if (totalSales <= RANGE_1) { commission = totalSales * COMMISSION_RATE_1; } else if (totalSales <= RANGE_2) { commission = RANGE_1 * COMMISSION_RATE_1 + (totalSales - RANGE_1) * COMMISSION_RATE_2; } else { commission = RANGE_1 * COMMISSION_RATE_1 + (RANGE_2 - RANGE_1) * COMMISSION_RATE_2 + (totalSales - RANGE_2) * COMMISSION_RATE_3; } return commission; } }
本题有三个测试点没有找出

踩坑心得
输入输出格式:根据题目要求,需要注意输入和输出的格式。在处理输入时,需要注意每行数据的格式,使用适当的分隔符进行分割。
数组越界问题:在处理输入时,需要注意数组越界的问题。
代码的可读性和可维护性:在编写代码时,需要注意代码的可读性和可维护性。
改进建议
类的关系要厘清,有一个良好的类图关系,可以使逻辑更加清晰,使项目更容易完成。有些题目的猜测点可以提示一下,不必去一个一个试,会节省一点时间。为代码添加适当的注释和文档,以便其他人理解和维护代码。
总结
我意识到了面向对象的设计和合适的数据结构对于代码的可读性和可维护性的重要性。代码要更加完善,用更加精简的方法,这几次都是因为代码长度超出限制导致无法继续提交。到问题要积极求助,虚心学习,如果问题不能自己解决就要学习。我觉得题目可以给多一点,但是题目难度不要太大,最好一点一点加大难度,每次学到的东西下次都可以用,这样就不会一下过度差太大难以接受,以至于时间足够但是没有想法写不出。我需要进一步学习和掌握更多的面向对象的设计原则和模式,以便更好地设计和实现代码。
浙公网安备 33010602011771号