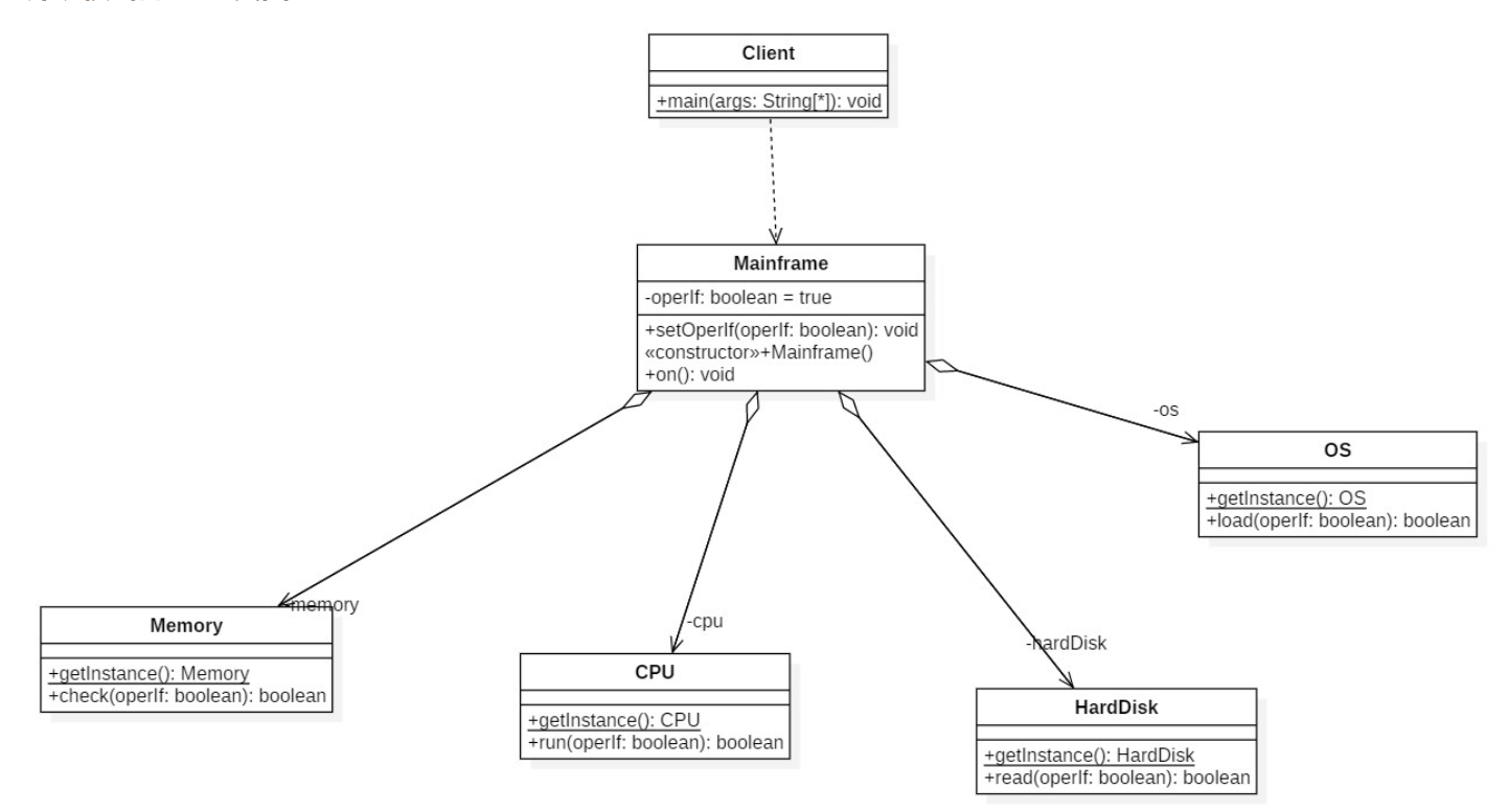
[实验任务一]:计算机开启
在计算机主机(Mainframe)中,只需要按下主机的开机按钮(on()),即可调用其他硬件设备和软件的启动方法 ,如内存(Memory)的自检(check())、CPU的运行(run())、硬盘(HardDisk)的读取(read())、操作系统(OS)的载入(load()),如果某一过程发生错误则计算机启动失败。
1.类图

2.源代码
参考设计模式——外观模式的学习与理解_在计算机主机(mainframe)中,只需要按下主机的开机按钮(on()),即可调用其他硬件设-CSDN博客

浙公网安备 33010602011771号