####### 简笔画带你读懂从原材料到新能源汽车电池

前段时间有行业外朋友对电池很感兴趣,想了解怎样从原材料到单体电芯,再到汽车用的电池的这样一个过程。我用了一个CAD简笔画来介绍一下电池的这个周期,图丑还请忍住勿喷。
首先,原材料是外购的,当然也有部分公司自己做全产业链,自给自足。对原材料进行检验后才能投入使用。整个电池到PACK包需要的零部件也很多,通常需要采购。我们就先从第一道工序说起。
因为原材料主要是由活性物质(一般是粉体)、粘结剂(一般是液态)、溶剂(液态)。混合在一起之后通过搅拌便成为了粘稠的浆料状。直观一点,就是你平时冲泡的黑芝麻糊样。

合浆完之后,浆料通过检测,达到工艺要求后通过管道或者中转车运输到涂布的模头处。通过压力控制,把浆料涂到箔材上,并通过高温进行烘干。

涂布结束后,浆料就联结在箔材上,但是浆料内部间隙大,需要辊压,减少传输距离。辊压一般是和分切在一块,对大的极卷进行分切,切成几个小的极卷。

辊压分切后,需要对极卷进行极耳成型,除了使用激光切(切的是最边上箔材,用箔材做极耳),还可以使用超声焊接铝片或者铜片,不过要提前留好间隙。

经过激光切后,极片基本成型了,运送到卷绕。卷绕,即是把正极、隔膜、负极、隔膜卷到一块。通过隔膜分开正负极,这样一个极芯就形成了。

经过卷绕,极芯成型后,通过一系列零部件的装配,组装成半成品电池的过程我们称为组装。主要包含了包胶、极耳预焊、盖板焊接、折极耳、入壳、激光焊接。经过这一个流程,电池除了注液孔,其他均与外界隔绝。

组装过后,电芯要经过烘烤,这个环节主要是去除水分。因为后面我们要进行注液,而电解液对水又非常敏感,水的大量存在会破坏电解液结构,故而会进行烘烤,通常采用抽真空和充氮气来进行。
进入到注液环节,也就是通过设备对事先预留在盖板上的注液孔,把电解液注入的一个过程。

注液结束后,为了保证电解液能够充分浸润到卷芯里面去,会进行高温静置。

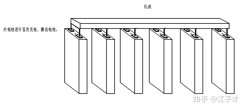
静置结束后,就到了最重要的一步,化成,顾名思义,就是活化激活电池,对电池进行首次充电,形成SEI膜什么的我就不说了。这一步之后,电池就带电了,而这一步,也是决定后期电池好坏的一个重要的步骤。合适的化成工艺对减少析锂、异常筛选都有很好的指导意义。

化成结束后我们会对电池再次进行高温静置,有问题的电池我们会挑选出来,根据实际情况看是否需要进行二次化成。然后把电池放到二次注液房,进行一个补液封口的工步。注液与前面一样不再赘述。封口即是把注液孔密封起来,彻底隔绝电池内部和外部,避免外部的空气和水的进入。因为在注液过程中存在电解液残留在电池壳体表面,为了避免氧化、腐蚀电池外壳,故而需要进行清洗,一般使用去离子水(不导电)清洗。
电池清洗后就到了分容,分容就是通过对电池的满充满放,确定电池的容量,过了分容,这个电池的容量就确定了,作为后期分档筛选的依据。注意与化成的区别,化成一般只充电不放电,分容充电又放电。

分容过后会对电池进行高温和常温静置,然后进行OCV测试,测量电池的电压、内阻相关信息。
测试结束后,根据电池的容量、电压等信息对合格的电池进行分档,根据不同的要求,按照档位组装到模组里面。

通过串并联组装进模组,并进行相关测试。

把一个一个的模组,组装进PACK包里面,PACK包的外形,是根据整车的需求来设计,并不是仅采用一种外形。我们知道串联增加电压,并联增加电流,驱动汽车需要一定的功率,功率等于电压乘以电流。比如,12个3.6V、50AH电池串联,则电压为12*3.6=43.2V增大,容量为50AH,电流不变。12个电池并联则电压为3.6V不变,容量为600AH,电流增加。

PACK包也必须通过一系列的检测,当然还要装入重要的BMS,电池管理系统。合格之后才能发送给整车厂,整车厂对PACK包进行装备,就像装备其他零部件一样,这样电池就从原材料,变成驱动汽车前进的动力了。

获取更多,欢迎关注公众号:江子才

浙公网安备 33010602011771号