2021长安杯复盘学习
解压密码:2021第三届CAB-changancup.com
给的文件都是VC加密过的,所以要先拿密码挂载一下
检材一

算哈希值,拖到软件里即可:

3fece1e93be4f422c8446b77b6863eb6a39f19d8fa71ff0250aac10f8bdde73a

这里可以直接用宏连的apk分析软件

plus.H5B8E45D3

继续

H5B8E45D3
呃

ABCDE

打开该软件

反编译后搜索该字段

点进去查看

末尾发现sojson V4加密的字段,解密得:

这里可以看到回传了GPS的相关信息

其余可以利用抓包查看
回传了手机号码和验证码

这个软件会请求通讯录的权限
所以:
ACDE

在解密得内容中可以看到,为POST

POST

用雷电自带的代理抓包可以看到

www.honglian7001.com

直接搜索


这里说的很清楚

所以直接搜sms

www.honglian7001.com/api/uploads/apisms

雷电的Frida脚本分析

test.db

接上题:
c74d97b01eae257e44aa9d5bade97baf
检材二

先用第七题的答案解压


从弘连里面计算即可
E6873068B83AF9988D297C6916329CEC9D8BCB672C6A894D393E68764391C589

结合题目给的报案的时间,可看出案发时间内登陆的ip地址

192.168.110.203
对镜像仿真(仿真软件是可以把密码重置的,但第一次不知道为什么没有重置qaq)
这里不是很有思路,去看看history
注意到一个honglianjingsai,进去看看
查看READEME
现在思路比较清楚了
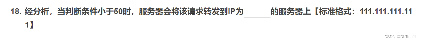
进到反向代理的文件中,发现服务器对不同的流量向不同的服务器进行转发
所以服务器承载的作用为负载均衡

负载均衡


80
还是在ChronusNode的目录下,查看app.js文件
注释给的很明显了,不过要注意js文件的开启命令是node xx.js
node app.js
在之前反向代理的文件里面可以看到该函数(需要一些代码审计的能力,这里是对数组做了切片的,以.隔开)
所以是第3位
3
结合上一题的转发函数

192.168.110.111
上提看到了三个不同的ip,所以是三台
3
没有很好的思路,查一下日志吧qaq
案发应该是24号,看一下24号的日志
看到好几个可疑的ip
结合192.168.110.203的请求头可以知道这个是入侵时使用的ip
剩下两个可疑的:
192.168.110.252和192.168.110.142
呃,不太确定,但前者登陆次数比较多,我选252的
192.168.110.252

Destination:192.168.110.113
192.168.110.113
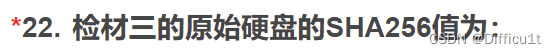
检材三

解压得到三个文件

应该就是上题转发到的三个服务器的文件,这三个服务器应该连接的是同一个数据库,所以理论上用哪个做都可以
上题的流量转发到了113的服务器里,所以我们计算这个服务器的哈希
205C1120874CE0E24ABFB3BB1525ACF330E05111E4AD1D323F3DEE59265306BF
仿真后直接重置了,但先别急,先接着做


hl123
没思路,连进去看看吧。。。

还是没有思路,看了别人的答案,说宝塔用于设置密码的脚本在tool.py里
还真有
set_panel_pwd


MD5
去上题提到的publi文件里看


md5加密一次,加盐,再md5,所以是3
3
弘连查看

v87ilhAVumZL

用宝塔搭过一次网站,所以直接登宝塔看一下就行,不过记得先改一下密码(习惯了)
进去了

/www/wwwroot/www.honglian7001
检材四
使用弘连可以直接搜索

192.168.110.115

由上题:
wxrM5GtNXk5k5EPX
重头戏来了
解压完检材是三个dd文件(涉及raid重组,之前用FTK imager挂载过了,所以这里会有各自的缓存文件)
raid重组:
1.先在ftk中挂载(writable)
2.用R-studio重组
3.创建镜像并导出
配置好虚拟机的网络后尝试输入admin/common/login.shtml
看到界面了
说明对了
将common.php拖出来审计

/admin
lshi4AsSUrUOwWV

这里去查看4月份的日志
发现两个


使用security可以登陆
security


3

使用刚刚日志里的账号密码登陆后台

6002
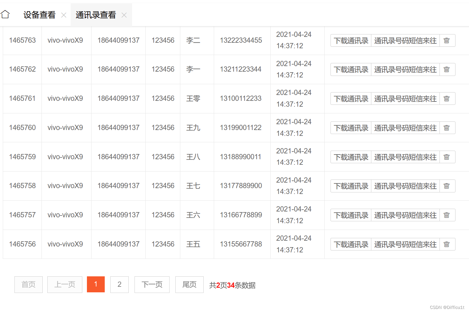
根据下载时间可以确定手机号码

18644099137

使用上题的手机号搜索通讯录

34
检材五
(官方把检材五和检材四打反了)
软件里算一下
E9ABE6C8A51A633F809A3B9FE5CE80574AED133BC165B5E1B93109901BB94C2B

输入密钥后弘连才能取出更多的内容

使用取证大师查看密钥


解密成功,变绿

511126-518936-161612-135234-698357-082929-144705-622578


12306
可以看到是Chrome

Chrome

仿真看一下(可视化比较直观)
算一下
0DD2C00C8C6DBDEA123373F91A3234D2F07D958355F6CD7126E397E12E8ADBB3


IMEI1 868668043754436
IMEI2 868668044204431
通过弘连可以发现首次取得联系是通过伊对这个聊天软件
伊对


点微信查看好友信息

wxid_op8i06j0aano22
点开qq查看

1649840939

9C48E29EB5661E6ED088A364ECCóEF004C150618088D7000A393340180F15608

15266668888

5

cd62a83690a53e5b441838bc55ab83be92ff5ed26ec646d43911f119c15df510



52题的压缩包中收了两千
数据库中还有一千
共6600
6600

还真有
浙公网安备 33010602011771号