倍福授权的ETherCAT芯片TR8253L P2P替代微芯LAN9252、LAN9253伺服驱动、IO模块、六维力传感器
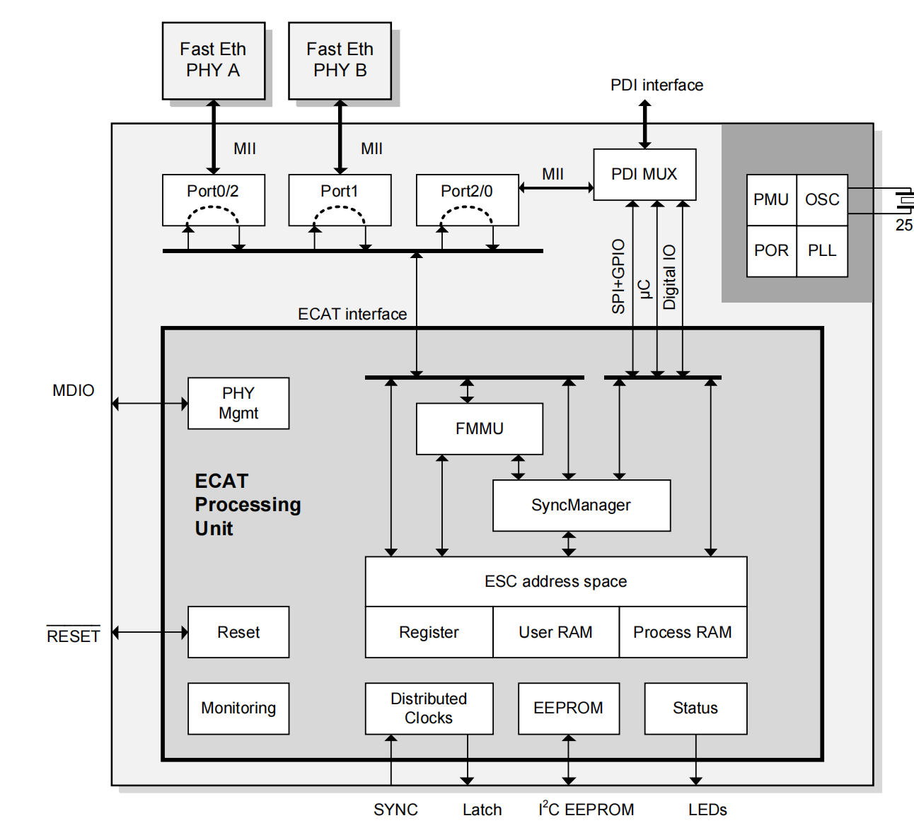
TR8253/TR8211系列为EtherCAT从站控芯片,集成了倍福自动化授权的ESCcore模块。它支持2/3端口的EtherCAT通信,用于处理EtherCAT数据帧。提供双集成以太网PHY,每个PHY均提供全双工100BASE-TX收发器,支持100Mbps运行。LAN9253支持HP Auto-MDIX,所以可以使用直连或交叉LAN电缆。TR8253L包括一个3端口EtherCAT从控制器(带8KB双端口存储器 (DPRAM))、8个SyncManager、8个现场总线内存管理单元 (FMMU) 和一个64位分布式时钟。

主要特性
EtherCAT从控制器功能
2-3个EtherCAT通信端口
8个现场总线内存管理单元(FMMUs)
8x同步管理器
64位分布式时钟
8K字节进程RAM
128字节用户内存
过程数据接口
16/32位数字I/O(单向/双向)
SPI从机在直接寻址模式
8/16位复用μ控制器接口
快速以太网PHY
兼容IEEE802.3/802.3u 100BASE‐TX标准
支持交叉线的自动检测和切换(HP Auto MDIX)
支持自动极性检测和校正
电力供应
支持单路3.3V供电
集成电压调节器用于测井

应用市场
运动控制
数字信号I/O控制
过程/工厂自动化
通信模块,接口卡
传感器数据采集
操作员人机界面

其他以太网芯片推荐
LY1210A-增强型单口工业以太网百兆PHY,支持EtherCAT,兼容IEEE802.310BASE-T、100BASE-TX、100BASE-FX 协议标准。
LY1310A-标准型单口100M工业以太网PHY,低功耗<130mW,低延时,高度稳定,鲁棒性强。
LY1211S-单口千兆以太网PHY,支持光口,兼容1000BASE-T、1000BASE-X、100BASE-FX,000M模式下功耗<400mW,远低于业界同类产品,千兆模式下支持140米远超协议标准的100米。
LY1211A-单口千兆以太网PHY,000M模式下功耗<400mW。
LY1241/1281-1284/1288多口千兆以太网PHY,支持QSGMII/RGMII等丰富接口,丰富的线缆诊断,千兆速率下支持140米,-40°~105°。
LY1212-单口2.5G以太网PHY,2.5G模式下支持110米。
TR8211/TR8211K对标替代ET1100。

浙公网安备 33010602011771号