操作系统概念第三章笔记

进程的概念
进程是执行的程序
程序本身并不是进程,程序只是被动的实体,如一个可执行文件,进程是一个活动的实体,具有一个程序计数器表示下一个执行命令和一组资源。
如果两个进程和同一个程序相关联,但是这两个进程回被当作两个不同的执行序列。虽然他们的文本段相同,但是数据,堆,堆栈却不同
进程也可以被当作为一个环境,用于执行其他代码,如java虚拟机
一个完整的进程由如下几部分组成
- 文本段(有时也被称为代码段)
- 当前活动:程序记数器(程序计数器就是一个指针变量,指向线程中代码执行到的位置。每执行完一条指令,计数器+1)的值,处理器寄存器的内容
- 进程堆栈:临时数据,函数参数,返回地址和局部变量
- 数据段:包括全局变量,static
- 堆:这是在进程运行时动态分配的内存
进程状态
进程在执行时会改变状态,部分取决于进程的当前活动。
- 新的:进程正在创建
- 运行:进程正在执行
- 等待:进程等待发生某个时间(io操作或者收到信号)
- 就绪:进程等待分配处理器
- 终止:进程已经完成执行

** 一次只能有一个进程可以在处理器上运行,但同时可以有很多进程处于等待或者就绪状态 **
进程控制块
操作系统每一个进程表示,采用进程控制块(pcb)也称为任务控制块,相当于进程的标签
pcb包含的内容如下
- 进程状态:状态可以包括** 新的、运行、就绪、等待、终止 **
- 程序计数器:计数器表示进程要执行下一条指令的地址
- cpu寄存器: 包括累加器,索引寄存器,堆栈指针,通用寄存器和其他条件码信息寄存器,在发生中断时,这些状态信息要和程序计数器一起保存
- cpu调度信息:包括进程优先级,调度队列的指针和其他调度参数
- 内存管理系统:这些系统可以包括基地址,界限寄存器的值、页表、段表。
- 记账信息:cpu时间,实际使用时间,时间期限,记账数据,进程数量。
- io状态信息:分配给进程的io设备列表打开文件列表。

进程的切换图示

线程
在多核系统中,可以并行运行多个线程。在支持线程的系统中,pcb被扩展成包括每个线程的信息。
进程调度
多道程序设计的目的:无论何时都有进程运行,从而最大化cpu利用率
分时系统目的:在进程之间快速切换cpu,以便用户在程序执行的时候能与之交互
进程调度器:在多个可用进程中选用一个可用进程到cpu上执行。
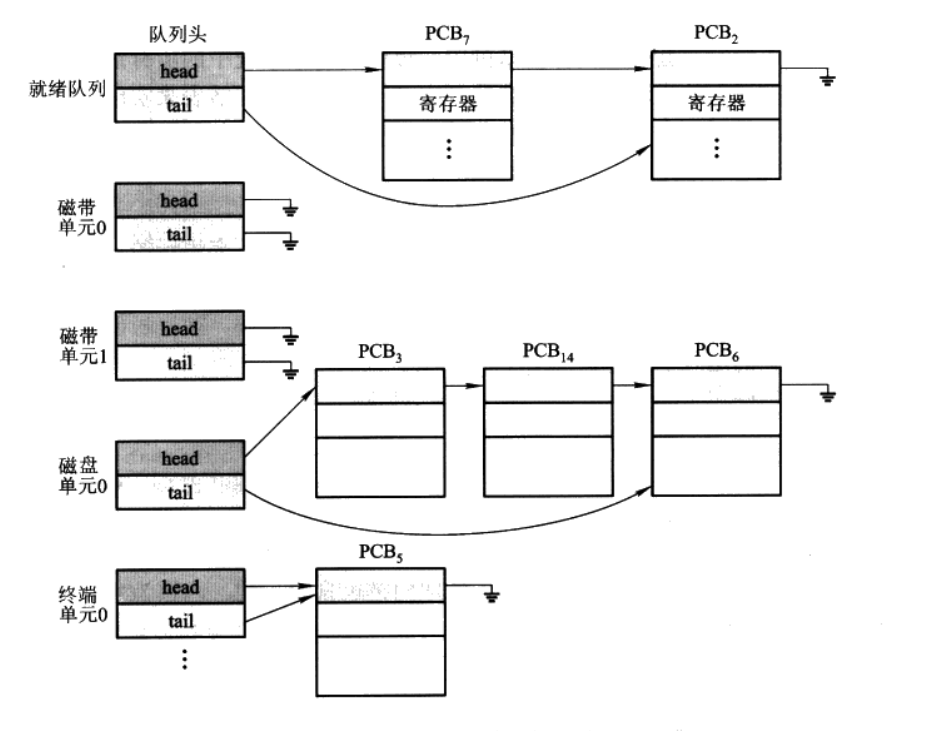
调度队列
进程在进入系统时,会被加到作业队列(包含所有的进程)

就绪队列用链表实现,头节点有两个指针,一个指向链表的第一个pcb和最后一个pcb块。每个pcb包含一个指针指向队列中下一个pcb块
等待特性io的队列为设备队列,每个队列都有自己的设备队列

进程被放回到就绪队列之后可能发生的事情

调度程序
进程在整个生命周期中,会在各种调度队列之间迁移。操作系统为了按一定方式从这些队列中选择进程,进程选择通过适当调度器或调度程序(scheduler)来执行。
长期调度程序(long-term scheduler)从大容量存储设备(通常为磁盘)的缓冲池中选择进程,加到内存中,以便执行。
短期调度程序(short-term scheduler)或CPU调度程序(CPU scheduler)从准备执行的进程中选择进程,并分配给CPU。
这两种调度程序的主要区别是执行效率。
短期调度程序必须经常为CPU选择新的进程。进程可能执行几毫秒,就会等待I/O请求。通常,短期调度程序每100ms至少执行一次。由于执行之间的时间短,短期调度程序必须快速。
而长期调度程序执行并不频繁,在新进程的创建之前,可能有几分钟的间隔。长期调度程序控制多道程序程度(内存中的进程数量)。因此,只有在进程离开系统时,才需要长期调度程序的调度。由于每次执行之间的更长时间间隔,长期调度程序可以负担得起更多时间,以便决定选择执行那个进程。长期调度程序需要认真选择。
** 大多数进程可分为:I/O为主或CPU为主 **
I/O密集型进程(I/O-bound process),执行I/O比执行计算需要花费更多时间。
CPU密集型进程(CPU-bound process)很少产生I/O请求,而是将更多时间用于执行计算。
所以,长期调度程序应该选择I/O密集型和CPU密集型的合理进程组合。
如果所有进程都是I/O密集型的,那么就绪队列几乎总是为空,从而短期调度程序没有什么可做。
如果所有进程都是CPU密集型的,那么I/O等待队列几乎总是为空,从而设备没有得到使用,因而系统会不平衡。
所以,为了使得性能最佳,系统需要I/O密集型和CPU密集型的进程组合。
有的操作系统如分时系统,可能引入一个额外的中期调度程序(medium-term scheduler)。
中期调度程序的核心思想是可将进程从内存(或从CPU竞争)中移出,从而降低多道程序程度。之后,进程可被重新调入内存,并从中
断处继续执行。这种方案称为交换(swap)。通过中期调度程序,进程可换出(swap out),并在后来可换入(swap in)。
为了改善进程组合,或者由于内存需求改变导致过度使用内存从而需要释放内存,就有必要使用交换

三者之间的差异
短期调度:短期调度在内存进程中选择就绪执行的进程加载到CPU
中期调度:中期调度将部分运行进程移出内存,之后又加载进程到内存,从中断处运行
长期调度:长期调度从大容量存储设备的缓冲池中选择进程加载到内存
上下文切换
上下文切换:操作系统保存正在运行的进程中的上下文,然后恢复将要运行进程的上下文
进程上下文采用PCB表示,包括CPU寄存器的值,进程状态和内存信息管理等。
通常,通过执行状态保存(state save),保存CPU当前状态(包括内核模式和用户模式),之后,状态恢复(state restore)重新开始运行。
进程运行
大多数系统的进程能够并发执行,它们可以动态创建和删除。
进程创建
进程在执行过程中可能创建多个新的进程。创建进程称为父进程,而新的进程称为子进程。每个新进程可以在创建其他的进程,从而形成进程树(process tree)。
大多数的操作系统对进程的识别采用的是唯一的进程标识符(pid)这通常是一个整数值。
系统内的每个进程都有唯一的pid,它可以用作索引,以便访问内核中的进程的各种属性。
当一个进程创建子进程时,该子进程会需要一定的资源(CPU时间,内存等)来完成任务。
子进程可以从操作系统那里直接获得资源
子进程也可以父进程那里获得资源子集。父进程可能会在子进程之间分配资源或共享资源
当进程创建新进程时,可有两种执行可能:
父进程与子进程并发执行
父进程等待,直到某个或全部子进程执行完
新进程的地址空间也有两种可能:
子进程是父进程的复制品
子进程加载另一个程序(如使用系统调用exec())
进程终止
当进程完成执行最后语句并且通过系统调用exit()请求操作系统删除自身时,进程终止。
父进程终止子进程的原因有很多,如以下三种:
子进程使用了超过它所分配的资源(为判定是否发生这种情况,父进程应有一个机制,以检查子进程的状态)。
分配给子进程的任务,不再需要。
父进程正在退出,而且操作系统不允许无父进程的子进程继续执行。
级联终止:如果一个进程终止,那么它的所有子进程也应终止。这种现象,就叫做级联终止。
当一个进程终止时,操作系统会释放其资源。但它位于进程表中的条目还是在的,直到它的父进程调用wait(),这是因为进程表包含了进程的退出状态。
僵尸进程(zonbie process):当进程已经终止,但是其父进程尚未调用wait()
所有进程终止时都会过度到这种状态,但是一般僵尸只是短暂存在。一旦父进程调用了wait(),僵尸进程的进程标识符和它在进程
表中的条目就会释放。
如果父进程没有调用wait()就终止,子进程就会称为孤儿进程。但linux和unix对此的处理:把init进程当成孤儿的爸爸。init定期调用wait()帮助孤儿超度。
进程间通信
操作系统内的并发执行进程可以是独立的也可以是协作的。
如果一个进程不能影响其它进程或受其他进程影响,那么该进程是独立的。显然,不与任何其他进程共享数据的进程是独立的。
如果一个进程能影响其他进程或受其他进程所影响,那么该进程是协作的。显然,与其他进程共享数据的进程为协作进程
提供环境允许进程协作,有很多理由:
- 信息共享(information sharing):由于多个用户可能对同样的信息感兴趣(例如共享文件),所以应提供环境以允许并发访问这些信息。
- 计算加速(computation speedup):可以把一个任务分成多个子任务,每个子任务可以与其他子任务并发执行。
- 模块化(modulrity):可能需要按模块化方式构造系统,可将系统功能分成独立的进程或线程。
- 方便(convenience):即使单个用户也可能同时执行许多任务。
协作进程需要有一种进程间通信(InterProcess Communication,IPC)机制,以允许进程相互交换数据与信息。
进程间通信有两种基本模型:
- 共享内存(shared memory): 共享内存会建立一块供协作进程共享的内存区域,进程通过向此共享区域读出与写入数据来交换信息
- 消息传递(message passing): 消息传递模型通过在协作进程间交换消息来实现通信
两者的比较:
消息传递对于交换较少数量的数据很有用,因为无需避免冲突。对于分布式系统,消息传递也比共享内存更易实现。
共享内存可以快于消息传递。这是因为消息传递实现经常采用系统调用,因此需要消耗更多时间以便内核介入。与此相反,共享内存
系统仅在建立共享区域时需要调用系统调用,一旦建立共享内存,所有访问都可以作为常规内存访问,无需借助内核。
共享内存系统
采用共享内存的进程间通信,需要通信进程建立共享内存区域。
生产者-消费者问题
** 生产者(producer)进程生产信息,以供消费者(consumer) **进程消费,解决生产者消费者的问题的方法之一是,采用共享内存。为了允许生产者进程和消费者进程并发执行,应有一个可用的缓冲区,以被生产者填充和被消费者清空。这个缓冲区驻留在生产者进程和消费者进程的共享区域内。当消费者使用一项时,生产者可产生另一项。
生产者和消费者必须同步,这样消费者和不会试图消费一个尚未生产出来的项。
同步:一件事情必须先做什么再做什么,否则不能继续下去。
缓冲区类型分为两种:
无界缓冲区(unbounded-buffer):没有限制缓冲区的大小。 消费者不得不等待新的项,但生产者总是可以产生新项。
有界缓冲区(bounded-buffer):固定大小的缓冲区。如果缓冲区为空,消费者必须等待。如果缓冲区已满,生产者必须等待。
消息传递系统
操作系统提供机制,以便协作进程通过消息传递功能进行通信。
这有三种方法,用于实现链路和操作send()/receive():
- 直接或间接的通信
- 同步或异步的通信
- 自动或显式的缓冲
命名
** 直接通信(direct communication) **:直接通信需要通信的每个进程必须明确指定通信的接收者或发送者。
send(p,message): 向进程P发送message
receive(Q,message):从进程Q接收message
这种方案具有以下三种属性:
- 需要通信的每对进程之间,自动建立链路。进程仅需知道对方身份就可进行交流。
- 每个链路只与两个进程相关
- 每对进程之间只有一个链路
这种方案展示了寻址的对称性(symmetry),即发送和接收进程必须指定对方,以便通信。
下面一种采用寻址的非对称性(asymmetry),即只要发送者指定接收者,而接收者不需要指定发送者。
send(P,message):向进程P发送message
receive(id,message):从任何进程,接受message,这里变量id被设置成与其通信进程的名称。
这两个方案都有一定的缺点:
生成进程定义的有限模块化。
更改进程标识符可能需要分析所有其他进程定义,所有旧的标识符的引用都应被找到,以便修改成为新标识符。
邮箱
** 间接通信(indirect communication) **:间接通信通过邮箱或端口来发送和接收消息。
邮箱可以抽象成一个对象,进程可以向其中存放消息,也可从中删除消息,每个邮箱都有一个唯一的标识符。
一个进程可以通过多个不同邮箱与另一个进程通信
send(A, message):向邮箱A发送message
receive(A, message):从邮箱A接受message
这种方案有以下三种特点:
只有在两个进程共享一个邮箱时,才能建立通信线路。
一个链路可以与两个甚至更多进程相关联。
两个通信进程之间可有多个不同链路,每个链路对应于一个邮箱
假设进程P1,P2和P3都共享邮箱A,进程P1发送一个消息到A,而进程P2和P3都对A执行receive()。那么哪个进程会收到P1发送的消息?
答案不是唯一的,取决于所选择的方案:
- 允许一个链路最多与两个进程关联
- 允许一次最多一个进程执行receive()
- 允许系统随意选择一个进程以便接收消息(即P2和P3两者之一都可以接收消息,但不能两个都可以)
** 系统同样可以定义一个算法选择哪个进程是接收者,系统还可以让发送者指定接收者 **
邮箱可以为进程或操作系统拥有
如果邮箱为进程所拥有(即邮箱是进程地址空间的一部分),那么需要区分所有者(只能从邮箱接受消息)和使用者(只能向邮箱发送消息)。每个邮箱都有唯一的标识符。当拥有邮箱的进程终止,那么邮箱就会消失。任何进程后来向该邮箱发送消息,都会得知邮箱不存在。
如果邮箱为操作系统拥有,那么邮箱是独立的,他不属于某个特定进程。因此操作系统必须提供机制以便进程进行如下操作
- 创建新的邮箱
- 通过邮箱发送和接受消息
- 删除邮箱
创建新邮箱的进程缺省为邮箱的所有者,所有者是唯一能够通过邮箱接受消息的进程,不过通过系统调用可以把拥有权和接受权限传给其他进程,这样就会有多个接受者。
同步
进程间通信可以通过调用原语send()和receive()来实现
消息传递可以是阻塞(blocking)或非阻塞(nonblocking),也称为同步(synchronous)或异步(asynchronous)。
发送接收有以下四种:
- 阻塞发送(blocking send):发送进程阻塞,直到消息由接收进程或邮箱所接收
- 非阻塞发送(nonblocking send):发送进程发送消息,并且恢复操作,不会等待
- 阻塞接收(blocking receive):接收进程阻塞,直到有消息可用
- 非阻塞接收(nonblocking receive):接收进程收到一个有效消息或空消息
缓存
不管通信是直接的还是间接的,通信交换的消息总是驻留在临时队列中。也就是缓存
队列实现有三种方法:
- 零容量(zero capacity):队列的最大长度为0,因此,链路中不能有任何消息处于等待,这种情况下,发送者应该阻塞,直到接收者接收到消息。
- 有限容量(bounded capacity):队列长度为有限的n,因此最多只能有n个消息驻留其中,如果在发送新消息时队列未满,那么该消息可放在队列中,且发送者可以继续执行而不必等待。然而,链路容量有限,如果链路已满,那么发送者应该阻塞,知道队列空间有可用的为止。
- 无限容量(unbounded capacity):队列长度可以无限。因此,不管多少消息都可在其中等待。发送者从不阻塞。

浙公网安备 33010602011771号