2025年3月国产数据库大事记-墨天轮
本文为墨天轮社区整理的2025年3月国产数据库大事件和重要产品发布消息。
目录
2025年3月国产数据库大事记 TOP10


2025年3月国产数据库大事记(时间线)
3月3日消息,GBASE南大通用中标广西商务厅数据库采购项目。
3月4日消息,GBASE南大通用与新华三联合推出全国产化基础架构数据库解决方案。该方案结合了GBASE南大通用自主研发的GBase 8c多模多态分布式数据库(支持行存储、列存储、内存存储等多种引擎)与新华三的国产化基础架构平台(涵盖服务器、存储、网络等全栈产品)。通过技术先进性、架构兼容性、运维便捷性和生态联通性四大优势,该方案为企业提供安全、稳定、高效的数据存储和管理服务。


3月5日消息,近日,达梦数据与法本信息签署战略合作协议,旨在共同推动国产数据库的市场化落地与产业创新发展。双方将在产品合作、解决方案制定、人才培养及市场拓展等方面深度协作,整合各自在数据库领域和数字化服务领域的专业优势,打造端到端的全生命周期数据管理服务和高性能解决方案,助力数字经济和信创产业的发展。


3月5日,阿里云数据库 Tair Serverless KV正式公测,这是一款自动弹性伸缩的分布式持久化KV数据库,接口兼容Redis。它无需用户关注业务负载及资源配置,可根据实际请求负载全自动弹性伸缩,采用Serverless计费模型,计算与存储独立计费,计算按调用次数计费,存储按实际用量日平均值计费。
Tair Serverless KV 分布式架构包含DataServer、ControlPlane、Proxy/LoadBalancer等关键组件,具备三可用区部署的容灾能力,支持多层独立探活、自动故障检测和恢复机制,以及跨区域容灾。弹性能力从单分区、节点和实例等多个维度增强服务扩展能力,能够快速响应业务负载变化,为高波动业务提供兼具成本效益与稳定性的技术底座。
3月5日消息,GBASE南大通用中标江苏银行易付通配套GBASE数据库许可采购项目。
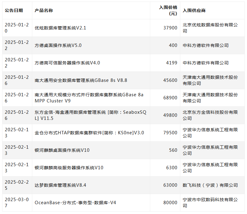
3月7日,宁波市政府采购中心发布《宁波市市级 2025 年度操作系统、办公软件及数据库框架协议采购项目的结果公告》,优炫数据库 UXDB、南大通用 Gbase、东方金信 SeaboxSQL、金仓数据库 KS0ne、达梦数据库、OceanBase等多家数据库产品入围,入围价格最高为 8 万元,框架协议期限为 2025 年 1 月 13 日至 2025 年 12 月 31 日。


3月7日,佛山市数据资源中心发布采购公告,拟以 378.784 万元采购华为 GaussDBV2.0(含集中式和分布式版本)。该项目由广州光语通信设备有限公司中标,采购的 GaussDB 具备高可用、高可靠、高安全等关键能力,适用于政府行业,支持 Linux 操作系统,提供永久使用许可和安装服务。
3月7日,清华大学、腾讯云、intel在北京宣布启动“数据库AI联合创新计划”,围绕数据库与大模型的交叉技术展开深度研究,推动数据库智能化升级,同时为AI应用构建高效数据基础设施。这也是国内首个数据库AI领域的产学研联动项目。


3月8日,深圳市信息行业协会正式发布“2024深圳数字化转型优秀应用成果”。深圳计算科学研究院YashanDB团队作为核心技术支撑单位,参与建设的三大项目成功入选,分别是:深圳龙华区“全域全信创”数字孪生城市平台、环水线上服务平台国产化数字化升级、深圳燃气客服营销云平台国产化数字化升级。这些项目覆盖了政务服务、能源管理等关键领域。


3月8日消息,神通数据库的DBStudio工具中引入了DeepSeek能力,改写了原有的AI智能补全功能,使用者能够以对话的便捷方式,将自然语言无缝转化为SQL及复杂查询语句。这一功能彻底扭转了以往数据库交互依赖专业编码的局面,升级为“全民对话”的模式,大大降低了企业数据驱动能力的技术门槛。


3月10日,招商银行发布《2025-2028 年度 TDSQL 数据库许可采购项目结果公告》,宣布腾讯云计算(北京)有限责任公司(TDSQL 原厂)和深圳市华云中盛科技股份有限公司(代理商)中标,采购内容为TDSQL数据库许可。
3月10日消息,金仓数据库助力中国人民解放军联勤保障部队第九O七医院多级互联智慧医疗系统正式上线。
3月10日消息,GBASE南大通用中标中国联通安徽VPDN和增值业务综合网管平台数据库项目。
3月10日消息,近日,openGauss社区成立了嵌入式数据库Embedded SIG(特别兴趣小组),由华为和粤港澳大湾区国家技术创新中心联合发起,旨在打造轻量化、高性能、多模态的嵌入式数据库解决方案,以满足物联网、工业互联网等新兴技术对嵌入式设备的需求。
该小组将推动技术创新、生态拓展与产业升级,助力企业在智能制造、智能汽车等领域的数字化转型,并通过产学研用协同创新,完善openGauss在嵌入式领域的技术布局,实现从传统服务器到嵌入式设备的全场景覆盖。
3月10日消息,中国移动河南公司成功实施了“磐维数据库+轩辕数据总线”的自主可控新模式,完成了CRM系统鹤壁数据库的迁移上线工作。该模式通过磐维数据库的多模多态设计和高效数据迁移能力,结合轩辕数据总线的性能优化与国产替代能力,解决了数据库高连接、高容量、高压力和高安全等痛点。


3月11日,NebulaGraph MCP Server正式开源,这是基于NebulaGraph 3.x实现的首个MCP生态基础组件。它遵循Model Context Protocol(MCP)规范,旨在为AI与图数据库的结合提供高效、轻量的连接服务。该Server支持多种传输方式(如stdio和SSE),具备图空间列出、模式查询和查询执行等基础功能,并内置路径搜索和邻居发现等算子模板,方便语言模型(如Claude、GPT等)调用NebulaGraph数据,实现图探索任务。这一开源项目为探索AI与图数据库结合的可能性提供了起点,并有望在更多真实场景中发挥价值。
3月12日,金篆GoldenDB数据库社区正式上线!在社区里,您可以获取完整产品文档,与我们共同探讨技术细节、交流解决方案;同时,GoldenDB技术团队也将定期在论坛中发布最新的技术动态、产品更新等。


3月12日,在无锡市先进技术研究院主办的第一届“申威赛马-数据库性能大赛”中,电科金仓从众多国内头部厂商中脱颖而出,斩获大赛第一名。
“申威赛马-数据库性能大赛”是一项基于申威威鑫H8000平台,以TPC-C性能测试跑分值作为量化指标与成绩标准的大赛,旨在提升重点软件在申威平台上的功性能指标,促进申威生态又好又快发展而推出的一项创新举措。
3月12日消息,GBASE南大通用与天玑科技联合推出数据库一体机云平台解决方案,助力企业数字化转型。该方案提供双模部署(纯软方案和纯硬一体),具备六大核心价值:高性能与稳定性、安全与可靠性、成本与能耗优化、灵活部署与扩展、智能运维以及省心省力的后期维管。


通过软硬一体化设计和深度优化,结合高性能硬件与分布式存储,该方案在某省电网计量生产调度平台中实现100%业务通过率,成为关键领域国产化替代的典范。
3月14日,宁波市司法局信息系统适配改造(一期)采购项目公布中标结果,中国电信股份有限公司宁波分公司以950万元的报价成功中标。此次采购项目中,包含了26套中电科金仓数据库管理系统KingbaseESV8.0,采购单价4.2万,数据库产品总价109.2万。


3月17日消息,电科金仓中标甘肃移动网管支撑系统数据库一体机项目。
3月18日消息,GBASE南大通用中标上海移动网优大数据分析等系统杨浦节点迁移工程项目。
3月19日消息,电科金仓中标新疆移动自主可控替换采购项目。
3月20日消息,优炫数据库成功应用于国家电投集团青海海南州新能源电厂。
3月24日消息,优炫数据库成功应用于青岛市北区法院。
3月25日,乌兰察布市政府数据库框架采购项目公布了入围结果,包括金仓数据库、海量数据库(VastBase)、东方金信(SeaboxSQL)、神通数据库、GreatDB、虚谷数据库、GoldenDB等在内的多家数据库产品成功入围。此次采购分为两个包,集中式数据库管理系统最高入围单价44688元,分布式数据库管理系统最高入围单价8万元。
包号1:集中式数据库管理系统入围名单

包号2:分布式数据库管理系统入围名单


3月26日消息,金仓数据库助力中国医学科学院阜外医院全院超声系统上线。
3月28日消息,近日,GBASE南大通用中标广东南海农村商业银行监管报表一表通数据报送项目。GBase数据库将为南海农商银行报送系统建设提供全面的数据库服务支撑。
3月28日消息,工信部赛迪顾问发布“2025中国最具投资价值基础软件企业榜单”,崖山科技凭借全栈自研能力、技术创新以及市场表现登顶榜首,成为基础软件领域和数据库管理系统领域的“最值得押注的中国力量”。
- 科蓝软件凭借其在数据库领域的技术突破与行业深耕,荣登“2025 中国最具投资价值基础软件企业十强”榜单,其中国原创自主品牌数据库 SUNDB 更以行业第二的位次,成为中国最具投资价值的标杆企业。
3月28日,天谋科技的工业物联网时序数据库IoTDB项目在第八届中关村国际前沿科技大赛中,从3200多个参赛项目中脱颖而出,荣获工业互联网领域赛第三名。
IoTDB是一款低成本、高性能的物联网原生时序数据库,具备自研存储引擎、查询计算引擎和智能分析引擎等多项核心技术,其性能和性价比在国际权威榜单TPCx-IoT中位居第一。目前,IoTDB已服务超1000家规模以上工业企业,广泛应用于能源电力、钢铁冶炼、航空航天、交通运输等关键领域,并被集成于多个国家/企业工业互联网平台中。
3月31日消息,近日,国产超融合数据库创新企业——深圳九有数据库有限公司(简称“九有数据库”)宣布完成A轮融资,由深圳天使母基金和龙华资本的共同子基金深圳市大米成长天使投资合伙企业(大米创投)领投。此轮融资将用于进一步加大技术研发投入,拓展市场版图,提升品牌影响力,为企业的持续发展注入动力。
「九有数据库」于2021年在深圳成立,专注于数据库软件研发及销售,公司于2023年6月完成天使轮融资,投资人为上市公司新国都旗下新国都万联。九有数据库核心技术团队由北京大学数据库教授、前甲骨文数据库内核专家组成。在产品上 ,构建了行业领先的全新的超融合数据库产品,支持时空数据、时序数据、对象数据等在内的多模态异构数据类型。
3月31日,由第一新声发起的“2024年度科技行业最佳CEO及高成长企业榜”榜单结果揭晓,经甲方企业CXO高管、产业专家等评委历经5个月评选,崖山科技获“2024年度中国信创产业最佳服务商”和“2024年度中国科技行业新锐企业榜”双项荣誉,成为国产基础软件赛道高成长性标杆。


产品/版本发布
3月2日消息,GreptimeDB v0.12版本重磅上线,带来多项重大更新和优化。新增跳数索引以降低存储空间占用,优化写入吞吐量和存储成本;统一了倒排索引、跳数索引和全文索引的创建语法,支持通过ALTER修改索引。Metric Engine性能显著提升,包括稀疏主键编码(试验阶段)、批量建表速度优化以及DROP DATABASE性能提升。PromQL兼容性进一步增强,支持更多函数和子查询。性能测试显示,与v0.11相比,v0.12写入速率提升近40%,查询性能提升约30%~40%。未来,GreptimeDB计划于6月发布v1.0版本。
3月3日消息,目前,阿里云向量检索服务 Milvus 版(简称阿里云 Milvus)集成开源 Milvus2.5版本内核,在支持向量检索的基础上,新增支持原生全文检索、基于特定词汇的精准文本匹配等功能,在 RAG、多模态搜索等场景下搜索精度明显提升,使用体验大幅优化。
3月3日,INFINI Labs 发布了产品更新,其中Easysearch v1.11.0新增 wildcard 数据类型、Point in time 搜索 API、异步搜索 API,以及数值和日期字段的 doc-values 搜索支持;新增 IK 分词器自定义词典使用文档;优化 Lucene flush 的 segment 大小以减少 I/O 开销。
3月6日,数据库初创公司晨章数据发布了基于数据基层创新架构的三款分布式数据库产品,分别是兼容Redis的分布式KV事务数据库EloqKV,兼容MySQL的分布式关系型数据库EloqSQL,以及兼容MongoDB的分布式文档数据库EloqDoc,并宣布产品全面开源。通过技术创新,打造适用于新一代AI应用的数据底座。
-
EloqKV:一款分布式事务数据库,兼容 Redis,具备分层存储持久化、高性能、水平扩展、主库级事务、客户端透明等特点,既可以作为缓存数据库使用,也可以作为主库事务库使用。它支持基于内存、本地 SSD 和对象存储的自动数据分层存储,热数据缓存在分布式缓存池中,可实现 0.1ms 查询响应延时,冷数据存储在多种 KV 存储引擎中,保证缓存未命中时的查询性能,帮助企业降本增效。
-
EloqSQL:一款分布式关系型数据库,兼容 MySQL,具备支持多写、全局二级索引、日志解耦、低延时分布式事务、低存储成本等特点。它解决了传统 MySQL 的写入瓶颈以及分库分表中的痛点问题,得益于数据基层架构,拥有非常低延时的分布式事务以及更低的存储成本,在基准测试中分布式事务的 TPS 和 95% 延迟指标比 NewSQL 提升了 10 倍。
-
EloqDoc:一款分布式文档数据库,兼容 MongoDB,具备支持多写、存算分离、日志解耦、强事务、原生分布式等特点。它是首个在所有资源(CPU、内存、日志、存储)都具备可扩展性和弹性的文档数据库,能够以更加经济的方式满足多样化工作负载需求,针对热点数据流量变化和大数据量进行了优化,支持单独增加缓冲池,避免不必要的数据 Rebalance,实现 100 倍弹性扩展速度,还可以单独扩展对象存储,通过解耦计算和存储降低成本,降低 10 倍 TCO。
3月10日,IvorySQL 4.4 发布,全面支持 PostgreSQL 17.4。IvorySQL 4.4 新版本提供 ARM64 和 X86 架构的全平台介质包,支持国内外主流操作系统;新增内核架构设计专栏,深入探讨 Oracle 兼容性;官方网站新增聊天室功能,支持智能互动和问答。
3月21日,鲲鹏RAG一体机解决方案在华为中国合作伙伴大会上正式发布,该方案基于openGauss的DataVec向量数据库,通过量化加速、向标融合、NPU加速等技术,解决了大模型“知识幻觉”问题,提升了大语言模型的实时性和准确性。它具有高性能、易部署、低成本等优势,支持亿级向量数据毫秒级召回,索引性能领先友商20%,推理加速提升30%-50%。此外,该方案还整合了openEuler开源操作系统、鲲鹏BoostKit等软件栈,实现开箱即用,部署效率提升超2倍。
3月24日消息,近日,达梦数据携手中国移动,建成国内最大达梦分布式数据库集群,总投产200+节点,完成了中国移动集团内首例达梦数据库和中国移动自研数据库构建的异构数据库容灾系统。
其中,2024年福建移动在大数据核心系统扩建的68节点达梦分布式数据库,是达梦迄今为止实施的最大单体集群。
3月26日,涛思数据正式发布了名为TDgpt的 AI 智能体。TDgpt 是内嵌于 TDengine 中的时序数据分析 AI 智能体,具备时序数据预测、异常检测、数据补全、分类等多项智能分析能力。TDgpt 的核心代码已在 GitHub 上开源,用户可以通过简单的 SQL 语句调用复杂的 AI 功能,无需编程经验或理解底层算法。TDgpt 支持多种主流时序模型,并提供了开放的 SDK,以便开发者能够轻松集成自研或开源的 AI 模型。


TDgpt这一创新功能作为 TDengine 3.3.6.0 的重要组成部分,标志着时序数据库在原生集成 AI 能力方面迈出了关键一步。
3月27日,首届 OceanBase 合作伙伴大会在北京圆满落幕。面向云和 AI 的数据浪潮,OceanBase 宣布正式迈入以“能力”和“增长”为关键词的生态建设 2.0,针对专有云和公有云两大市场,制定差异化的生态策略,并重磅发布全新 OceanBase 单机版产品,以满足客户从分布式到单机场景的多样化需求。


- OceanBase单机版基于自主研发的单机分布式一体化架构设计,具有极简数据库架构和高度兼容性,经过Sysbench测试,其性能在高并发写入场景中优于MySQL 8.0,吞吐量提升至 MySQL 8.0 的 214.99%。单机版继承了OceanBase的100%自研、高度兼容MySQL和Oracle的特性,支持HTAP混合事务与实时分析处理、多模数据处理等能力。适用于行业头部企业的非核心业务系统、混合部署场景、国产升级场景以及轻量级业务场景,有助于企业实现技术栈统一,降低运维复杂度和成本。
截至目前,OceanBase服务客户数突破 2000 家,连续四年实现 100% 增长,领跑独立分布式数据库厂商。在生态建设上,OceanBase 伙伴数量已超过 1200 家,其中 100+ 核心经销商贡献 60% 外部业绩,超 10 家专有云伙伴营收破千万、超 10 家公有云伙伴营收破百万。20+ 专业技术服务伙伴,独立交付 30% 项目,伙伴服务收入占比突破 50%。
3月31日消息,近日,OceanBase 4.3.5 BP1 版本全新上线全文索引企业级功能。在中文分词、查询性能、混合检索等方面实现突破,通过自然语言模式以及布尔模式的多种场景对比结果显示,OceanBase 的全文索引性能远超 MySQL。
3月31日,openGauss社区宣布发布openGauss 7.0.0-RC1创新版本,包含企业版和轻量版两个数据库服务端安装版本。该版本实现了内核能力、DataVec向量化能力、Datapod三层资源池化架构、DataKit数据全生命周期管理平台和生态兼容性的全面增强。新版本还支持容器化部署、向量类型存储、向量索引构建,以及Boostkit量化加速等特性,旨在提升数据库性能、可用性、智能性和安全性,同时增强生态兼容性,以满足不同用户场景的需求。
3月31日,KaiwuDB(KWDB)2.2.0版本发布,新增了纳秒级时间精度支持、分组窗口函数等特性,优化了数据库对象、数据写入、查询和运维功能。该版本还完善了对Ubuntu 18.04的支持,优化了开发者中心功能,并提供了从KWDB 2.1.0和2.0.x版本的升级路径。
兼容认证
3月12日,北京飞轮数据科技有限公司产品SelectDB与帆软软件有限公司产品 FineDataLink 正式完成产品兼容互认证。基于此次合作,双方将深度融合 SelectDB 的实时分析能力与 FineDataLink 的数据集成处理能力,共同为企业客户打造覆盖数据传输、数据调度、数据治理、存储分析的数字化链条,助力实现毫秒级决策响应,为企业业务的数字化转型提供支持。


相关资料
- 墨天轮中国数据库流行度排行榜-2025年3月已更新
- 墨天轮中国数据库流行度排行榜规则解读
- 2023 :国产数据库名录和产品信息一览
- 月度国产数据库大事记合辑
- 中国数据库排行榜 - 月度解读
- 国产数据库招投标信息汇总
点击阅读原文:https://www.modb.pro/db/1906989458776403968
欲了解更多可浏览墨天轮社区,围绕数据人的学习成长提供一站式的全面服务,打造集新闻资讯、在线问答、活动直播、在线课程、文档阅览、资源下载、知识分享及在线运维为一体的统一平台,持续促进数据领域的知识传播和技术创新。
关注官方公众号: 墨天轮、 墨天轮平台、墨天轮成长营、数据库国产化 、数据库资讯
浙公网安备 33010602011771号