数组概述,创建、初始化,下标越界,多维数组,Arrays类,冒泡排序,稀疏数组
数组详解
数组概述
- 数组是相同类型数据的有序集合。
- 数组描述的是相同类型的若干个数据,按照一定的先后次序排列组合而成。
- 其中,每一个数据称作一个数组元素,每个数组元素可以通过一个下标来访问它们。
数组声明创建
- 首先必须声明数组变量,才能在程序中使用数组。下面是声明数组变量的语法:
dataType[] arrayRefVar; //首选的方法
或
dataType arrayRefVar[]; //效果相同,但不是首选方法
- Java 语言使用 new 操作符来创建数组,语法如下:
dataType[ ] arrayRefVar = new dataType[arraysize];
-
数组的元素是通过索引访问的,数组索引从 0 开始。
-
获取数组长度:
arrays.length
数组代码演示:
public static void main(String[] args) {
int[] number = new int[6]; //声明并创建数组
number[0] = 1;
number[1] = 2;
number[2] = 3;
number[3] = 4;
number[4] = 5;
number[5] = 6;
int sum = 0; //存放所有元素的和
for (int i = 0; i < number.length; i++) {
sum += number[i];
}
System.out.println("元素总和为:" + sum);
}
数组的四个基本特点
- 其长度是确定的。数组一旦被创建,它的大小就是不可以改变的。
- 其元素必须是相同类型,不允许出现混合类型。
- 数组中的元素可以是任何数据类型,包括基本类型和引用类型。
- 数组变量属引用类型,数组也可以看成是对象,数组中的每个元素相当于该对象的成员变量。数组本身就是对象,Java中对象是在堆中的,因此数组无论保存原始类型还是其他对象类型,数组对象本身是在堆中的。
Java 内存分析

数组创建分析:

声明一个数组,此时在栈中声明一个变量,new创建对象时,在堆中申请存储空间,未初始化的数组元素,值是数据类型的默认值。当下标大于数组长度时,会出现数组下标越界的错误。
三种初始化状态
- 静态初始化:
int[] a = {1,2,3};
Man[] mans = {new Man(1,1), new Man(2,2)};
- 动态初始化:
int[] a = new int[2];
a[0]=1;
a[1]=2;
- 数组的默认初始化:
- 数组是引用类型,它的元素相当于类的实例变量,因此数组一经分配空间,其中的每个元素也被按照实例变量同样的方式被隐式初始化。
代码展示:
public static void main(String[] args) {
int[] a = {1,2,3,4,5}; //静态初始化:创建 + 赋值
System.out.println(a[0]);
int[] b = new int[5]; //动态初始化:包含默认初始化
b[0] = 10;
b[1] = 20;
System.out.println(b[0]);
System.out.println(b[1]);
System.out.println(b[2]); //未赋值的数组元素,系统给出默认值
}
下标越界及小结
数组的四个基本特点:
- 其长度是确定的。数组一旦被创建,它的大小就是不可以改变的。
- 其元素必须是相同类型,不允许出现混合类型。
- 数组中的元素可以是任何数据类型,包括基本类型和引用类型。
- 数组变量属引用类型,数组也可以看成是对象,数组中的每个元素相当于该对象的成员变量。数组本身就是对象,Java 中对象是在堆中的,因此数组无论保存原始类型还是其他对象类型,数组对象本身是在堆中的。
数组边界
- 下标的合法区间:[0, length-1],如果越界就会报错;
public static void main(String[] args) {
int[] a = new int[2];
system.out.print1n(a[2]);
}
- ArraylndexOutOfBoundsException:数组下标越界异常!
- 小结:
- 数组是相同数据类型(数据类型可以为任意类型)的有序集合数组也是对象。
- 数组元素相当于对象的成员变量。
- 数组长度的确定的,不可变的。如果越界,则报: ArraylndexOutofBounds。
数组的使用
- for-each 循环。(增强型 for 循环只用于打印结果,操作数组用 for 循环)
- 数组作方法的传入参数。
- 数组作返回值。
代码演示:
public class ArrayDemo04 {
public static void main(String[] args) {
int[] arrays = {1,2,3,4,5};
for (int array : arrays) { //jdk1.5,增强型for循环,没有下标,用于打印结果。
System.out.print(array+"\t");
}
System.out.println("\n==传参输出==");
ArrayDemo04 ade = new ArrayDemo04();
ade.printArray(arrays);
System.out.println("\n==反转结果==");
int[] reve = ade.reverse(arrays);
ade.printArray(reve);
}
public void printArray(int[] arrays) { //数组封装成参数
for (int i = 0; i < arrays.length; i++) {
System.out.print(arrays[i]+"\t");
}
}
public int[] reverse(int[] arrays) { //反转数组
int[] result = new int[arrays.length];
for (int i = 0, a = arrays.length-1; i < arrays.length; i++, a--) {
result[a] = arrays[i];
}
return result;
}
}
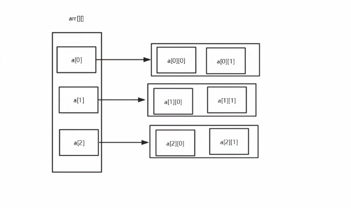
多维数组
- 多维数组可以看成是数组的数组,比如二维数组就是一个特殊的一维数组,其每一个元素都是一个一维数组。

- 二维数组
int a[][] = new int[2][5];
- 解析:二维数组 a 可以看成一个两行三列的数组。
- 思考:多维数组的使用?
代码展示:
public class ArrayDemo05 {
public static void main(String[] args) {
int[][] array = {{1,2},{2,3},{3,4},{4,5}};
ArrayDemo05 arDe = new ArrayDemo05();
arDe.printArray(array[0]);
System.out.println(array[0][0]+","+array[0][1]);
arDe.traversal(array);
}
public void printArray(int[] array) {
for (int i = 0; i < array.length; i++) {
System.out.print(array[i]+"\t");
}
}
public void traversal(int[][] array) {
for (int i = 0; i < array.length; i++) {
for (int a = 0; a < array[i].length; a++) {
System.out.print(array[i][a]+"\t");
}
}
}
}
//运行结果:
1 2 1,2
1 2 2 3 3 4 4 5
Arrays类
- 数组的工具类 java.util.Arrays
- 由于数组对象本身并没有什么方法可以供我们调用,但 API 中提供了一个工具类 Arrays 供我们使用,从而可以对数据对象进行一些基本的操作。
- 查看 JDK 帮助文档。
- Arrays 类中的方法都是 static 修饰的静态方法,在使用的时候可以直接使用类名进行调用,而“不用”使用对象来调用(注意:是“不用”而不是“不能”)
- 具有以下常用功能:
- 给数组赋值:通过 fill 方法。
- 对数组排序:通过 sort 方法,按升序。
- 比较数组:通过 equals 方法比较数组中元素值是否相等。
- 查找数组元素:通过 binarySearch 方法能对排序好的数组进行二分查找法操作。
代码演示:
import java.util.Arrays;
public class ArrayDemo06 {
public static void main(String[] args) {
int[] a = {34,94,45,23,75,86,53};
System.out.println(Arrays.toString(a)); //Arrays类的toString()输出
printArray(a); //自定义方法输出
Arrays.sort(a); //sort()方法排序
System.out.println(Arrays.toString(a));
Arrays.fill(a,2,4,0); //下标为 2~4 (2 <= fille < 4) 的元素填充为0
System.out.println(Arrays.toString(a));
}
public static void printArray(int[] a) {
for (int i = 0; i < a.length; i++) {
if (i == 0) {
System.out.print("[");
}
if (i == a.length-1) {
System.out.print(a[i]+"]\n");
}else {
System.out.print(a[i]+", ");
}
}
}
}
冒泡排序
- 冒泡排序无疑是最为出名的排序算法之一(八大排序之一)。
- 比较数组中两个相邻的元素,如果第一个数比第二个数大,就交换他们的位置
- 每一次比较,都会产生出一个最大,或者最小的数字。
- 下一轮则可以少一次排序。
- 依次循环,直到结束!
//比较数组中2个相邻的元素,若第一个数比第二个大,就交换它们的位置,以此循环。
5 4 2 3 8 -->5 2 4 3 8 -->2 5 4 3 8 //第一次排序
2 5 4 3 8 -->2 5 3 4 8 -->2 3 5 4 8 //第二次
2 3 5 4 8 -->2 3 4 5 8 //第三次
2 3 4 5 8 //结果
- 冒泡的代码还是相当简单的,两层循环,外层冒泡轮数,里层依次比较,江湖中人人尽皆知。我们看到嵌套循环,应该立马就可以得出这个算法的时间复杂度为O(n2)。
- 思考:如何优化?
冒泡排序代码:
import java.util.Arrays;
public class ArrayDemo07 {
public static void main(String[] args) {
int[] array = {3,67,83,37,16,45,2,97,45};
int[] sa = sortArray(array);
System.out.println(Arrays.toString(sa));
}
public static int[] sortArray(int[] array) {
int temp;
//外层循环,判断要走多少次(数组长度-1次)
for (int i = 0; i < array.length-1; i++) {
boolean flag = false; //通过flag表示减少没有意义的比较
//内层循环,比较两个数,如果第一个大于第二个,就交换位置
for (int a = 0; a < array.length-1-i; a++) {
if (array[a+1] < array[a]) {
temp = array[a];
array[a] = array[a+1];
array[a+1] = temp;
flag = true;
}
}
if (flag == false) {
break;
}
}
return array;
}
}
稀疏数组
- 需求:编写五子棋游戏中,有存盘退出和续上盘的功能。

- 分析问题:因为该二维数组的很多值是默认值0,因此记录了很多没有意义的数据。
- 解决方式:稀疏数组。
稀疏数组介绍:
- 当一个数组中大部分元素为0,或者为同一值的数组时,可以使用稀疏数组来保存该数生
- 稀疏数组的处理方式是:
- 记录数组一共有几行几列,有多少个不同值。
- 把具有不同值的元素和行列及值记录在一个小规模的数组中,从而缩小程序的规模。
- 如下图:左边是原始数组,右边是稀疏数组。

稀疏数组压缩棋盘代码示例:
public class ArrayDemo08 {
public static void main(String[] args) {
int[][] a1 = new int[11][11];
a1[1][2] = 1;
a1[2][3] = 2;
System.out.println("打印原始数组:");
for (int[] ints : a1) {
for (int anInt : ints) {
System.out.print(anInt+"\t");
}
System.out.println();
}
System.out.println("========压缩成稀疏数组========");
//转换为稀疏数组保存,获取有效值个数
int sum = 0;
for (int i = 0; i < 11; i++) {
for (int a = 0; a < 11; a++) {
if (a1[i][a] != 0) {
sum++;
}
}
}
System.out.println("有效值的个数:"+sum);
//创建一个稀疏数组型的数组
int[][] a2 = new int[sum+1][3];
a2[0][0] = 11;
a2[0][1] = 11;
a2[0][2] = sum;
//遍历二维数组,将非零的值,存入稀疏数组
int count = 0;
for (int i = 0; i < a1.length; i++) {
for (int a = 0; a < a1[i].length; a++) {
if (a1[i][a] != 0) {
count++;
a2[count][0] = i;
a2[count][1] = a;
a2[count][2] = a1[i][a];
}
}
}
//遍历稀疏数组
for (int i = 0; i < a2.length; i++) {
System.out.println(a2[i][0]+"\t"+a2[i][1]+"\t"+a2[i][2]);
}
System.out.println("========还原稀疏数组========");
//读取稀疏数组还原
int[][] a3 = new int[a2[0][0]][a2[0][1]];
//还原元素的值
for (int i = 1; i < a2.length; i++) { //注意稀疏数组第0行是头部信息,不需要读取
a3[a2[i][0]][a2[i][1]] = a2[i][2];
}
//打印还原的数组
for (int[] ints : a3) {
for (int anInt : ints) {
System.out.print(anInt+"\t");
}
System.out.println();
}
}
}
//结果打印:
打印原始数组:
0 0 0 0 0 0 0 0 0 0 0
0 0 1 0 0 0 0 0 0 0 0
0 0 0 2 0 0 0 0 0 0 0
0 0 0 0 0 0 0 0 0 0 0
0 0 0 0 0 0 0 0 0 0 0
0 0 0 0 0 0 0 0 0 0 0
0 0 0 0 0 0 0 0 0 0 0
0 0 0 0 0 0 0 0 0 0 0
0 0 0 0 0 0 0 0 0 0 0
0 0 0 0 0 0 0 0 0 0 0
0 0 0 0 0 0 0 0 0 0 0
========压缩成稀疏数组========
有效值的个数:2
11 11 2
1 2 1
2 3 2
========还原稀疏数组========
0 0 0 0 0 0 0 0 0 0 0
0 0 1 0 0 0 0 0 0 0 0
0 0 0 2 0 0 0 0 0 0 0
0 0 0 0 0 0 0 0 0 0 0
0 0 0 0 0 0 0 0 0 0 0
0 0 0 0 0 0 0 0 0 0 0
0 0 0 0 0 0 0 0 0 0 0
0 0 0 0 0 0 0 0 0 0 0
0 0 0 0 0 0 0 0 0 0 0
0 0 0 0 0 0 0 0 0 0 0
0 0 0 0 0 0 0 0 0 0 0

浙公网安备 33010602011771号