Linux学习笔记
1、Linux简介
Linux内核最初只是由芬兰人林纳斯·托瓦兹(Linus Torvalds)在赫尔辛基大学上学时出于个人爱好而编写的。
Linux是一套免费使用和自由传播的类Unix操作系统,是一个基于POSIX(可移植操作系统接口)和UNIX的多用户、多任务、支持多线程和多CPU的操作系统。
Linux能运行主要的UNIX工具软件、应用程序和网络协议。它支持32位和64位硬件。Linux继承了Unix以网络为核心的设计思想,是一个性能稳定的多用户网络操作系统。
- Liunx的发行版
- Liunx发型版简单来说就是用liunx内核和应用软件做一个打包
- 目前市面上较知名的发行版有:Ubuntu、RedHat、CentOS、Debian、Fedora、SuSE、OpenSUSE.
Arch Linux、SolusoS等。 - Kali linux:安全渗透测试使用

- LIunx的应用领域
今天各种场合都有使用各种Linux发行版,从嵌入式设备到超级计算机,并且在服务器领域确定了地位,通常服务器使用LAMP ( Linux + Apache + MySQL + PHP )或LNMP ( Linux + Nginx+ MySQL+ PHP )组合。
2、环境搭建
- 方式一:下载 CentOS7 镜像,然后安装 VMware 虚拟机软件打开镜像即可使用!
- 方式二:如果不想搭建虚拟机,可以直接购买一台云服务器使用,我这里就直接使用云服务器了!
- 阿里云购买服务器:https://www.aliyun.com/?utm_content=se_1009145079
- 修改登陆密码

- 添加安全组规则


-
下载 xShell 远程连接工具,进行远程连接使用(需要服务器开放22端口)。



- 下载 xftp 上传文件工具,进行文件上传到服务器。

3、走进Liunx系统
3.1、开机
开机会启动许多程序。它们在Windows叫做"服务" ( service ),在Linux就叫做"守护进程" ( daemon )。
开机成功后,它会显示一个文本登录界面,这个界面就是我们经常看到的登录界面,在这个登录界面中会提示用户输入用户名,而用户输入的用户将作为参数传给login程序来验证用户的身份,密码是不显示的,输完回车即可!
一般来说,用户的登录方式有三种:
- 命令行登录
- ssh登录
- 图形界面登录
最高权限账户为root,可以操作一切!
3.2、关机
在linux领域内大多用在服务器上,很少遇到关机的操作。毕竟服务器上跑一个服务是永无止境的,除非特殊情况下,不得已才会关机。
关机指令为: shutdown
sync #将内存数据同步至硬盘中
shutdown -h 10 # 这个命令告诉大家,计算机将在10分钟后关机
shutdown -h now #立马关机
shutdown -h 20:25 #系统会在今天20∶25关机
shutdown -h +10 # 十分钟后关机
shutdown -r now #系统立马重启
shutdown -r +10 #系统十分钟后重启
reboot #就是重启,等同于shutdown -r now
halt #关闭系统,等同于shutdown -h now和 poweroff
最后总结一下,不管是重启系统还是关闭系统,首先要运行 sync 命令,把内存中的数据写到磁盘中。
3.3、系统目录结构
- 一切皆文件
- 根目录/ ,所有的文件都挂载在这个节点下
- 登录系统后,在当前命令窗口下输入命令
ls /


以下是对这些目录的解释:
- /bin:bin是Binary的缩写,这个目录存放着最经常使用的命令。
- /boot:这里存放的是启动Linux时使用的一些核心文件,包括一些连接文件以及镜像文件。
- /dev:dev是Device(设备)的缩写,存放的是Linux的外部设备,在Linux中访问设备的方式和访问文件的方式是相同的。如:U盘
- /etc:这个目录用来存放所有的系统管理所需要的配置文件和子目录。
- /home:用户的主目录,在Linux中,每个用户都有一个自己的目录,一般该目录名是以用户的账号命名的。
- /lost+found:这个目录一般情况下是空的,当系统非法关机后,这里就存放了一些文件。
- /media:linux系统会自动识别一些设备,例如U盘、光驱等等,当识别后,linux会把识别的设备挂载到这个目录下。
- /mnt:系统提供该目录是为了让用户临时挂载别的文件系统的,我们可以将光驱挂载在/mnt/上,然后进入该目录就可以查看光驱里的内容了。后面会挂载一些本地文件在这个目录下
- /opt:这是给主机额外安装软件所摆放的目录。比如你安装一个ORACLE数据库则就可以放到这个目录下。默认是空的。
- /proc:这个目录是一个虚拟的目录,它是系统内存的映射,我们可以通过直接访问这个目录来获取系统信息。(不用管)
- /root:该目录为系统管理员,也称作超级权限者的用户主目录。
- /sbin:s就是Super User的意思,这里存放的是系统管理员使用的系统管理程序。
- /sys:这是linux2.6内核的一个很大的变化。该目录下安装了2.6内核中新出现的一个文件系统sysfs 。
- /tmp:这个目录是用来存放一些临时文件的(用完即丢的文件,例如:安装包)
- /usr:这是一个非常重要的目录,用户的很多应用程序和文件都放在这个目录下,类似于windows下的program files目录。
- /usr/bin:系统用户使用的应用程序。
- /srv:该目录存放一些服务启动之后需要提取的数据。
- /lib:这个目录里存放着系统最基本的动态连接共享库,其作用类似于Windows里的DLL文件。(不要动)
- /usr/sbin:超级用户使用的比较高级的管理程序和系统守护程序
- /usr/src:内核源代码默认的放置目录。
- /var:这个目录中存放着在不断扩充着的东西,我们习惯将那些经常被修改的目录放在这个目录下。包括各种日志文件。
- /run:是一个临时文件系统,存储系统启动以来的信息。当系统重启时,这个目录下的文件应该被删掉或清除。
- /www:存放服务器网站相关的资源,环境,网站的项目(服务器Liunx才有,虚拟机没有)
4、常用的基本命令
4.1、目录管理
- 切换目录命令:
cd
cd / #切换到根目录
cd 目录名 #在Linux中绝对路径都是以 /目录名 开头,相对路径则对于当前目录如何寻找 ../../目录名
cd .. #返回上一级目录
cd ../ #当前目录
cd ~ #回到当前用户目录
- 列出目录:
ls
ls -a #参数:all,查看全部的文件,包括隐藏文件
ls -l #参数列出所有的文件,包含文件的属性和权限,没有隐藏文件
ls -al #所有的Linux命令可以组合使用
- 创建目录:
mkdir
mkdir 目录名 #创建目录
mkdir -p #递归创建目录 如:mkdir -p test/test
- 删除目录:
rmdir
rmdir 目录名 #仅能删除空文件夹,如果下面存在文件,需要先删除文件
rmdir -p #递归删除文件 如:rmdir -p test/test1/test2
-
显示当前路径:
pwd -
复制文件或目录:
cp
cp 文件或目录 目录 #复制文件或目录到目录
#如果文件重复,就选择覆盖(y)或放弃(n)
- 删除文件或目录:
rm
rm -f #忽略不存在的文件,不会出现警告,强制删除!
rm -r #递归删除目录!
rm -i #互动,删除询问是否删除
rm -rf #系统中的所有文件被删除(危险命令)
- 移动文件目录或重命名文件目录:
mv
mv -f #强制移动
mv -u #只替换已经更新过的文件
mv 文件名 目录 #移动文件
mv 文件名 文件名1 #重命名文件
- 创建文件
touch - 向文件输出内容
echo
echo "helloword" >>f1 #编辑helloword到文件f1
4.2、基本属性
- 文件属性的查看-权限信息
Linux系统是一种典型的多用户系统,不同的用户处于不同的地位,拥有不同的权限。root用户为最高权限,其他为普通用户。为了保护系统的安全性,Linux系统对不同的用户访问同一文件(包括目录文件)的权限做了不同的规定。
通过ll或者ll -l来显示一个文件的属性和所属用户和组:

实例中,boot文件的第一个属性用"d"表示。"d"在Linux中代表该文件是一个目录文件。在Linux中第一个字符代表这个文件是目录、文件或链接文件等等:
- 当为[ d ]则是目录
- 当为[ - ]则是文件
- 若是[ l ]则表示为链接文档(link file)
- 若是[ b ]则表示为装置文件里面的可供储存的接口设备(可随机存取装置)
- 若是[ c ]则表示为装置文件里面的串行端口设备,例如键盘、鼠标(一次性读取装置)
接下来的字符中,以三个为一组,且均为【rwx】的三个参数的组合。
其中,[ r ]代表可读(read)、[ w]代表可写(write)、[ x ]代表可执行(execute)。
要注意的是,这三个权限的位置不会改变(位置固定),如果没有权限,就会出现减号[- ] 而已。每个文件的属性由左边第一部分的10个字符来确定(如下图):

从左至右用0-9这些数字来表示。
第0位确定文件类型,第1-3位确定属主(该文件的所有者)拥有该文件的权限。第4-6位确定属组(所有者的同组用户)拥有该文件的权限,第7-9位确定其他用户拥有该文件的权限。
其他参数如下:


- 文件属性相关命令-权限更改
- 更改文件属组:
chgrp
chgrp -R 属组名 文件名
#-R:递归更改文件属组,就是在更改某个目录文件的属组时,如果加上-R的参数,那么该目录下的所有文件的属组都会更改。
- 更改文件属主,也可以同时更改文件属组:
chown
chown -R 属主名 文件名
chown -R 属主名:属组名 文件名
- 更改文件9个属性:
chmod
Linux文件属性有两种设置方法,一种是数字,一种是符号。
Linux文件的基本权限就有九个,分别是owner/group/others三种身份各有自己的read/write/execute权限。
先复习一下刚刚上面提到的数据:文件的权限字符为∶【-wxrwxrwx】,这九个权限是三个三个一组的!其中,我们可以使用数字来代表各个权限,各权限的分数对照表如下:
r:4 w:2 x:1
每种身份(owner/group/others)各自的三个权限(r/w/x)分数是需要累加的,例如当权限为︰[-rwxrwx---]分数则是︰owner = rwx = 4+2+1 =7 group = rwx = 4+2+1=7 others=---=0+0+0= 0
chmod 770 filename
4.3、文件内容查看
Liunx系统中可以使用以下命令来查看文件的内容:
- cat 由第一行开始显示文件内容(读文章或者配置文件都使用cat命令)
- tac 从最后一行开始显示,可以看出tac是cat的倒着写!
- nl 显示的时候,顺道输出行号!
- more 一页一页的显示文件内容(空格代表翻页,Enter往下看一行,:f显示行号 )
- less 与 more 类似,但是比 more更好的是,他可以往前翻页!(空格代表翻页,上下键代表翻动页面,按Q退出,向下查询字符串使用 /要查询的字符串,向上查询字符串使用 ?要查询的字符串,n代表向下查询下一个,N代表向上查询下一个)
- head 只看头几行(-n + 数字 代表查看前几行)
- tail 只看尾巴几行(-n + 数字 代表查看后几行)
可以通过 man 命令来查看各类命令的使用文档 如:man cp
- 网络配置
CentOS7 网络配置目录:cd /etc/sysconfig/network-scripts
通过 ifconfig 来查看网络配置
- 修改主机名
hostname #查看主机名
hostname 新主机名 #修改主机名
修改完后重新连接即可
4.4、Liunx防火墙
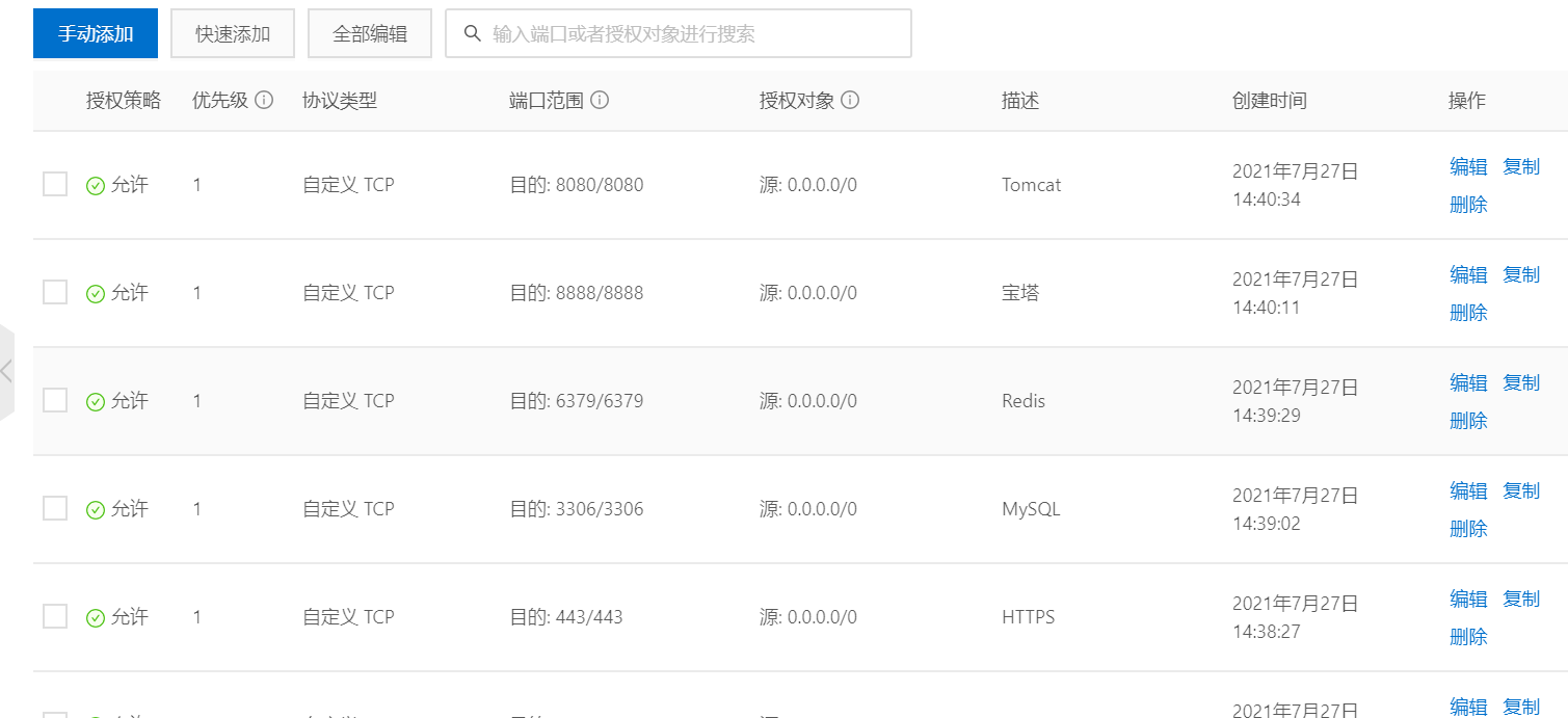
运行项目时需要确保 Linux 的防火墙端口是开启的,如果是阿里云,需要保证阿里云的安全组策略是开放的。
# 查看firewall服务状态
systemctl status firewalld
# 开启、重启、关闭、firewalld.service服务
# 开启
service firewalld start
# 重启
service firewalld restart
# 关闭
service firewalld stop
# 查看防火墙规则
firewall-cmd --list-all # 查看全部信息
firewall-cmd --list-ports # 只看端口信息
# 开启端口
开端口命令:firewall-cmd --zone=public --add-port=80/tcp --permanent
重启防火墙:systemctl restart firewalld.service
命令含义:
--zone #作用域
--add-port=80/tcp #添加端口,格式为:端口/通讯协议
--permanent #永久生效,没有此参数重启后失效
4.5、硬链接与软链接
Linux的链接分为两种:硬链接、软链接!
硬链接:A--B,假设B是A的硬链接,那么他们两个指向了同一个文件。允许一个文件拥有多个路径,用户可以通过这种机制建立硬链接到一些重要文件上,防止误删。可以通过建立硬链接的方式来备份重要文件。
软链接:类似Window下的快捷方式,删除的源文件,快捷方式也访问不了。
创建硬链接使用 ln,创建软连接使用 ln -s
5、Vim编辑器
vim 通过一些插件可以实现和 IDE 一样的功能!
Vim 是从 vi 发展出来的一个文本编辑器。代码补完、编译及错误跳转等方便编程的功能特别丰富,在程序员中被广泛使用。尤其是 Linux 中,必须要会使用 Vim(查看内容,编辑内容,保存内容)
简单的来说,vi 是老式的字处理器,不过功能已经很齐全了,但是还是有可以进步的地方。vim 则可以说是程序开发者的一项很好用的工具。
所有的 Unix Like 系统都会内建vi文书编辑器,其他的文书编辑器则不一定会存在。

- 通过命令打开或创建文件
vim test.txt
如果文件不存在则直接创建新文件,如果文件已存在则打开文件。
- vim的三种模式
基本上 vi/vim 共分为三种模式,分别是命令模式(Command mode ),输入模式 ( Insert mode)和底线命令模式(Lastline mode )。这三种模式的作用分别是︰
- 命令模式
用户刚刚启动 vi/vim,便进入了命令模式。此状态下敲击键盘动作会被 Vim 识别为命令,而非输入字符。比如我们此时按下 i 或 a,并不会输入一个字符,i 被当作了一个命令。以下是常用的几个命令︰
1、i 或 a 切换到输入模式,以输入字符。
2、x 删除当前光标所在处的字符。
3、: 切换到底线命令模式,以在最底一行输入命令,如果是编辑模式,需要先退出编辑模式esc!
若想要编辑文本:启动 Vim,进入了命令模式,按下 i 或 a,切换到输入模式。命令模式只有一些最基本的命令,因此仍要依靠底线命令模式输入更多命令。在命令模式按︰进入底线输入模式,在命令模式下按下 i 或 a 就进入了输入模式。
-
输入模式
1、在输入模式中,可以使用以下按键:
2、字符按键以及Shift组合,输入字符
3、ENTER,回车键,换行
4、BACK SPACE,退格键,删除光标前一个字符
5、DEL,删除健,删除光标后一个字符6、方向键,在交本中移动光标
7、HOME/END,移动光标到行首/行尾
8、Page Up/Page Down ,上/下翻页
9、Insert,切换光标为输入/替换模式,光标将变成竖线/下划线
10、ESC,退出输入模式,切换到命令模式
-
底线命令模式
在命令模式下按:进入底线命令模式,常用的基本命令有:
1、wq 保存退出
2、q 退出程序
3、w 保存文件
4、q! 强制退出
5、w! 强制写入
6、按 esc 随时退出底线命令模式

- vim按键说明
- 命令模式



- 输入模式

- 底线命令模式


6、账号管理
Linux系统是一个多用户多任务的分时操作系统,任何一个要使用系统资源的用户,都必须首先向系统管理员申请一个账号,然后以这个账号的身份进入系统。
用户的账号一方面可以帮助系统管理员对使用系统的用户进行跟踪,并控制他们对系统资源的访问。另一方面也可以帮助用户组织文件,并为用户提供安全性保护。
每个用户账号都拥有一个唯一的用户名和各自的口令。
用户在登录时键入正确的用户名和口令后,就能够进入系统和自己的主目录。
实现用户账号的管理,要完成的工作主要有如下几个方面:
- 用户账号的添加、删除与修改。
- 用户口令的管理。
- 用户组的管理。
用户账号的管理工作主要涉及到用户账号的添加、修改和删除。
添加用户账号就是在系统中创建一个新账号,然后为新账号分配用户号、用户组、主目录和登录Shell等资源。
账号本质:就是操作/etc/passwd文件
- 添加新账号
useradd -选项 用户名

新增用户的本质:就是在/etc/passwd文件中为新用户增加一条记录,同时更新其他系统文件如/etc/shadow, /etc/group等。使用 cat /etc/passwd 查看用户记录

- 删除用户
userdel -选项 用户名
常用的选项是 -r,它的作用是把用户的主目录一起删除。
此命令删除用户在系统文件中(主要是/etc/passwd, /etc/shadow, /etc/group等)的记录,同时删除用户的主目录。
- 修改用户
usermod -选项 用户名
常用的选项包括 -c, -d , -m , -g , -G , -s , -u 以及 -o 等,这些选项的意义与 useradd 命令中的选项一样,可以为用户指定新的资源值。
- 切换用户
- 切换用户的命令
1. su username(username是你的用户名)
- 从普通用户切换到root用户
sudo su
-
在终端输入
exit或logout或使用快捷方式ctrl+d,可以退回到原来用户,其实ctrl+d也是执行的exit命令 -
在切换用户时,如果想在切换用户之后使用新用户的工作环境,可以在 su 和 username 之间加
-,例如:
su - root
$表示普通用户,#表示超级用户,也就是root用户

- 用户密码的设置
- 通过root创建用户的时候,可以设置密码,root 权限直接可以为任何用户设置密码。
passwd 用户名
在Liunx系统中输入密码是不可见的,所以在设置密码是看不到字符输入是正常现象,输入完回车即可。

- 普通用户设置密码
passwd
- 锁定用户
root权限可以冻结用户,冻结以后用户就不能登录了。
passwd -l 用户名 # -l 锁定用户
passwd -d 用户名 # -d 清空密码 密码清空以后也不能登录
7、用户组管理
每个用户都有一个用户组,系统可以对一个用户组中的所有用户进行集中管理。不同Linux 系统对用户组的规定有所不同,如Linux下的用户属于与它同名的用户组,这个用户组在创建用户时同时创建。
用户组的管理涉及用户组的添加、删除和修改。组的增加、删除和修改实际上就是对 /etc/group 文件的更新。
- 创建用户组
groupadd -选项 用户组
可以使用的选项有:
- -g GID 指定新用户组的组标识号(GID)。如果不指定就是默认自增
- -o 一般与 -g 选项同时使用,表示新用户组的GID可以与系统已有用户组的GID相同
创建完成以后可以使用 cat /etc/group 命令查看 /etc/group 文件
用户组的所有信息都存放在 /etc/group 文件中
- 删除用户组
groupdel 用户组
- 修改用户组的权限信息和名字
groupmod -选项 用户组
常用的选项有:
- -g GID 为用户组指定新的组标识号。
- -o 与-g选项同时使用,用户组的新GID可以与系统已有用户组的GID相同。
- -n 新用户组,将用户组的名字改为新名字
groupmod -g 666(新id) -n newname(指定新名字) name(旧名字)
- 切换用户组
如果一个用户同时属于多个用户组,那么用户可以在用户组之间切换,以便具有其他用户组的权限。
用户可以在登录后,使用命令 newgrp 切换到其他用户组,这个命令的参数就是目的用户组。例如:
$ newgrp root
这条命令将当前用户切换到root用户组,前提条件是root用户组确实是该用户的主组或附加。
- 拓展
查看用户文件 cat /etc/passwd

从左到右对应:用户名:口令(密码):用户标识号:组标识号:注释性描述:主目录:登录Shell
什么是shell?
用户登录后,要启动一个进程,负责将用户的操作传给内核,这个进程是用户登录到系统后运行的命令解释器或某个特定的程序,即Shell。
Shell是用户与Linux系统之间的接口。Linux的Shell有许多种,每种都有不同的特点。常用的有sh(Bourne Shell), csh(C Shell), ksh(Korn Shell), tcsh(TENEX/TOPS-20 type C Shell), bash(Bourne Again Shell)等。
系统管理员可以根据系统情况和用户习惯为用户指定某个Shell。如果不指定Shell,那么系统使用sh为默认的登录Shell,即这个字段的值为/bin/sh。
在 /etc/passwd中,用户的密码通常用"X"或"*"表示加密不可见,如果想查看密码可以打开 /etc/shadow文件

root:后是加密后的密码
8、磁盘管理
Linux磁盘管理好坏直接关系到整个系统的性能问题。
Linux磁盘管理常用命令为 df、du。
- df :列出文件系统的整体磁盘使用量
- du:检查磁盘空间使用量
- 查看整体磁盘使用量
df -ahikHTm 目录或文件名
选项与参数:
-a :列出所有的文件系统,包括系统特有的 /proc 等文件系统;
-k :以 KBytes 的容量显示各文件系统;
-m :以 MBytes 的容量显示各文件系统;
-h :以人们较易阅读的 GBytes, MBytes, KBytes 等格式自行显示;
-H :以 M=1000K 取代 M=1024K 的进位方式;
-T :显示文件系统类型, 连同该 partition 的 filesystem 名称 (例如 ext3) 也列出;
-i :不用硬盘容量,而以 inode 的数量来显示
- 检查磁盘空间使用量
Linux du 命令也是查看使用空间的,但是与 df 命令不同的是 Linux du 命令是对文件和目录磁盘使用的空间的查看,还是和 df 命令有一些区别的,这里介绍 Linux du 命令。
du -ahskm 文件或目录名称
选项与参数:
-a :列出所有的文件与目录容量,因为默认仅统计目录底下的文件量而已。
-h :以人们较易读的容量格式 (G/M) 显示;
-s :列出总量而已,而不列出每个各别的目录占用容量;
-S :不包括子目录下的总计,与 -s 有点差别。
-k :以 KBytes 列出容量显示;
-m :以 MBytes 列出容量显示;
- 挂载本地文件
mount /dev/liuxiang(外部设备如:U盘) /mnt/tuyoo(挂载到mnt目录下来实现访问)
- 卸载本地文件
umount -fn 装置文件名或挂载点
选项与参数:
-f :强制卸除!可用在类似网络文件系统 (NFS) 无法读取到的情况下;
-n :不升级 /etc/mtab 情况下卸除。
- 查看内存大小
free -h
9、进程管理
- 在Linux中,每一个程序都是有自己的一个进程,每一个进程都有一个id号
- 每一个进程呢,都会有一个父进程
- 进程可以有两种存在方式:前台,后台运行
- 一般的话服务都是后台运行的,基本的程序都是前台运行的
- 查看进程信息
ps -aux | grep java
选项与参数:
-a 显示当前终端运行的所有的进程信息(当前的进程)
-u 以用户的信息显示进程
-x 显示后台运行进程的参数!
| 在Linux这个叫做管道符 A|B
grep 查找文件中符合条件的字符
- 查看进程信息以及父进程信息
ps -ef | grep java
- 查看父进程信息还可以通过树结构来查看
pstree -pu
选项与参数:
-p 显示父id
-u 显示用户组
- 结束进程
kill -9 进程id
10、环境安装
环境的安装一般有三种方式:rpm,解压缩,yum 在线安装
10.1、JDK安装
- 下载与上传 jdk rpm 包,点击下载,可通过 xftp 工具上传 rpm 包到服务器上


- 检查是否存在 openjdk 环境,如果有则删除
java -version
#如果出现jdk环境信息 则需要卸载
rpm -qa|grep jdk #检查JDK版本信息
rpm -e --nodeps jdk1.8.0_121-1.8.0_121-fcs.x86_64 #强制删除
- 安装JDK
rpm -ivh 包名
# 例如:rpm -ivh jdk-8u221-linux-x64.rpm


- 配置环境变量
vim /etc/profile

在文件最后面增加以下配置
export JAVA_HOME=/usr/java/jdk1.8.0_152
export JRE_HOME=$JAVA_HOME/jre
export CLASSPATH=.:$JAVA_HOME/jre/lib/rt.jar:$JAVA_HOME/lib/dt.jar:$JAVA_HOME/lib/tools.jar
export PATH=$PATH:$JAVA_HOME/bin:$JRE_HOME/bin


5、保存退出并执行下面的命令
source /etc/profile #让新增的环境变量生效!
10.2、Tomcat安装
ssm 框架 war 包需要运行需要安装 tomcat
- 下载和上传 tomcat tar 安装包,[点击下载](Apache Tomcat® - Apache Tomcat 9 Software Downloads)

- 解压tar包
tar -zxvf apache-tomcat-9.0.50.tar.gz
- 启动 tomcat
cd apache-tomcat-9.0.50/bin/ #进入tomcat/bin目录
./startup.sh #启动
./shutdown.sh #关闭

启动成功后确保防火墙8080端口已经打开,通过服务器官网ip即可访问。


11、宝塔部署环境
进入宝塔官网:https://www.bt.cn/
先在阿里云开放安全组策略,然后在 Xshell 中执行下列命令:
yum install -y wget && wget -O install.sh http://download.bt.cn/install/install_6.0.sh && sh install.sh


下载完毕之后,就可以得到一个地址:宝塔的管理面板,以及随机的用户名密码

登陆这个网站就可以进行可视化安装:


浙公网安备 33010602011771号