基础入门-Web应用&OSS存储&负载均衡&CDN加速&反向代理&WAF防护&部署影响
知识点:
1、基础入门-Web应用-防护产品-WAF保护
2、基础入门-Web应用-加速服务-CDN节点
3、基础入门-Web应用-文件托管-OSS存储
4、基础入门-Web应用-通讯服务-反向代理
5、基础入门-Web应用-运维安全-负载均衡
一、演示案例-Web-拓展架构-WAF保护-拦截攻击

原理:Web应用防火墙,旨在提供保护
影响:常规Web安全测试手段会受到拦截
雷池社区版 https://waf-ce.chaitin.cn/
演示:
Ubuntu20.04 + 雷池社区版

1、安装雷池
https://docs.waf-ce.chaitin.cn/
bash -c "$(curl -fsSLk https://waf-ce.chaitin.cn/release/latest/setup.sh)"



2、搭建网站
docker run --name webgoat -d -p 8080:8080 -p 9090:9090 registry.cn-shanghai.aliyuncs.com/kubesec/webgoat:v2023.8

3、配置雷池
添加站点-设置域名-上游地址-没真实域名修改本地host解析






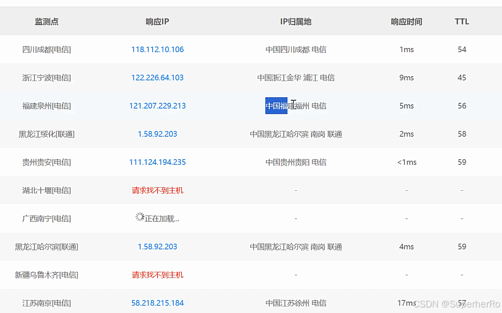
二、演示案例-Web-拓展架构-CDN节点-隐藏真实IP

原理:内容分发服务,旨在提高访问速度
原理:内容分发服务,旨在提高访问速度
影响:隐藏真实源IP,导致对目标IP测试错误
演示:阿里云备案域名全局CDN加速服务
Windows2016 + BT宝塔面板 + CDN服务








三、演示案例-Web-拓展架构-OSS存储-防上传攻击

原理:云存储服务(专门存储文件),旨在提高访问速度
演示:Windows2016 + cloudreve + 阿里云OSS
https://cloudreve.org/
https://github.com/cloudreve/Cloudreve/releases/tag/3.7.1
1、启动应用

2、登录管理



3、配置存储信息





4、更改用户组存储属性





阿里云OSS
开通OSS
1、新建Bucket
2、配置Bucket属性
3、配置Access访问
为什么要使用第三方存储?
1)静态文件会占用大量带宽
2)加载速度
3)存储空间
影响
上传的文件或解析的文件均来自于OSS资源,无法解析,单独存储
1、修复上传安全
2、不支持文件解析


3、但存在AK/SK隐患

四、演示案例-Web-拓展架构-反向代理-数据应用转发
正代理为客户端服务,客户端主动建立代理访问目标(不代理不可达)
类似FQ,把访问请求交给代理服务器,由代理服务器去与目标通信,在通过目标返回的数据返回给用户

反向代理为服务端服务,服务端主动转发数据给可访问地址(不主动不可达)
目标服务器你访问不到,但是目标服务器把自己的流量数据转发到一个中间服务器上,正好你自己又能访问这个中间服务器,就相当于你访问了中间服务器等于访问了目标服务器

原理:通过网络反向代理转发真实服务达到访问目的
影响:访问目标只是一个代理,非真实应用服务器
注意:正向代理和反向代理都是解决访问不可达的问题,但由于反向代理中多出一个可以重定向解析的功能操作,导致反代理出的站点指向和真实应用毫无关系!
演示:Nginx反向代理配置
Windows2016 + BT宝塔面板 + Nginx


五、演示案例-Web-拓展架构-负载均衡-多台机器服务
原理:分摊到多个操作单元上进行执行,共同完成工作任务
影响:有多个服务器加载服务,测试过程中存在多个目标情况
演示:Nginx负载均衡配置
Windows2016 + BT宝塔面板 + Nginx
1、定义访问路径 访问策略
location / { proxy_pass http://fzjh/; }

2、定义负载设置
upstream fzjh{ server 120.26.70.72:80 weight=1; server 47.75.212.155:80 weight=2; }






如何判断对方使用了CND或者负载均衡?
1、地区差异(cdn就是哪里访问就访问就近节点)
2、IP节点数量(几十个不同IP一般都是CDN,就几个不同IP一般是负载均衡)

Web应用&OSS存储&负载均衡&CDN加速&反向代理&WAF防护&部署影响
浙公网安备 33010602011771号